Запчасти Komatsu GD511A-1 КОРПУС КОНЕЧН. ПЕРЕДАЧИ(№-) СИЛОВАЯ ПЕРЕДАЧА

Схема запчастей Komatsu GD511A-1 - КОРПУС КОНЕЧН. ПЕРЕДАЧИ(№-) СИЛОВАЯ ПЕРЕДАЧА
FIT
1:1
100%

Артикул

Название

Примечание

Количество

|$0

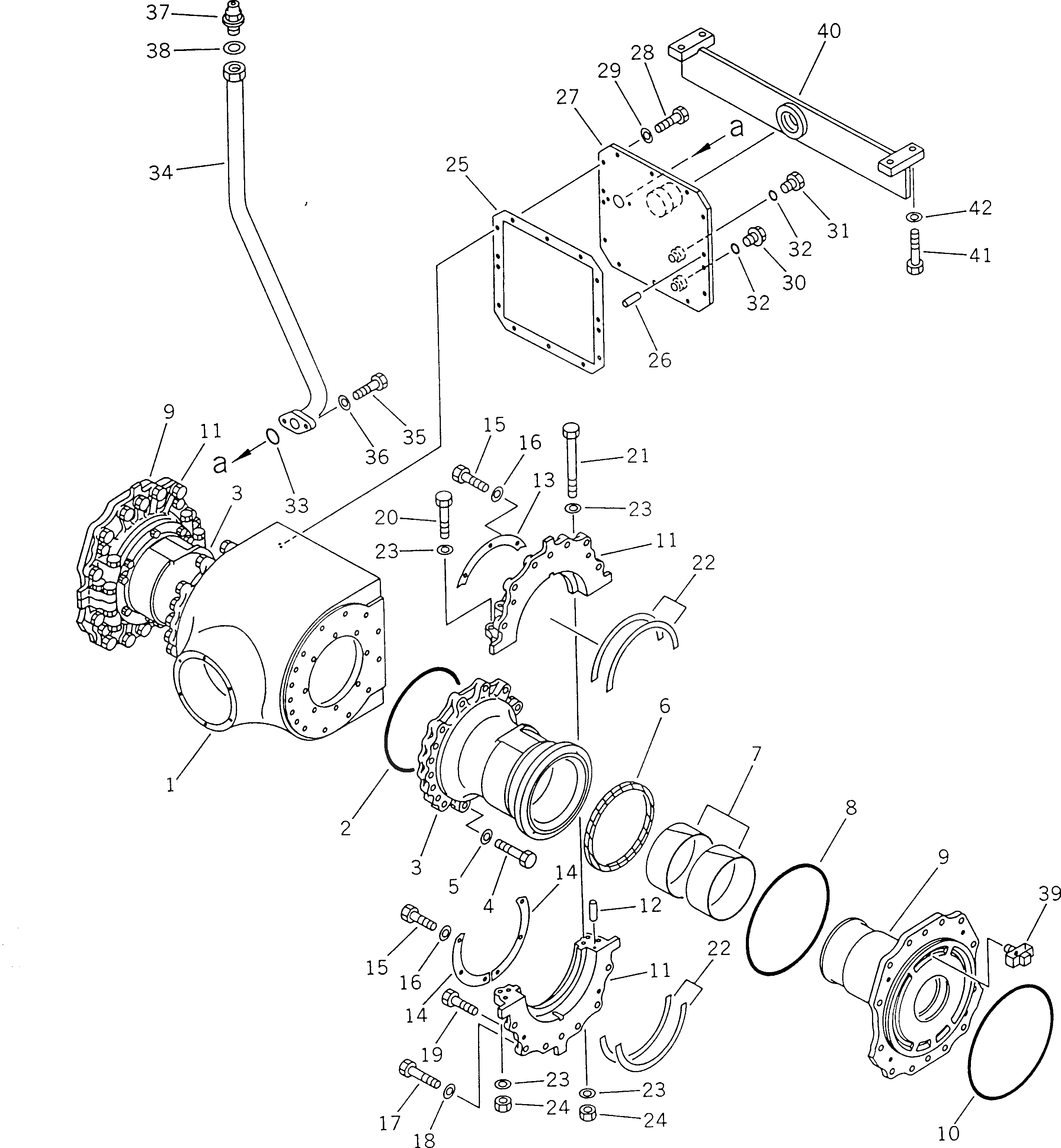
23A-22-01022

FINAL DRIVE ASS'Y

SN: 10242-UP

1шт.

|$$2

THESE ASSEMBLIES CONSIST OF ALL PARTS SHOWN IN FIGS.2601A AND 2605.

-1шт.

1

23A-22-11110

CASE

SN: 10001-UP

1шт.

2

07000-15290

O-RING (K5)

SN: 10001-UP

2шт.

3

23A-22-11121

CASE,SIDE

SN: 10242-UP

2шт.

4

01010-81660

BOLT

SN: 10001-UP

30шт.

5

01643-31645

WASHER

SN: 10001-UP

30шт.

6

23D-22-11750

SEAL (K5)

SN: 10242-UP

2шт.

7

23A-22-11450

BUSHING

SN: 10001-UP

4шт.

8

23A-22-11490

O-RING (K5)

SN: 10001-UP

2шт.

9

23A-22-11131

FLANGE

SN: 10242-UP

2шт.

10

07000-15310

O-RING (K5)

SN: 10001-UP

2шт.

|$12

23A-22-11403

CAGE ASS'Y

SN: ..-UP

2шт.

|$13

23A-22-11402

CAGE ASS'Y

SN: 10242-..

2шт.

11

0

CAGE,UPPER

SN: ..-UP

1шт.

11

0

CAGE,UPPER

SN: 10242-..

1шт.

11

0

CAGE,LOWER

SN: ..-UP

1шт.

11

0

CAGE,LOWER

SN: 10242-..

1шт.

12

0

PIN,DOWEL

SN: 10001-UP

2шт.

13

23D-22-11731

PLATE

SN: ..-UP

2шт.

13

23D-22-11730

PLATE

SN: 10242-..

2шт.

14

23D-22-11741

PLATE

SN: ..-UP

4шт.

14

23D-22-11740

PLATE

SN: 10242-..

4шт.

15

01010-80825

BOLT

SN: ..-UP

18шт.

15

01010-80822

BOLT

SN: 10242-..

18шт.

16

01643-30823

WASHER

SN: 10242-UP

18шт.

17

01010-81665

BOLT

SN: 10001-UP

28шт.

18

01643-31645

WASHER

SN: 10001-UP

28шт.

19

01010-81225

BOLT

SN: 10001-UP

8шт.

20

01010-81280

BOLT

SN: 10001-UP

8шт.

21

711-28-16560

BOLT

SN: 10242-UP

4шт.

22

23A-22-11460

WASHER

SN: 10001-UP

8шт.

23

01643-31232

WASHER

SN: 10242-UP

24шт.

24

01580-11210

NUT

SN: 10001-UP

12шт.

25

238-22-15122

GASKET (K5)

SN: ..-UP

1шт.

25

0

GASKET (K5)

SN: .-..

1шт.

25

0

GASKET (K5)

SN: 10001-.

1шт.

26

04020-01228

PIN

SN: 10001-UP

2шт.

27

23A-22-11530

COVER

SN: 10001-UP

1шт.

28

01010-81235

BOLT

SN: 10001-UP

12шт.

29

01643-31232

WASHER

SN: 10001-UP

12шт.

30

07044-12412

PLUG

SN: 10001-UP

1шт.

31

07040-12414

PLUG

SN: 10001-UP

1шт.

32

07002-12434

O-RING (K5)

SN: 10001-UP

2шт.

33

07000-13045

O-RING (K5)

SN: 10001-UP

1шт.

34

23A-80-92660

TUBE

SN: .-UP

1шт.

34

23A-22-11560

TUBE

SN: 10001-.

1шт.

35

01010-81235

BOLT

SN: 10001-UP

2шт.

36

01643-31232

WASHER

SN: 10001-UP

2шт.

37

232-23-11220

BREATHER

SN: 10001-UP

1шт.

38

07003-03036

GASKET (K5)

SN: 10001-UP

1шт.

39

23A-22-11510

TUBE

SN: 10001-UP

2шт.

40

23B-22-11430

HANGER

SN: 10001-UP

1шт.

41

01010-81650

BOLT

SN: 10001-UP

4шт.

42

01643-31645

WASHER

SN: 10001-UP

4шт.

Выбрано товаров: 55