Запчасти Komatsu GD511A-1 СИСТЕМА ТРУБ РАДИАТОРА(№-) КОМПОНЕНТЫ ДВИГАТЕЛЯ И ЭЛЕКТРИКА

Схема запчастей Komatsu GD511A-1 - СИСТЕМА ТРУБ РАДИАТОРА(№-) КОМПОНЕНТЫ ДВИГАТЕЛЯ И ЭЛЕКТРИКА
FIT
1:1
100%

Артикул

Название

Примечание

Количество

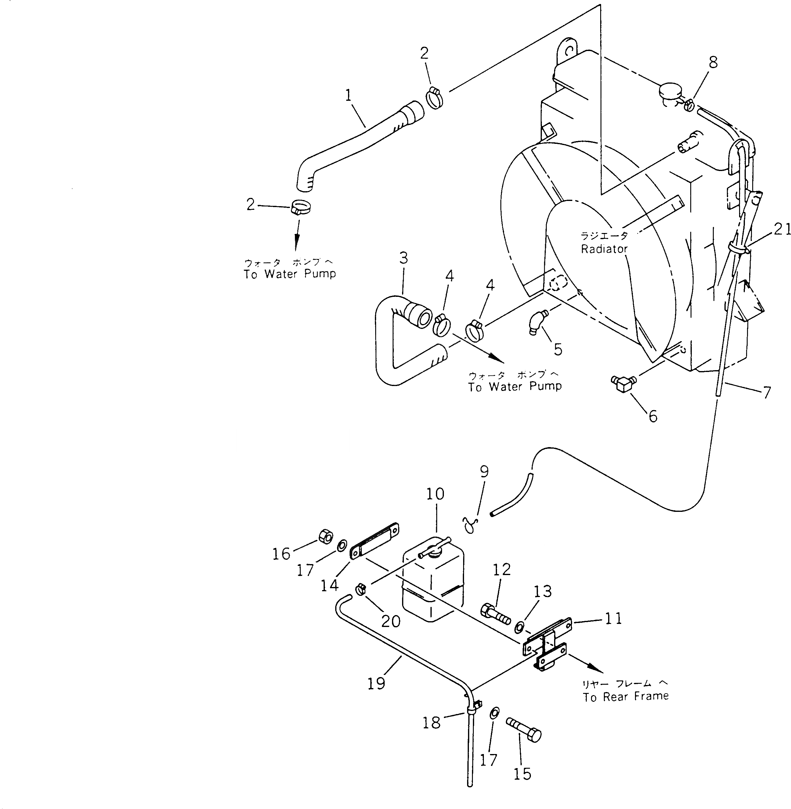
1

23A-03-21210

HOSE

SN: 10052-UP

1шт.

2

07289-00045

CLAMP

SN: .-UP

2шт.

2

0

CLAMP

SN: 10052-.

2шт.

3

23A-03-21220

HOSE

SN: 10052-UP

1шт.

4

07289-00045

CLAMP

SN: .-UP

2шт.

4

0

CLAMP

SN: 10052-.

2шт.

5

238-03-11240

ELBOW

SN: 10001-UP

1шт.

6

238-03-11170

ELBOW

SN: 10001-UP

1шт.

7

23A-03-21370

HOSE

SN: 10052-UP

1шт.

8

07281-00167

CLAMP

SN: 10052-UP

1шт.

9

206-03-43340

CLIP

SN: 10052-UP

1шт.

10

23A-03-12270

TANK

SN: 10052-UP

1шт.

11

23A-03-21320

BRACKET

SN: 10052-UP

1шт.

12

01010-81018

BOLT

SN: 10052-UP

2шт.

13

01643-31032

WASHER

SN: 10052-UP

2шт.

14

23A-03-21330

PLATE

SN: 10052-UP

1шт.

15

01011-81075

BOLT

SN: 10052-UP

2шт.

16

01598-01011

NUT

SN: 10052-UP

2шт.

17

01643-31032

WASHER

SN: 10052-UP

4шт.

18

08036-11214

CLIP

SN: 10052-UP

1шт.

19

07270-00880

TUBE

SN: 10052-UP

1шт.

20

07281-00167

CLAMP

SN: 10052-UP

1шт.

21

08034-00519

BAND

SN: 10052-UP

1шт.

Выбрано товаров: 23