Запчасти Komatsu GD521A-1 ЗАЩИТА РАДИАТОРА AND КАПОТ РАМА И ЧАСТИ КОРПУСА

Схема запчастей Komatsu GD521A-1 - ЗАЩИТА РАДИАТОРА AND КАПОТ РАМА И ЧАСТИ КОРПУСА
FIT
1:1
100%

Артикул

Название

Примечание

Количество

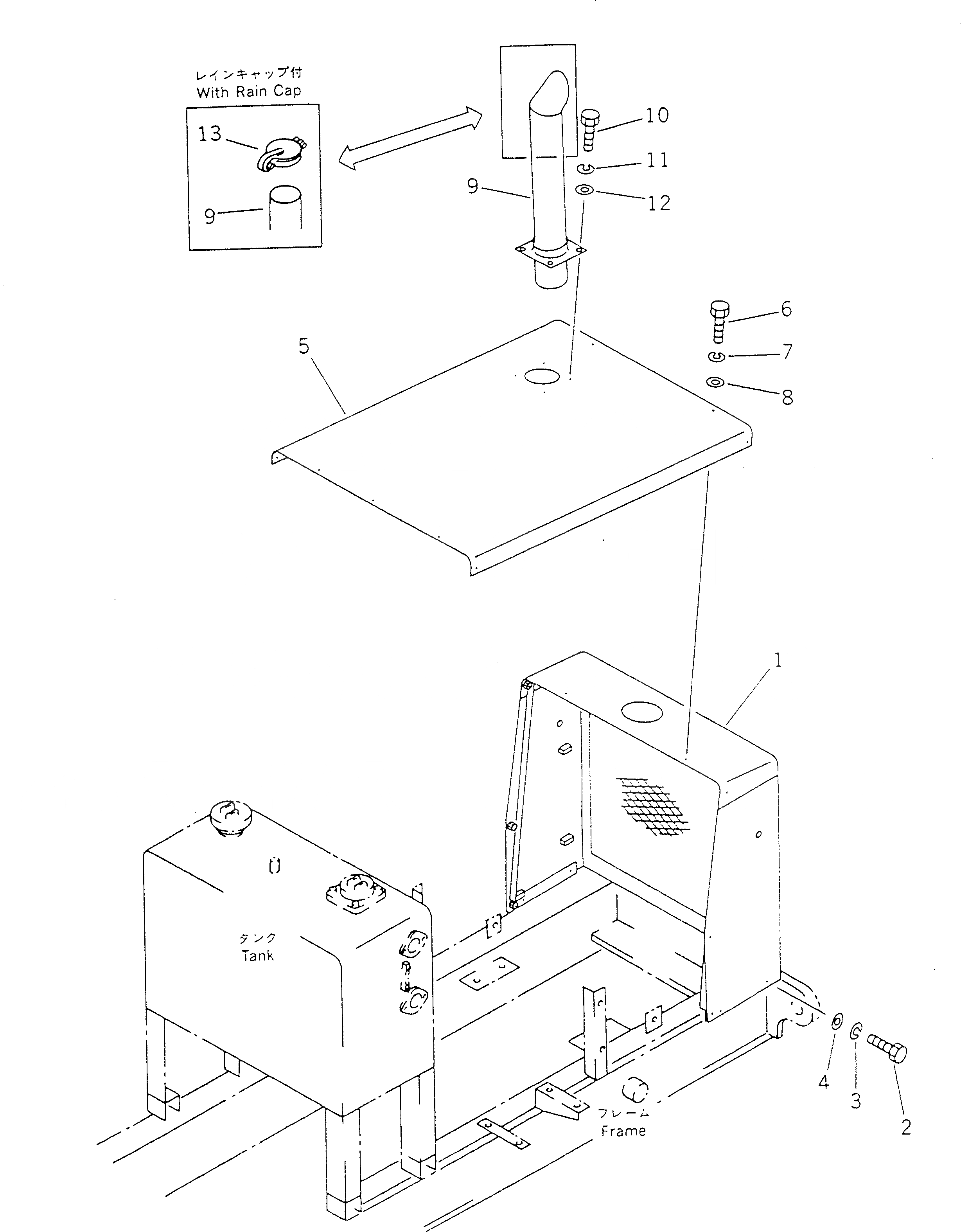
1

23B-54-28210

GRILL

SN: 10049-UP

1шт.

1

23B-54-23140

GRILL

SN: 10001-10048

1шт.

2

01010-51025

BOLT

SN: 10001-UP

4шт.

3

01643-31032

WASHER

SN: 10001-UP

4шт.

4

234-54-13252

WASHER

SN: 10001-UP

4шт.

5

23B-54-27110

HOOD

SN: 10044-UP

1шт.

5

23B-54-23130

HOOD

SN: 10001-10043

1шт.

6

01010-51025

BOLT

SN: 10001-UP

9шт.

7

01643-31032

WASHER

SN: 10001-UP

9шт.

8

234-54-13252

WASHER

SN: 10001-UP

9шт.

9

23B-54-23120

PIPE,EXHAUST

SN: 10001-UP

1шт.

9

23B-54-21140

PIPE,EXHAUST (WITH RAIN CAP)

SN: 10001-UP

1шт.

10

01010-51025

BOLT

SN: 10001-UP

4шт.

11

01643-31032

WASHER

SN: 10001-UP

4шт.

12

232-43-58360

WASHER

SN: 10001-UP

4шт.

13

6711-11-5781

CAP,RAIN

SN: 10001-UP

1шт.

Выбрано товаров: 16