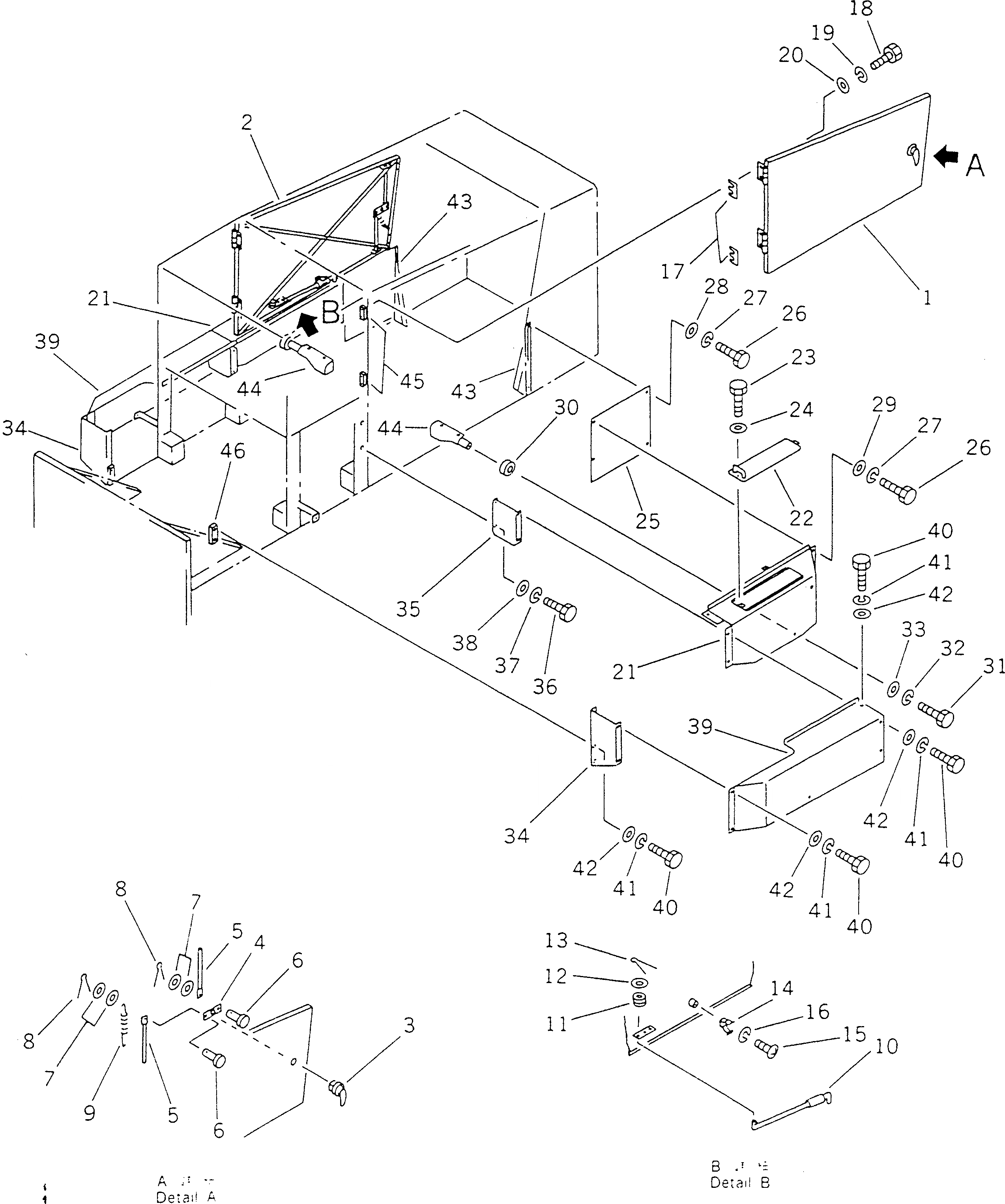
Запчасти Komatsu GD521A-1 БОКОВ. КРЫШКА (БЕЗ ROPS) РАМА И ЧАСТИ КОРПУСА

Схема запчастей Komatsu GD521A-1 - БОКОВ. КРЫШКА (БЕЗ ROPS) РАМА И ЧАСТИ КОРПУСА
FIT
1:1
100%

Артикул

Название

Примечание

Количество

1

23A-54-17630

PANEL,SIDE, L.H.

SN: 10001-UP

1шт.

2

23A-54-17640

PANEL,SIDE, R.H.

SN: 10001-UP

1шт.

3

238-54-12620

HANDLE

SN: 10001-UP

2шт.

4

23A-54-15140

PLATE

SN: 10001-UP

2шт.

5

23A-54-15280

BAR

SN: 10001-UP

4шт.

6

04205-10514

PIN

SN: 10001-UP

4шт.

7

01641-20508

WASHER

SN: 10001-UP

16шт.

8

04050-11208

PIN,COTTER

SN: 10001-UP

4шт.

9

236-54-22460

SPRING

SN: 10001-UP

2шт.

10

235-54-21760

BAR

SN: 10001-UP

2шт.

11

08037-01008

GROMMET

SN: 10001-UP

2шт.

12

01643-31032

WASHER

SN: 10001-UP

2шт.

13

04050-13018

PIN,COTTER

SN: 10001-UP

2шт.

14

283-06-17130

CLIP

SN: 10001-UP

2шт.

15

01220-40610

SCREW

SN: 10001-UP

2шт.

16

01643-30623

WASHER

SN: 10001-UP

2шт.

17

23B-54-15930

PLATE

SN: 10001-UP

4шт.

18

01010-51020

BOLT

SN: 10001-UP

8шт.

19

01643-31032

WASHER

SN: 10001-UP

8шт.

20

01643-31032

WASHER

SN: 10001-UP

8шт.

21

23B-54-15360

COVER,BATTERY, L.H.

SN: 10001-UP

1шт.

21

23B-54-15370

COVER,BATTERY, R.H.

SN: 10001-UP

1шт.

22

23A-54-15271

COVER

SN: 10001-UP

2шт.

23

01010-50812

BOLT

SN: 10001-UP

2шт.

24

01641-20812

WASHER

SN: 10001-UP

2шт.

25

23A-54-15230

PLATE,LOWER, L.H.

SN: 10001-UP

1шт.

25

23A-54-15240

PLATE,LOWER, R.H.

SN: 10001-UP

1шт.

26

01010-51025

BOLT

SN: 10001-UP

8шт.

27

01643-31032

WASHER

SN: 10001-UP

8шт.

28

234-54-13252

WASHER

SN: 10001-UP

4шт.

29

01643-31032

WASHER

SN: 10001-UP

4шт.

30

237-14-12890

BOSS

SN: 10001-UP

2шт.

31

01010-51035

BOLT

SN: 10001-UP

2шт.

32

01643-31032

WASHER

SN: 10001-UP

2шт.

33

01643-31032

WASHER

SN: 10001-UP

2шт.

34

23B-54-11220

BRACKET,L.H.

SN: 10001-UP

1шт.

34

23B-54-11210

BRACKET,R.H.

SN: 10001-UP

1шт.

35

23B-54-11250

BRACKET

SN: 10001-UP

2шт.

36

01010-51025

BOLT

SN: 10001-UP

4шт.

37

01643-31032

WASHER

SN: 10001-UP

4шт.

38

01643-31032

WASHER

SN: 10001-UP

4шт.

39

23A-54-15150

COVER,L.H.

SN: 10001-UP

1шт.

39

23A-54-15160

COVER,R.H.

SN: 10001-UP

1шт.

40

01010-51025

BOLT

SN: 10001-UP

12шт.

41

01643-31032

WASHER

SN: 10001-UP

12шт.

42

234-54-13252

WASHER

SN: 10001-UP

12шт.

43

23A-46-12490

BRACKET (WELDED)

SN: 10001-UP

2шт.

44

23A-46-12650

BRACKET,L.H. (WELDED)

SN: 10001-UP

1шт.

44

23A-46-12640

BRACKET,R.H. (WELDED)

SN: 10001-UP

1шт.

45

23A-04-11320

SEAT (WELDED)

SN: 10001-UP

4шт.

46

01573-20212

SEAT (WELDED)

SN: 10001-UP

2шт.

Выбрано товаров: 51