Запчасти Komatsu GD521A-1 КОРПУС КОНЕЧН. ПЕРЕДАЧИ (NO-SПАЛЕЦ ДИФФЕРЕНЦ. ТИП) (/) СИЛОВАЯ ПЕРЕДАЧА

Схема запчастей Komatsu GD521A-1 - КОРПУС КОНЕЧН. ПЕРЕДАЧИ (NO-SПАЛЕЦ ДИФФЕРЕНЦ. ТИП) (/) СИЛОВАЯ ПЕРЕДАЧА
FIT
1:1
100%

Артикул

Название

Примечание

Количество

|$0

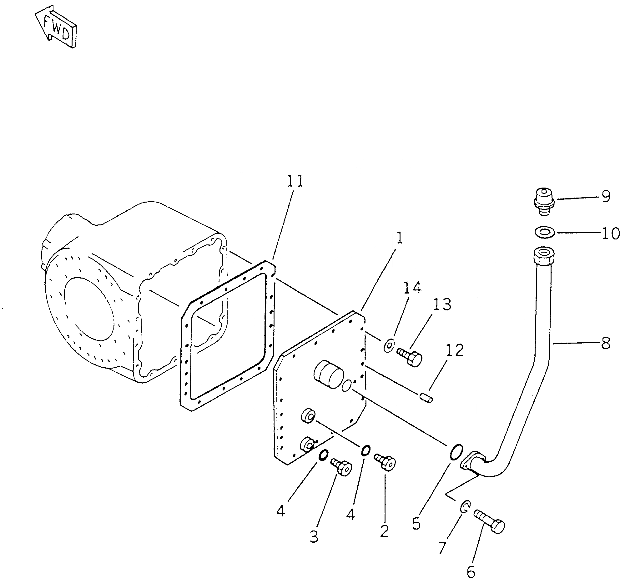
23B-22-00221

FINAL DRIVE ASS'Y

SN: .-UP

1шт.

|$1

23B-22-00220

FINAL DRIVE ASS'Y

SN: 10001-.

1шт.

|$$3

THESE ASSEMBLIES CONSIST OF ALL PARTS SHOWN IN FIGS.2621 TO 2627.

-1шт.

1

23B-22-11410

COVER

SN: 10001-UP

1шт.

2

07040-12414

PLUG

SN: 10001-UP

1шт.

3

07044-12412

PLUG

SN: 10001-UP

1шт.

4

07002-12434

O-RING

SN: 10001-UP

2шт.

5

07000-13045

O-RING

SN: 10001-UP

1шт.

6

01010-51235

BOLT

SN: 10001-UP

2шт.

7

01643-31232

WASHER

SN: 10001-UP

2шт.

8

23B-22-22330

TUBE

SN: 10001-UP

1шт.

9

232-23-11220

BREATHER

SN: 10001-UP

1шт.

10

07003-03036

GASKET

SN: 10001-UP

1шт.

11

232-22-55112

GASKET

SN: .-UP

1шт.

11

0

GASKET

SN: .-.

1шт.

11

0

GASKET

SN: 10001-.

1шт.

12

04020-01228

PIN,DOWEL

SN: 10001-UP

2шт.

13

01010-51235

BOLT

SN: 10001-UP

16шт.

14

01643-31232

WASHER

SN: 10001-UP

16шт.

Выбрано товаров: 19