Запчасти Komatsu GD521A-1E ПОВОРОТНОЕ СОЕДИНЕНИЕ (ДЛЯ НАКЛОНЯЕМ.) ГИДРАВЛИКА

Схема запчастей Komatsu GD521A-1E - ПОВОРОТНОЕ СОЕДИНЕНИЕ (ДЛЯ НАКЛОНЯЕМ.) ГИДРАВЛИКА
FIT
1:1
100%

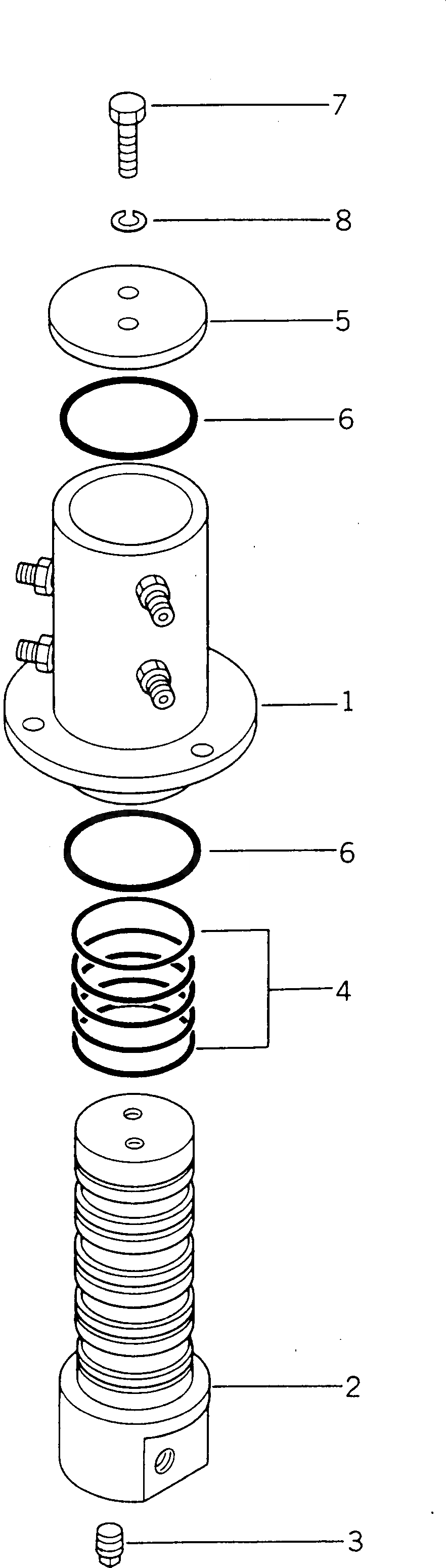
Артикул

Название

Примечание

Количество

|$0

232-735-3102

SWIVEL JOINT ASS'Y

SN: 12001-UP

1шт.

1

232-735-3111

BODY

SN: 12001-UP

1шт.

2

232-735-3120

FLANGE

SN: 12001-UP

1шт.

3

07043-00211

PLUG

SN: 12001-UP

4шт.

4

07000-13050

O-RING

SN: 12001-UP

5шт.

5

232-60-54730

PLATE

SN: 12001-UP

1шт.

6

07000-12065

O-RING

SN: 12001-UP

2шт.

7

01010-51225

BOLT

SN: 12001-UP

2шт.

8

01643-31232

WASHER

SN: 12001-UP

2шт.

Выбрано товаров: 9