Запчасти Komatsu GD521A-1E ТРАНСМИССИЯ (КОРПУС ТРАНСМИССИИ) СИЛОВАЯ ПЕРЕДАЧА

Схема запчастей Komatsu GD521A-1E - ТРАНСМИССИЯ (КОРПУС ТРАНСМИССИИ) СИЛОВАЯ ПЕРЕДАЧА
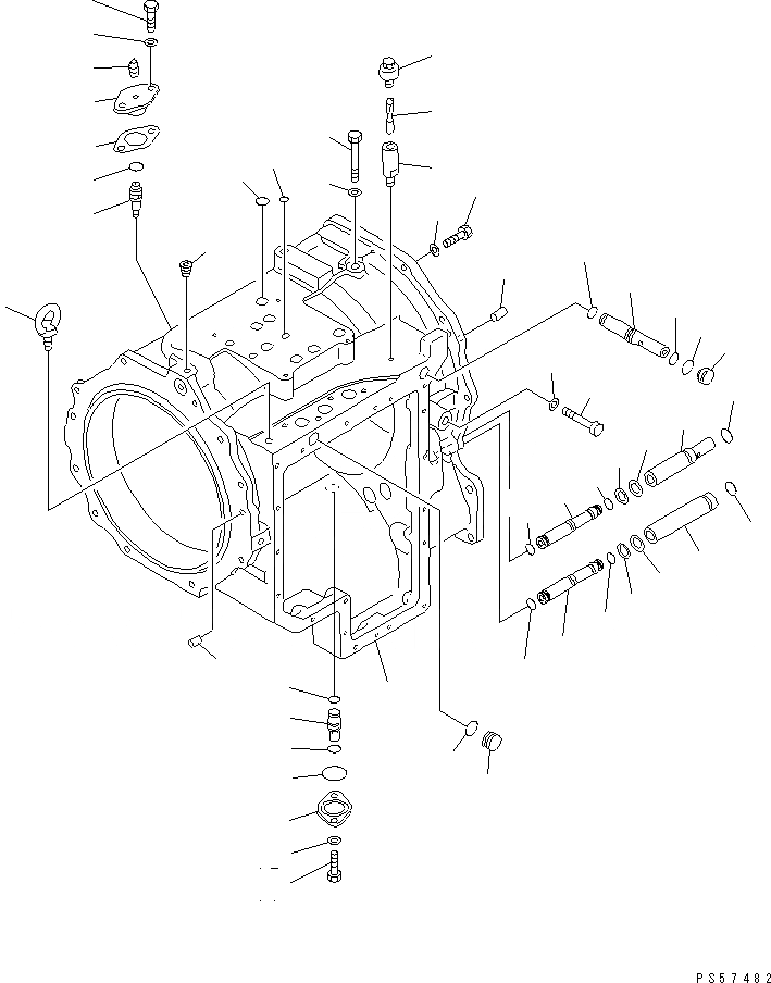
1
2
3
4
5
6
7
8
9
10
11
12
13
14
15
15
16
17
18
19
20
21
22
23
24
25
26
27
28
29
30
30
30
31
31
31
31
32
32
33
33
34
34
35
35
36
37
38
39
40
41
42
FIT
1:1
100%

Артикул

Название

Примечание

Количество

|$0

23A-15-00062

TRANSMISSION ASS'Y

SN: 12001-UP

1шт.

|$$2

THIS ASSEMBLY CONSISTS OF ALL PARTS SHOWN IN FIGS.2401 TO 2471.

-1шт.

|$2

23A-15-11022

TRANSMISSION ASS'Y

SN: 12001-UP

1шт.

|$3

0

TRANSMISSION ASS'Y,(EXCEPT PTO)

SN: (12001-12215)

1шт.

|$$5

THIS ASSEMBLY CONSISTS OF ALL PARTS SHOWN IN FIGS.2401 TO 2415 AND 2419 T0 2471.

-1шт.

|$5

23A-15-00141

CASE ASS'Y

SN: 12001-UP

1шт.

1

0

CASE

SN: 12001-UP

1шт.

2

07043-70312

PLUG

SN: 12001-UP

5шт.

3

07030-00252

BREATHER

SN: 12001-UP

1шт.

4

124-15-41690

PIN

SN: 12001-UP

1шт.

5

124-15-41680

BOSS

SN: 12001-UP

1шт.

6

04530-12030

BOLT

SN: 12001-UP

2шт.

7

07000-72021

O-RING (K1)

SN: 12001-UP

7шт.

8

07000-72014

O-RING (K1)

SN: 12001-UP

3шт.

9

04020-01024

PIN,DOWEL

SN: 12001-UP

2шт.

10

04020-01024

PIN,DOWEL

SN: 12001-UP

2шт.

11

01010-81235

BOLT

SN: 12001-UP

13шт.

12

01643-31232

WASHER

SN: 12001-UP

13шт.

13

01010-61670

BOLT

SN: 12001-UP

4шт.

14

01011-61600

BOLT

SN: 12001-UP

3шт.

15

01643-31645

WASHER

SN: 12001-UP

7шт.

16

23B-15-11610

SLEEVE

SN: 12001-UP

1шт.

17

07000-72014

O-RING (K1)

SN: 12001-UP

1шт.

18

23B-15-16130

GASKET (K1)

SN: 12001-UP

1шт.

19

23B-15-11620

COVER

SN: 12001-UP

1шт.

20

01010-81025

BOLT

SN: 12001-UP

2шт.

21

01643-31032

WASHER

SN: 12001-UP

2шт.

22

07042-20108

PLUG

SN: 12001-UP

1шт.

23

23A-15-11360

SLEEVE

SN: 12001-UP

1шт.

24

07000-72018

O-RING (K1)

SN: 12001-UP

1шт.

25

07000-72021

O-RING (K1)

SN: 12001-UP

1шт.

26

23A-15-11320

SLEEVE

SN: 12001-UP

1шт.

27

23A-15-11330

SLEEVE

SN: 12001-UP

1шт.

28

07000-73022

O-RING (K1)

SN: 12001-UP

1шт.

29

07000-73025

O-RING (K1)

SN: 12001-UP

1шт.

30

23B-15-11310

SLEEVE

SN: 12001-UP

2шт.

31

07000-72018

O-RING (K1)

SN: 12001-UP

4шт.

32

23B-15-11340

PLATE

SN: 12001-UP

2шт.

33

04064-02212

RING,SNAP

SN: 12001-UP

2шт.

34

23B-15-11370

STOPPER

SN: 12001-UP

2шт.

35

07000-73022

O-RING (K1)

SN: 12001-UP

2шт.

36

23A-15-11350

SLEEVE

SN: 12001-UP

1шт.

37

07000-72018

O-RING (K1)

SN: 12001-UP

1шт.

38

07000-72021

O-RING (K1)

SN: 12001-UP

1шт.

39

23S-15-23710

PLATE

SN: 12001-UP

1шт.

40

07000-73038

O-RING (K1)

SN: 12001-UP

1шт.

41

01010-81025

BOLT

SN: 12001-UP

2шт.

42

01643-31032

WASHER

SN: 12001-UP

2шт.

Выбрано товаров: 48