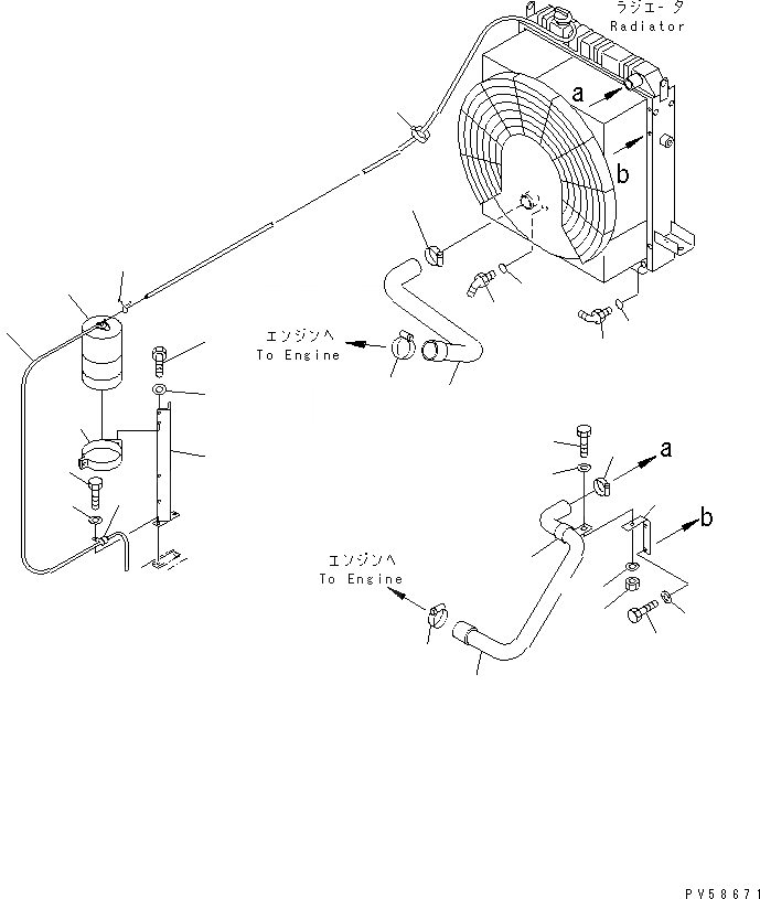
Запчасти Komatsu GD521A-1E СИСТЕМА ТРУБ РАДИАТОРА КОМПОНЕНТЫ ДВИГАТЕЛЯ И ЭЛЕКТРИКА

Схема запчастей Komatsu GD521A-1E - СИСТЕМА ТРУБ РАДИАТОРА КОМПОНЕНТЫ ДВИГАТЕЛЯ И ЭЛЕКТРИКА
1
2
3
3
4
5
6
7
8
8
9
10
11
12
13
14
15
16
17
18
19
20
21
22
23
24
24
25
26
FIT
1:1
100%

Артикул

Название

Примечание

Количество

1

23A-03-21740

HOSE

SN: 12001-UP

1шт.

2

23A-03-21750

HOSE

SN: 12001-UP

1шт.

3

07289-00045

CLAMP

SN: 12001-UP

2шт.

4

07289-00055

CLAMP

SN: 12001-UP

1шт.

5

07289-00070

CLAMP

SN: 12001-UP

1шт.

6

07235-10628

ELBOW

SN: 12001-UP

1шт.

7

07236-10628

ELBOW

SN: 12001-UP

1шт.

8

07002-12434

O-RING

SN: 12001-UP

2шт.

9

417-03-21140

TANK

SN: 12001-UP

1шт.

10

206-03-43340

CLIP

SN: 12001-UP

1шт.

11

23A-03-21780

PLATE

SN: 12001-UP

1шт.

12

01010-81020

BOLT

SN: 12001-UP

2шт.

13

01643-31032

WASHER

SN: 12001-UP

2шт.

14

417-03-21170

BAND

SN: 12001-UP

1шт.

15

01010-81020

BOLT

SN: 12001-UP

3шт.

16

01643-31032

WASHER

SN: 12001-UP

3шт.

17

08034-00519

BAND

SN: 12001-UP

1шт.

18

04434-50810

CLIP

SN: 12001-UP

1шт.

19

23A-03-21791

PLATE

SN: 12001-UP

1шт.

20

01010-50825

BOLT

SN: 12001-UP

2шт.

21

01643-30823

WASHER

SN: 12001-UP

2шт.

22

232-807-6172

CLIP

SN: 12001-UP

1шт.

23

01010-51020

BOLT

SN: 12001-UP

1шт.

24

01643-51032

WASHER

SN: 12001-UP

2шт.

25

01580-11008

NUT

SN: 12001-UP

1шт.

26

07270-00880

TUBE

SN: 12001-UP

1шт.

Выбрано товаров: 26