Запчасти Komatsu S6D102E-1T ГОЛОВКА ЦИЛИНДРОВ ДВИГАТЕЛЬ

Схема запчастей Komatsu S6D102E-1T - ГОЛОВКА ЦИЛИНДРОВ ДВИГАТЕЛЬ
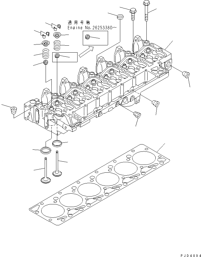
1
2
3
4
5
5
6
7
8
9
9
10
11
12
13
14
14
15
15
16
17
18
1
2
3
4
5
5
6
7
8
9
9
10
11
12
13
14
14
15
15
16
17
18
FIT
1:1
100%

Артикул

Название

Примечание

Количество

|$1

6731-11-1370

HEAD ASS'Y

SN: 26252223-UP

1шт.

|$2

0

HEAD ASS'Y

SN: 26200929-26252222

1шт.

1

0

HEAD

SN: 26252223-UP

1шт.

1

0

HEAD

SN: 26200929-26252222

1шт.

2

6736-11-1150

PLUG

SN: 26200929-UP

5шт.

3

6732-11-1170

INSERT,EXHAUST

SN: 26200929-UP

6шт.

4

6732-11-1180

INSERT,INTAKE

SN: 26200929-UP

6шт.

5

6732-11-1910

PLUG

SN: 26200929-UP

5шт.

6

6732-11-1920

PLUG

SN: 26200929-UP

1шт.

7

6732-11-1930

PLUG

SN: 26200929-UP

2шт.

8

6732-41-4530

SEAL,EXHAUST

SN: 26200929-26253379

6шт.

9

6732-41-4540

SEAL

SN: 26253380-UP

12шт.

9

6732-41-4540

SEAL,INTAKE

SN: 26200929-26253379

6шт.

|$14

6736-41-4110

INTAKE VALVE ASS'Y

SN: 26200929-UP

6шт.

10

0

VALVE

SN: 26200929-UP

1шт.

11

6732-41-4520

COTTER

SN: 26200929-UP

2шт.

|$17

6736-41-4210

EXHAUST VALVE ASS'Y

SN: 26200929-UP

6шт.

12

0

VALVE

SN: 26200929-UP

1шт.

13

6732-41-4520

COTTER

SN: 26200929-UP

2шт.

14

6732-41-4410

SPRING

SN: 26200929-UP

12шт.

15

6731-41-4510

RETAINER

SN: 26253380-UP

12шт.

15

0

RETAINER

SN: 26200929-26253379

12шт.

16

6732-11-1610

BOLT

SN: 26200929-UP

6шт.

17

6732-11-1620

BOLT

SN: 26200929-UP

14шт.

18

6735-11-1821

GASKET

SN: 26253380-UP

1шт.

18

0

GASKET

SN: 26200929-26253379

1шт.

|$$27

REFER TO FIG. NOS. OF REPAIR PARTS FOR O.S., U.S., AND SERVICE PARTS.

-1шт.

|$1

6731-11-1370

HEAD ASS'Y

SN: 26252223-UP

1шт.

|$2

0

HEAD ASS'Y

SN: 26200929-26252222

1шт.

1

0

HEAD

SN: 26252223-UP

1шт.

1

0

HEAD

SN: 26200929-26252222

1шт.

2

6736-11-1150

PLUG

SN: 26200929-UP

5шт.

3

6732-11-1170

INSERT,EXHAUST

SN: 26200929-UP

6шт.

4

6732-11-1180

INSERT,INTAKE

SN: 26200929-UP

6шт.

5

6732-11-1910

PLUG

SN: 26200929-UP

5шт.

6

6732-11-1920

PLUG

SN: 26200929-UP

1шт.

7

6732-11-1930

PLUG

SN: 26200929-UP

2шт.

8

6732-41-4530

SEAL,EXHAUST

SN: 26200929-26253379

6шт.

9

6732-41-4540

SEAL

SN: 26253380-UP

12шт.

9

6732-41-4540

SEAL,INTAKE

SN: 26200929-26253379

6шт.

|$14

6736-41-4110

INTAKE VALVE ASS'Y

SN: 26200929-UP

6шт.

10

0

VALVE

SN: 26200929-UP

1шт.

11

6732-41-4520

COTTER

SN: 26200929-UP

2шт.

|$17

6736-41-4210

EXHAUST VALVE ASS'Y

SN: 26200929-UP

6шт.

12

0

VALVE

SN: 26200929-UP

1шт.

13

6732-41-4520

COTTER

SN: 26200929-UP

2шт.

14

6732-41-4410

SPRING

SN: 26200929-UP

12шт.

15

6731-41-4510

RETAINER

SN: 26253380-UP

12шт.

15

0

RETAINER

SN: 26200929-26253379

12шт.

16

6732-11-1610

BOLT

SN: 26200929-UP

6шт.

17

6732-11-1620

BOLT

SN: 26200929-UP

14шт.

18

6735-11-1821

GASKET

SN: 26253380-UP

1шт.

18

0

GASKET

SN: 26200929-26253379

1шт.

|$$27

REFER TO FIG. NOS. OF REPAIR PARTS FOR O.S., U.S., AND SERVICE PARTS.

-1шт.

Выбрано товаров: 54