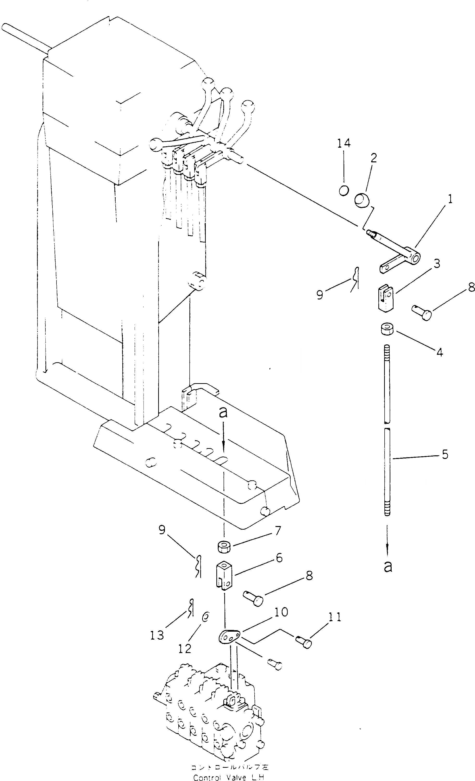
Запчасти Komatsu GD525A-1 ГИДРАВЛ РЫЧАГ УПРАВЛ-Я (ДЛЯ РЫХЛИТЕЛЬ) СИСТЕМА УПРАВЛЕНИЯ

Схема запчастей Komatsu GD525A-1 - ГИДРАВЛ РЫЧАГ УПРАВЛ-Я (ДЛЯ РЫХЛИТЕЛЬ) СИСТЕМА УПРАВЛЕНИЯ
FIT
1:1
100%

Артикул

Название

Примечание

Количество

1

23B-43-18250

LEVER,RIPPER

SN: 60001-UP

1шт.

2

237-43-17480

KNOB

SN: 60001-UP

1шт.

3

238-43-38580

YOKE

SN: 60001-UP

1шт.

4

01580-10806

NUT

SN: 60001-UP

1шт.

5

23B-43-18390

ROD

SN: 60001-UP

1шт.

6

04221-20844

YOKE,L.H. THREAD

SN: 60001-UP

1шт.

7

01508-20805

NUT,L.H. THREAD

SN: 60001-UP

1шт.

8

04205-10822

PIN

SN: 60001-UP

2шт.

9

234-43-18710

PIN,SNAP

SN: 60001-UP

2шт.

10

23B-43-18270

LEVER

SN: 60001-UP

1шт.

11

235-43-18440

PIN

SN: 60001-UP

2шт.

12

01641-20608

WASHER

SN: 60001-UP

2шт.

13

04052-00530

PIN,SNAP

SN: 60001-UP

2шт.

14

232-785-1410

PLATE, OPERATING,RIPPER

SN: 60001-UP

1шт.

Выбрано товаров: 14