Запчасти Komatsu GD525A-1 ГИДРАВЛ РЫЧАГ УПРАВЛ-Я¤ ПРАВ. СИСТЕМА УПРАВЛЕНИЯ

Схема запчастей Komatsu GD525A-1 - ГИДРАВЛ РЫЧАГ УПРАВЛ-Я¤ ПРАВ. СИСТЕМА УПРАВЛЕНИЯ
FIT
1:1
100%

Артикул

Название

Примечание

Количество

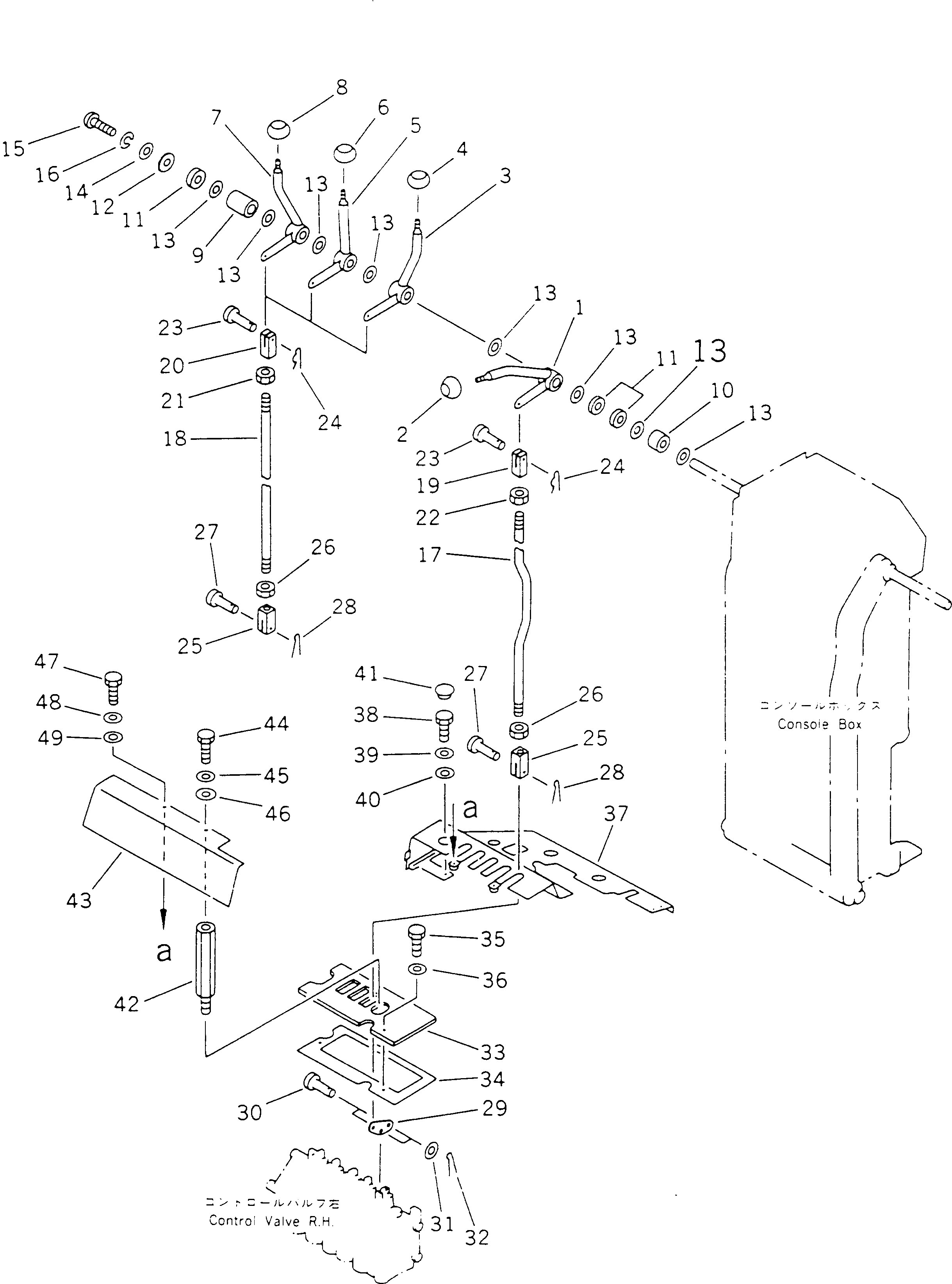
1

23B-43-18230

LEVER,ARTICULATE

SN: 60001-UP

1шт.

2

237-43-17490

KNOB

SN: 60001-UP

1шт.

2

234-53-32330

PLATE, OPERATING,ARTICULATE

SN: 60001-UP

1шт.

3

23B-43-18170

LEVER,DRAWBAR SIDE SHIFT

SN: 60001-UP

1шт.

4

237-43-17480

KNOB

SN: 60001-UP

1шт.

4

232-43-18280

PLATE, OPERATING,DRAWBAR SIDE SHIFT

SN: 60001-UP

1шт.

5

23B-43-18160

LEVER,LEANING

SN: 60001-UP

1шт.

6

237-43-17490

KNOB

SN: 60001-UP

1шт.

6

237-54-13220

PLATE, OPERATING,LEANING

SN: 60001-UP

1шт.

7

23B-43-18190

LEVER,BLADE LIFT

SN: 60001-UP

1шт.

8

237-43-17480

KNOB

SN: 60001-UP

1шт.

8

237-54-13210

PLATE, OPERATING,BLADE LIFT

SN: 60001-UP

1шт.

9

237-43-17440

COLLAR

SN: 60001-UP

1шт.

10

23D-43-18590

COLLAR

SN: 60001-UP

1шт.

11

23D-43-18540

COLLAR

SN: 60001-UP

3шт.

12

232-975-5490

SPACER

SN: 60001-UP

1шт.

13

237-43-17420

WASHER

SN: 60001-UP

8шт.

14

23A-43-18190

WASHER

SN: 60001-UP

1шт.

15

01220-40816

SCREW

SN: 60001-UP

1шт.

16

01643-30823

WASHER

SN: 60001-UP

1шт.

17

23D-43-18530

ROD

SN: 60001-UP

1шт.

18

23B-43-18390

ROD

SN: 60001-UP

3шт.

19

04211-20844

YOKE

SN: 60001-UP

1шт.

20

04221-20844

YOKE,L.H. THREAD

SN: 60001-UP

3шт.

21

01508-20805

NUT,L.H. THREAD

SN: 60001-UP

3шт.

22

01580-20806

NUT

SN: 60001-UP

1шт.

23

04205-10822

PIN

SN: 60001-UP

4шт.

24

234-43-18710

PIN,SNAP

SN: 60001-UP

4шт.

25

238-43-38580

YOKE

SN: 60001-UP

4шт.

26

01580-10806

NUT

SN: 60001-UP

4шт.

27

04205-10822

PIN

SN: 60001-UP

4шт.

28

04050-11612

PIN,COTTER

SN: 60001-UP

4шт.

29

23B-43-18270

LEVER

SN: 60001-UP

4шт.

30

235-43-18440

PIN

SN: 60001-UP

8шт.

31

01641-20508

WASHER

SN: 60001-UP

8шт.

32

04050-11212

PIN,COTTER

SN: 60001-UP

8шт.

33

23B-43-18360

SEAT

SN: 60001-UP

1шт.

34

23B-43-18350

PLATE

SN: 60001-UP

1шт.

35

01010-50625

BOLT

SN: 60001-UP

2шт.

36

01643-30623

WASHER

SN: 60001-UP

2шт.

37

23B-43-18280

COVER

SN: 60001-UP

1шт.

38

01010-51225

BOLT

SN: 60001-UP

3шт.

39

01643-31232

WASHER

SN: 60001-UP

3шт.

40

01643-31445

WASHER

SN: 60001-UP

3шт.

41

09415-02512

CAP

SN: 60001-UP

3шт.

42

23D-43-18630

BOLT

SN: 60001-UP

1шт.

43

23B-43-18290

COVER

SN: 60001-UP

1шт.

44

01010-50625

BOLT

SN: 60001-UP

1шт.

45

01643-30623

WASHER

SN: 60001-UP

1шт.

46

01643-30823

WASHER

SN: 60001-UP

1шт.

47

01010-50625

BOLT

SN: 60001-UP

3шт.

48

01642-20608

WASHER

SN: 60001-UP

3шт.

49

01643-30623

WASHER

SN: 60001-UP

3шт.

Выбрано товаров: 53