Запчасти Komatsu GD525A-1 ГИДРАВЛ РЫЧАГ УПРАВЛ-Я (ДЛЯ SCARIFER) СИСТЕМА УПРАВЛЕНИЯ

Схема запчастей Komatsu GD525A-1 - ГИДРАВЛ РЫЧАГ УПРАВЛ-Я (ДЛЯ SCARIFER) СИСТЕМА УПРАВЛЕНИЯ
FIT
1:1
100%

Артикул

Название

Примечание

Количество

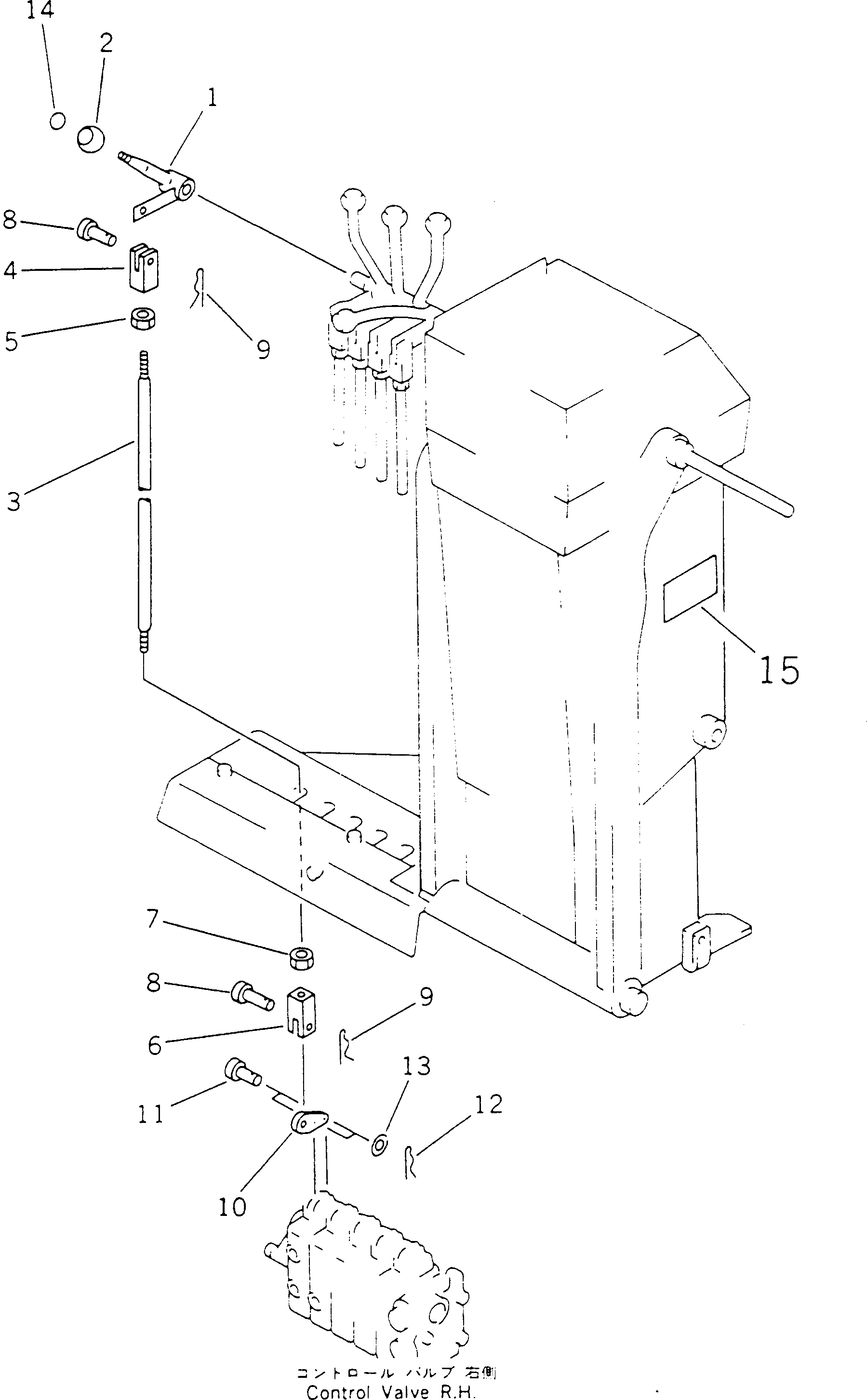
1

23B-43-18240

LEVER,SCARIFIER

SN: 60001-UP

1шт.

2

237-43-17480

KNOB

SN: 60001-UP

1шт.

3

23B-43-18390

ROD

SN: 60001-UP

1шт.

4

04221-20844

YOKE,L.H. THREAD

SN: 60001-UP

1шт.

5

01508-20805

NUT,L.H. THREAD

SN: 60001-UP

1шт.

6

238-43-38580

YOKE

SN: 60001-UP

1шт.

7

01580-10806

NUT

SN: 60001-UP

1шт.

8

04205-10822

PIN

SN: 60001-UP

2шт.

9

234-43-18710

PIN,SNAP

SN: 60001-UP

2шт.

10

23B-43-18270

LEVER

SN: 60001-UP

1шт.

11

235-43-18440

PIN

SN: 60001-UP

2шт.

12

04052-00530

PIN,SNAP

SN: 60001-UP

2шт.

13

01641-20608

WASHER

SN: 60001-UP

2шт.

14

237-54-13270

PLATE, OPERATING,SCARIFIER

SN: 60001-UP

1шт.

15

232-53-62710

PLATE, CAUTION

SN: 60001-UP

1шт.

Выбрано товаров: 15