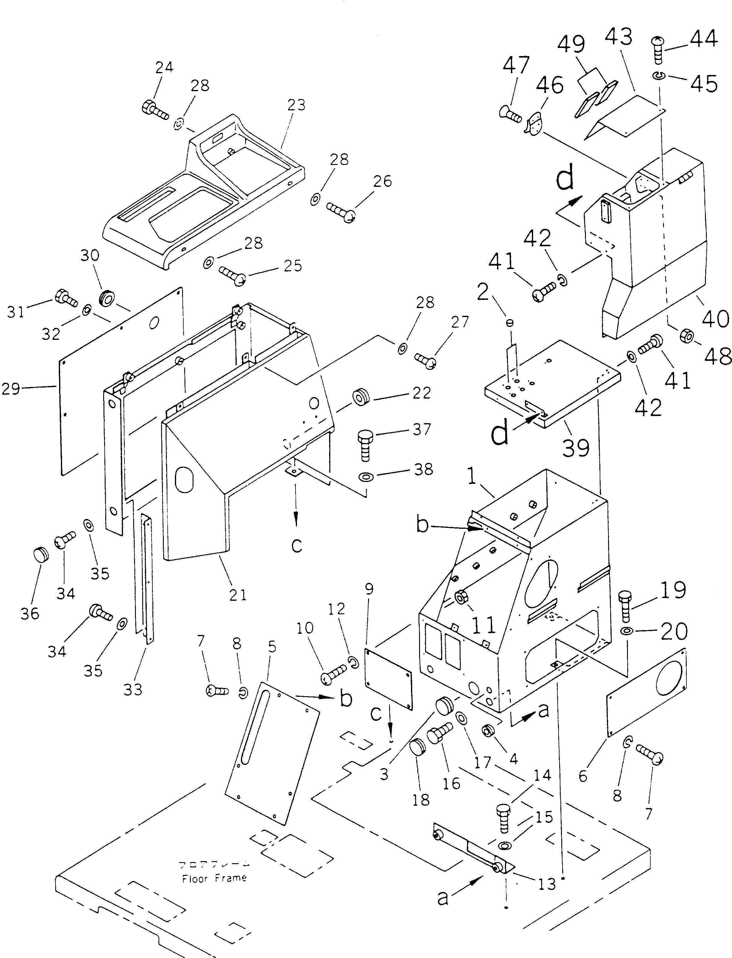
Запчасти Komatsu GD525A-1 КАБИНА ОПЕРАТОРА (/) (ПАНЕЛЬ УПРАВЛЕНИЯ КОРПУС) (С PRESSURE RISER) РАМА И ЧАСТИ КОРПУСА

Схема запчастей Komatsu GD525A-1 - КАБИНА ОПЕРАТОРА (/) (ПАНЕЛЬ УПРАВЛЕНИЯ КОРПУС)         (С PRESSURE RISER) РАМА И ЧАСТИ КОРПУСА
FIT
1:1
100%

Артикул

Название

Примечание

Количество

1

23B-950-4110

BOX,(MODIFIED PART)

SN: 60001-UP

1шт.

2

09415-00706

CAP

SN: 60001-UP

5шт.

3

09415-03614

CAP

SN: 60001-UP

1шт.

4

08037-01008

GROMMET

SN: 60001-UP

1шт.

5

23B-54-25250

COVER

SN: 60001-UP

1шт.

6

23B-950-4130

PLATE

SN: 60001-UP

1шт.

7

01220-40612

SCREW

SN: 60001-UP

10шт.

8

01643-30623

WASHER

SN: 60001-UP

10шт.

9

23B-54-25260

PLATE,(WITHOUT CAR HEATER)

SN: 60001-UP

1шт.

10

01220-40612

SCREW

SN: 60001-UP

4шт.

11

01580-10605

NUT

SN: 60001-UP

4шт.

12

01643-30623

WASHER

SN: 60001-UP

4шт.

13

23B-54-12360

BRACKET

SN: 60001-UP

1шт.

14

01010-51220

BOLT

SN: 60001-UP

4шт.

15

01643-31232

WASHER

SN: 60001-UP

4шт.

16

01010-51020

BOLT

SN: 60001-UP

2шт.

17

01643-31032

WASHER

SN: 60001-UP

2шт.

18

09415-02512

CAP

SN: 60001-UP

2шт.

19

01010-51225

BOLT

SN: 60001-UP

2шт.

20

01643-31232

WASHER

SN: 60001-UP

2шт.

21

23B-54-25231

BOX

SN: 60060-UP

1шт.

21

23B-54-25230

BOX

SN: 60001-60059

1шт.

22

09415-02512

CAP

SN: 60001-UP

1шт.

23

23B-54-12221

COVER,CONSOLE

SN: 60001-UP

1шт.

24

01010-50630

BOLT

SN: 60021-UP

2шт.

24

01010-50625

BOLT

SN: 60001-60020

2шт.

25

01220-40616

SCREW

SN: 60001-UP

1шт.

26

01220-40630

SCREW

SN: 60001-UP

1шт.

27

01220-40620

SCREW

SN: 60001-UP

1шт.

28

01641-20608

WASHER

SN: 60001-UP

5шт.

29

23B-54-12240

COVER

SN: 60001-UP

1шт.

30

09415-02512

CAP

SN: 60001-UP

1шт.

31

01010-50620

BOLT

SN: 60001-UP

5шт.

32

01643-30623

WASHER

SN: 60001-UP

5шт.

33

23B-54-12230

PLATE

SN: 60001-UP

1шт.

34

01220-40620

SCREW

SN: 60001-UP

5шт.

35

01641-20608

WASHER

SN: 60001-UP

5шт.

36

09415-02520

CAP

SN: 60001-UP

2шт.

37

01010-51225

BOLT

SN: 60001-UP

3шт.

38

01643-31232

WASHER

SN: 60001-UP

3шт.

39

23B-950-4120

COVER

SN: 60001-UP

1шт.

40

23B-950-4160

BOX,(MODIFIED PART)

SN: 60001-UP

1шт.

41

01220-40612

SCREW

SN: 60001-UP

4шт.

42

01643-30623

WASHER

SN: 60001-UP

4шт.

43

23B-950-2960

PLATE

SN: 60001-UP

1шт.

44

01220-40412

SCREW

SN: 60001-UP

4шт.

45

01601-20410

WASHER,SPRING

SN: 60001-UP

4шт.

46

23B-950-2970

HINGE

SN: 60001-UP

1шт.

47

01224-40306

SCREW

SN: 60001-UP

5шт.

48

01580-10302

NUT

SN: 60001-UP

5шт.

49

142-979-3221

GRILLE ASS'Y

SN: 60001-UP

2шт.

Выбрано товаров: 51