Запчасти Komatsu GD525A-1 ЭЛЕКТРИКА (ЛИНИЯ АККУМУЛЯТОРА) КОМПОНЕНТЫ ДВИГАТЕЛЯ И ЭЛЕКТРИКА

Схема запчастей Komatsu GD525A-1 - ЭЛЕКТРИКА (ЛИНИЯ АККУМУЛЯТОРА) КОМПОНЕНТЫ ДВИГАТЕЛЯ И ЭЛЕКТРИКА
FIT
1:1
100%

Артикул

Название

Примечание

Количество

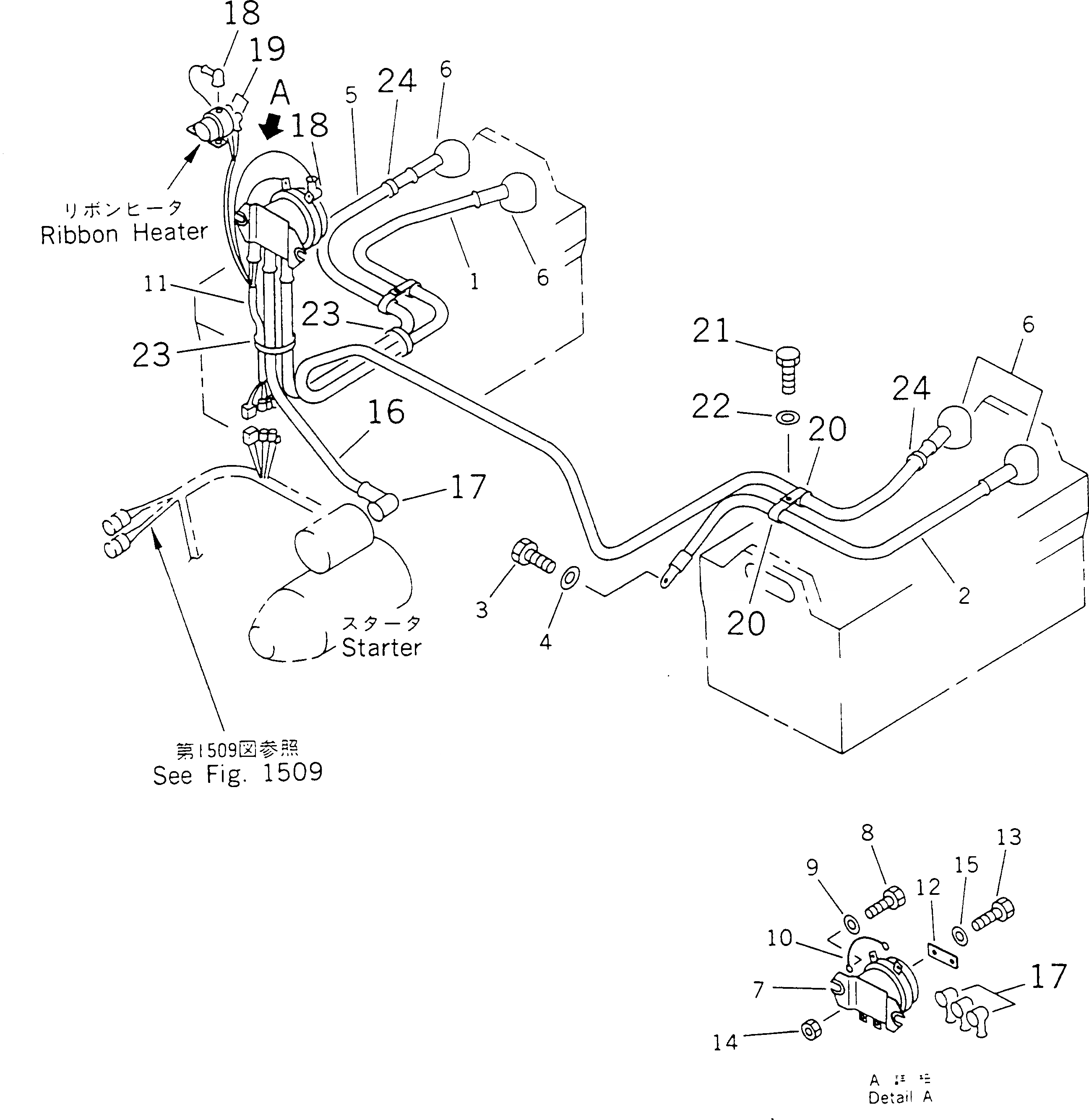
1

23B-06-21130

WIRE

SN: 60001-UP

1шт.

2

238-06-17230

WIRE

SN: 60001-UP

1шт.

3

01010-51020

BOLT

SN: 60001-UP

1шт.

4

01643-31032

WASHER

SN: 60001-UP

1шт.

5

23A-06-11120

WIRE

SN: 60001-UP

1шт.

6

232-06-11970

CAP

SN: 60001-UP

4шт.

7

22W-06-13220

SWITCH,BATTERY RELAY

SN: 60001-UP

1шт.

8

01010-50830

BOLT

SN: 60001-UP

2шт.

9

01643-30823

WASHER

SN: 60001-UP

2шт.

10

237-06-11510

WIRE

SN: 60001-UP

1шт.

11

23B-06-21590

WIRE ASS'Y

SN: 60021-UP

1шт.

11

23B-06-21310

WIRE ASS'Y

SN: 60001-60020

1шт.

12

234-06-32240

PLATE

SN: 60001-UP

1шт.

13

01010-50820

BOLT

SN: 60001-UP

1шт.

14

01580-10806

NUT

SN: 60001-UP

1шт.

15

01643-30823

WASHER

SN: 60001-UP

1шт.

16

23A-06-11130

WIRE

SN: 60001-UP

1шт.

17

232-06-11960

CAP

SN: 60001-UP

4шт.

18

08038-00519

CAP

SN: 60001-UP

2шт.

19

08038-02027

CAP

SN: 60001-UP

2шт.

20

08036-01414

CLIP

SN: 60001-UP

4шт.

21

01010-51020

BOLT

SN: 60001-UP

2шт.

22

01643-31032

WASHER

SN: 60001-UP

2шт.

23

08034-00834

BAND

SN: 60001-UP

2шт.

24

234-06-41320

BAND,MARK

SN: 60001-UP

2шт.

Выбрано товаров: 25