Запчасти Komatsu GD525A-1 ТРАНСМИССИЯ (КРЫШКА УПРАВЛЯЮЩЕГО КЛАПАНА)(№-9) СИЛОВАЯ ПЕРЕДАЧА

Схема запчастей Komatsu GD525A-1 - ТРАНСМИССИЯ (КРЫШКА УПРАВЛЯЮЩЕГО КЛАПАНА)(№-9) СИЛОВАЯ ПЕРЕДАЧА
FIT
1:1
100%

Артикул

Название

Примечание

Количество

|$0

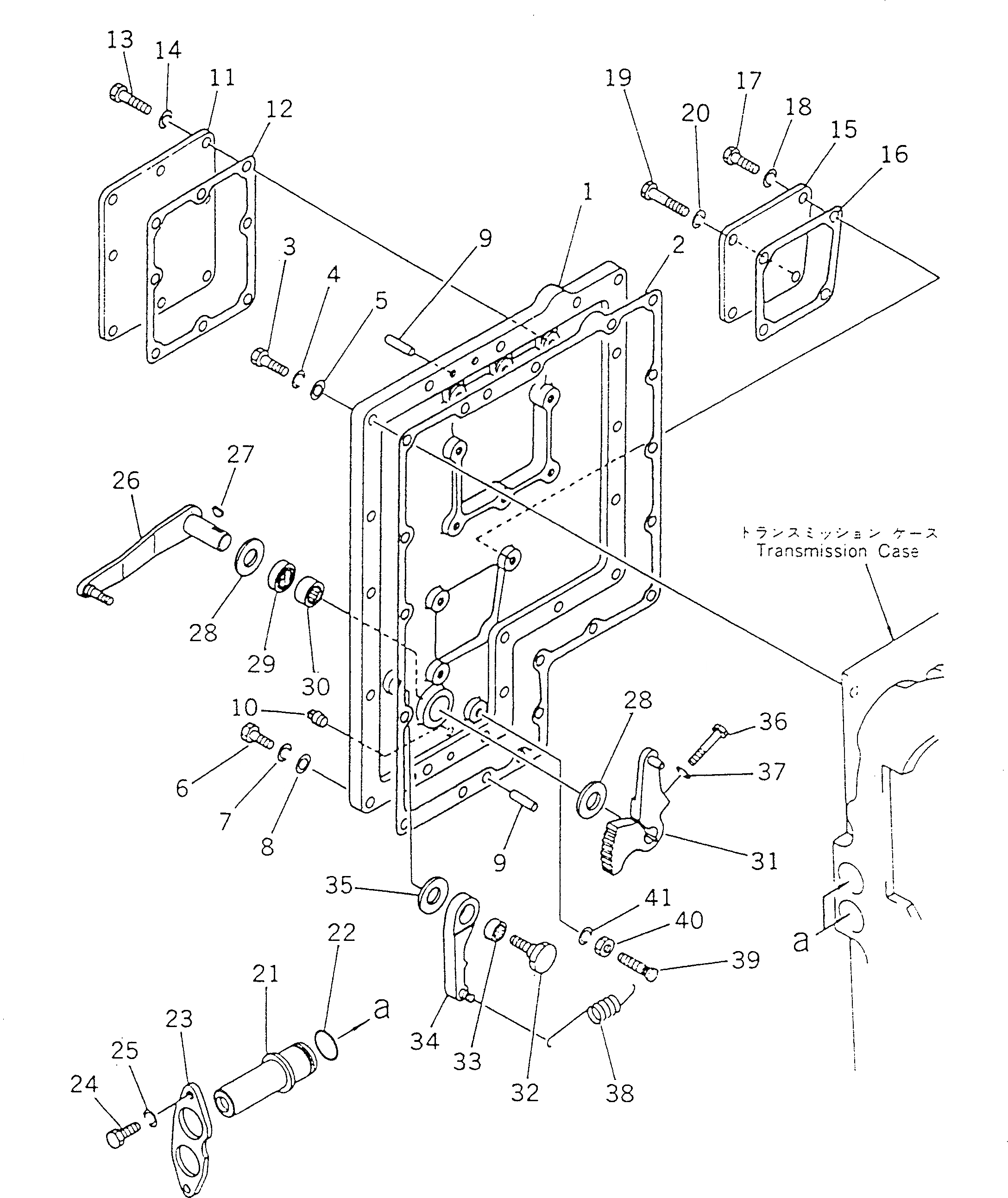
23A-15-00061

TRANSMISSION ASS'Y

SN: 60063-60069

1шт.

|$1

0

TRANSMISSION ASS'Y

SN: 60045-60062

1шт.

|$2

0

TRANSMISSION ASS'Y

SN: 60001-60044

1шт.

|$$4

THESE ASSEMBLIES CONSIST OF ALL PARTS SHOWN IN FIGS.2401 TO 2453A.

-1шт.

1

23B-15-15810

COVER

SN: 60001-@

1шт.

2

23B-15-15950

GASKET (K1)

SN: 60001-60069

1шт.

3

01010-51040

BOLT

SN: 60001-60069

17шт.

4

01602-21030

WASHER,SPRING

SN: 60001-@

17шт.

5

01643-31032

WASHER

SN: 60001-@

17шт.

6

01010-51030

BOLT

SN: 60001-60069

1шт.

7

01602-21030

WASHER,SPRING

SN: 60001-@

1шт.

8

01643-31032

WASHER

SN: 60001-@

1шт.

9

04020-01024

PIN,DOWEL

SN: 60001-@

2шт.

10

07042-20211

PLUG

SN: 60001-60069

1шт.

11

232-15-15830

COVER

SN: 60001-@

1шт.

12

232-15-15960

GASKET (K1)

SN: 60001-60069

1шт.

13

01010-51030

BOLT

SN: 60001-60069

8шт.

14

01602-21030

WASHER,SPRING

SN: 60001-@

8шт.

15

232-15-15840

COVER

SN: 60001-@

1шт.

16

232-15-15970

GASKET (K1)

SN: 60001-60069

1шт.

17

01010-51030

BOLT

SN: 60001-60069

3шт.

18

01602-21030

WASHER,SPRING

SN: 60001-@

3шт.

19

01010-51065

BOLT

SN: 60001-60069

1шт.

20

01602-21030

WASHER,SPRING

SN: 60001-@

1шт.

21

23B-15-11820

COUPLING

SN: 60001-@

2шт.

22

07000-73028

O-RING (K1)

SN: 60001-@

2шт.

23

23B-15-11810

COVER

SN: 60001-@

1шт.

24

01010-51025

BOLT

SN: 60001-60069

2шт.

25

01643-31032

WASHER

SN: 60001-@

2шт.

26

238-15-25750

LEVER

SN: 60001-@

1шт.

27

04010-00300

KEY

SN: 60001-@

1шт.

28

144-15-25570

WASHER

SN: 60001-@

2шт.

29

144-15-29110

SEAL,OIL (K1)

SN: 60001-@

1шт.

30

06120-02016

BEARING

SN: 60001-@

1шт.

31

232-15-15761

LEVER

SN: 60001-@

1шт.

32

232-15-15780

SHAFT

SN: 60001-@

1шт.

33

06120-01612

BEARING

SN: 60001-@

1шт.

34

232-15-15770

LEVER

SN: 60001-@

1шт.

35

232-15-15790

WASHER

SN: 60001-@

1шт.

36

01010-50850

BOLT

SN: 60001-60069

1шт.

37

01602-20825

WASHER,SPRING

SN: 60001-@

1шт.

38

232-15-16270

SPRING

SN: 60001-@

1шт.

39

125-15-11461

BOLT

SN: 60001-@

1шт.

40

01580-11008

NUT

SN: 60001-@

1шт.

41

01602-21030

WASHER,SPRING

SN: 60001-@

1шт.

Выбрано товаров: 45