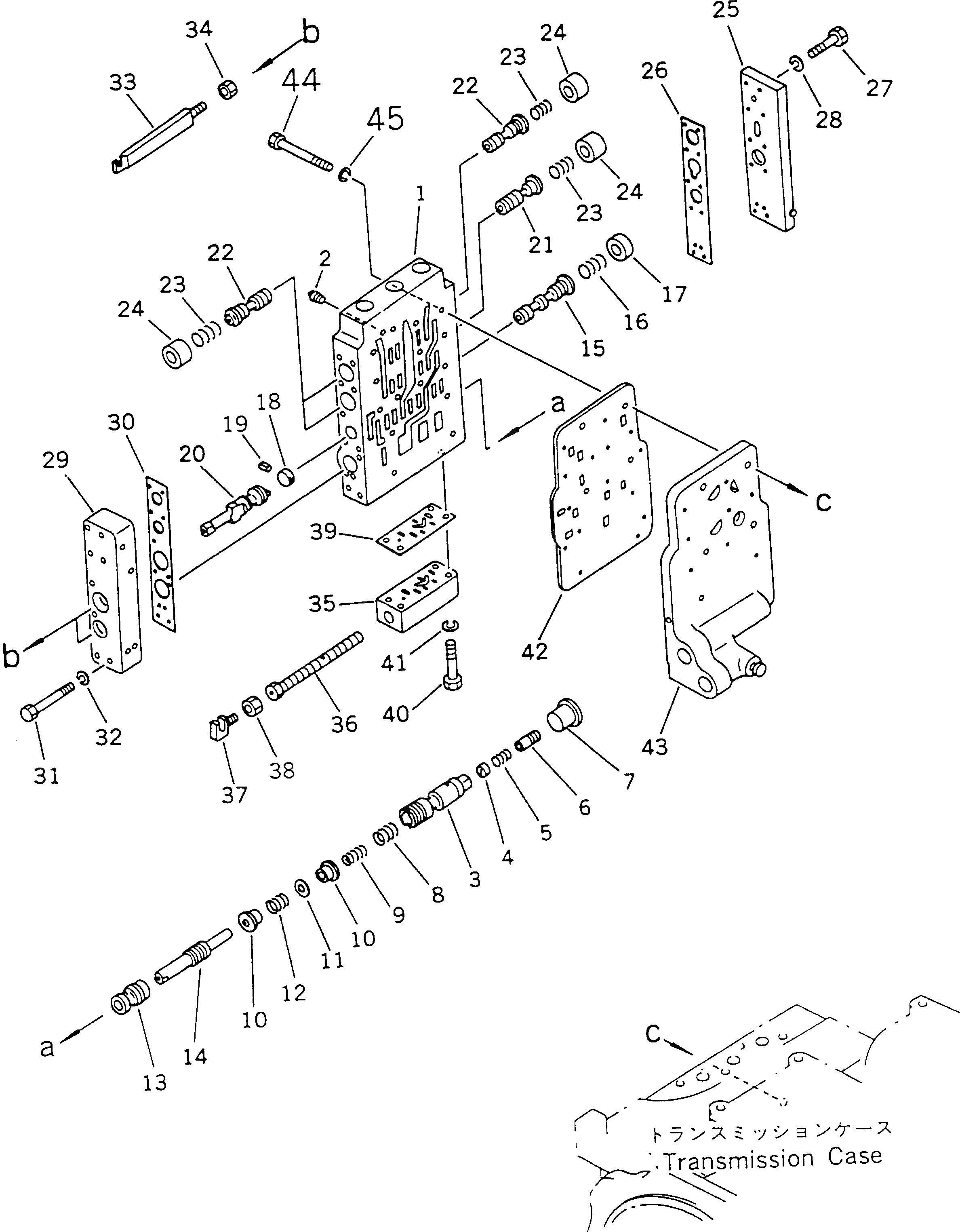
Запчасти Komatsu GD525A-1 ТРАНСМИССИЯ (УПРАВЛЯЮЩ. КЛАПАН) (/)(№-9) СИЛОВАЯ ПЕРЕДАЧА

Схема запчастей Komatsu GD525A-1 - ТРАНСМИССИЯ (УПРАВЛЯЮЩ. КЛАПАН) (/)(№-9) СИЛОВАЯ ПЕРЕДАЧА
FIT
1:1
100%

Артикул

Название

Примечание

Количество

|$0

23A-15-00061

TRANSMISSION ASS'Y

SN: 60063-60069

1шт.

|$$2

THIS ASSEMBLY CONSISTS OF ALL PARTS SHOWN IN FIGS.2401 TO 2453A.

-1шт.

|$2

23B-15-00220

VALVE ASS'Y,SHIFT CONTROL

SN: 60063-@

1шт.

1

232-15-15111

BODY,VALVE

SN: 60063-@

1шт.

2

07042-20108

PLUG

SN: 60001-@

3шт.

3

23B-15-15371

VALVE

SN: 60063-@

1шт.

4

22W-75-18890

VALVE

SN: 60001-@

1шт.

5

125-15-15290

SPRING,(L=26)

SN: 60001-@

1шт.

6

22W-75-18880

VALVE

SN: 60001-@

1шт.

7

232-15-15292

STOPPER

SN: 60063-@

1шт.

8

23B-15-16241

SPRING,(L=33)

SN: 60063-@

1шт.

9

232-15-16230

SPRING,(L=50.2)

SN: 60001-@

1шт.

10

23B-15-15340

COLLAR

SN: 60001-@

2шт.

11

281-15-15480

SHIM, 0.5MM

SN: 60001-@

1шт.

12

232-15-16180

SPRING,(L=16.1)

SN: 60001-@

1шт.

13

232-15-15360

SLEEVE

SN: 60063-@

1шт.

14

23B-15-15280

SPOOL

SN: 60063-@

1шт.

15

232-15-15240

SPOOL

SN: 60001-@

1шт.

16

232-15-16110

SPRING,(L=36.75)

SN: 60001-@

1шт.

17

232-15-15250

STOPPER

SN: 60001-@

1шт.

18

232-15-15270

STOPPER

SN: 60001-@

1шт.

19

04025-00440

PIN,SPRING

SN: 60001-@

1шт.

20

232-15-15260

SPOOL

SN: 60001-@

1шт.

21

232-15-15221

SPOOL

SN: 60001-@

1шт.

22

232-15-15210

SPOOL

SN: 60001-@

3шт.

23

232-15-16110

SPRING,(L=36.75)

SN: 60001-@

4шт.

24

232-15-15230

STOPPER

SN: 60001-@

4шт.

25

232-15-15380

COVER

SN: 60001-@

1шт.

26

23A-15-15910

GASKET (K2)

SN: 60001-@

1шт.

27

01010-50830

BOLT

SN: 60001-60069

10шт.

28

01602-20825

WASHER,SPRING

SN: 60001-@

10шт.

29

23B-15-15390

COVER

SN: 60063-@

1шт.

30

23A-15-15920

GASKET (K2)

SN: 60001-@

1шт.

31

01010-50850

BOLT

SN: 60063-60069

9шт.

32

01602-20825

WASHER,SPRING

SN: 60063-@

9шт.

33

232-15-15710

YOKE

SN: 60063-@

2шт.

34

01580-10806

NUT

SN: 60001-@

2шт.

35

232-15-15310

BODY,VALVE

SN: 60001-@

1шт.

36

232-15-15331

SPOOL

SN: 60001-@

1шт.

37

09363-00850

YOKE

SN: 60001-@

1шт.

38

01580-10806

NUT

SN: 60001-@

1шт.

39

232-15-15930

GASKET (K2)

SN: 60001-@

1шт.

40

01010-50845

BOLT

SN: 60001-60069

4шт.

41

01602-20825

WASHER,SPRING

SN: 60001-@

4шт.

42

23A-15-15140

PLATE

SN: 60001-@

1шт.

43

23B-15-15130

SEAT,VALVE

SN: 60063-@

1шт.

44

01010-50860

BOLT

SN: 60001-60069

11шт.

45

01602-20825

WASHER,SPRING

SN: 60001-@

11шт.

Выбрано товаров: 48