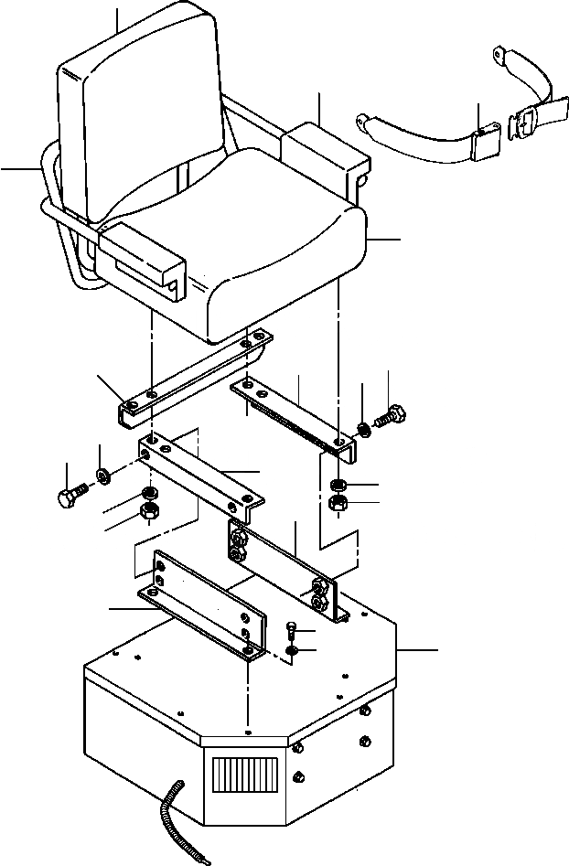
Запчасти Komatsu GD530A СТАНДАРТН. СИДЕНЬЕ КРЕПЛЕНИЕ SUPERSTRUCTURE

Схема запчастей Komatsu GD530A - СТАНДАРТН. СИДЕНЬЕ КРЕПЛЕНИЕ SUPERSTRUCTURE
2
3
5
1
4
8
7
6
9
9
8
10
11
12
13
11
12
13
8
14
9
FIT
1:1
100%

Артикул

Название

Примечание

Количество

|$0

1259 390 H91

SEAT INSTALLATION, STANDARD

1шт.

|$1

91 868

SEAT ASSEMBLY

1шт.

1

93 043

FRAME, SEAT

1шт.

2

93 041

CUSHION, BACK REST

1шт.

3

93 040

PAD, ARM REST

2шт.

4

93 042

CUSHION, SEAT

1шт.

5

110 186

BELT, SEAT

1шт.

6

1260 228 H1

ANGLE, SEAT BELT ANCHOR

1шт.

7

1260 326 H2

ANGLE, SEAT ADJUST - L.H

1шт.

8

60 365 H

BOLT

8шт.

9

390 305 C1

WASHER, FLAT

8шт.

10

1260 227 H2

ANGLE, SEAD ADJUST - R.H

1шт.

11

25 708 R1

WASHER, FLAT

4шт.

12

27 254 R1

NUT, HEX

4шт.

13

1260 229 H92

ANGLE WELDMENT

2шт.

14

BOX, SEAT (SEE PG 13-050)

-29шт.

|$$17

-1шт.

|$17

F1 - INCLUDES MOUNTING HARDWARE

-1шт.

|$$19

-1шт.

Выбрано товаров: 19