Качественные детали и логистика
Оригинальные и аналоговые запчасти с доставкой по России, Казахстану и Беларуси
©2022 PartSell ООО "Система" ИНН 2463123282 ОГРН 1212400004838
Центральный офис: г. Красноярск, Академика Киренского, д.87, пом.4
Телефон: 8 (800) 777-65-74 Email: zakaz@partsell.ru
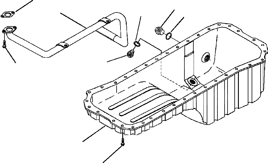
МАСЛЯНЫЙ ПОДДОН
№
Артикул
Название
Примечание
Количество
1
6735-21-5130
PAN, OIL
1шт.
2
6732-21-5210
PLUG, THREADED (M18x1.50x12)
3
6732-21-5190
WASHER, SEALING
4
6732-21-6610
BOLT (M8x1.25x25)
4шт.
5
6736-21-5510
CONNECTION, OIL SUCTION
6
6732-21-5170
7
6736-21-5320
PLUG, THREADED (M22x1.50x14)
8
6732-21-5510
GASKET, FLANGE
9
BOLT
36шт.
Выбрано товаров: 0