Качественные детали и логистика
Оригинальные и аналоговые запчасти с доставкой по России, Казахстану и Беларуси
©2022 PartSell ООО "Система" ИНН 2463123282 ОГРН 1212400004838
Центральный офис: г. Красноярск, Академика Киренского, д.87, пом.4
Телефон: 8 (800) 777-65-74 Email: zakaz@partsell.ru
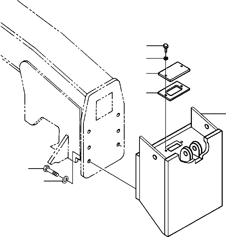
ТОЛКАЮЩ. ПЛАСТИН. MACHINES БЕЗ СЦЕПКА ПАЛЕЦ
№
Артикул
Название
Примечание
Количество
|$0
1434 889 H91
PLATE INSTALLATION, PUSH - 1000 LB
1шт.
|$1
1434 888 H91
PLATE INSTALLATION, PUSH - 2000 LB
1
24 861 R1
BOLT
2шт.
2
25 546 R1
WASHER, FLAT
3
159 002
COVER
4
159 003
GASKET
5
1434 878 H91
PLATE WELDMENT, PUSH - 1000 LB
1439 902 H91
PLATE WELDMENT, PUSH - 2000 LB
6
25 845 R1
6шт.
7
25 550 R1
WASHER, LOCK
|$12
-1шт.
|$11
F1 - NOT SERVICED. REFERENCE ONLY.
|$13
Выбрано товаров: 0