Запчасти Komatsu GD530A 9 GALLON ТОПЛИВН. БАК. POWER

Схема запчастей Komatsu GD530A - 9 GALLON ТОПЛИВН. БАК. POWER
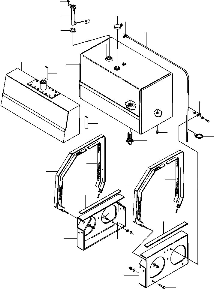
7
4
5
8
9
6
1
3
2
10
11
2
13
12
14
16
15
16
15
17
20
17
18
19
18
20
FIT
1:1
100%

Артикул

Название

Примечание

Количество

|$0

1436 960 H91

TANK, FUEL AND HYDRAULIC OIL

1шт.

|$1

1436 961 H91

TANK, FUEL AND HYDRAULIC OIL

1шт.

1

TANK, HYDRAULIC OIL (SEE PG 10-236)

-29шт.

1

TANK, HYDRAULIC OIL (SEE PG 10-238)

-29шт.

2

STRIP, ANTISQUEAK - 6 IN

2шт.

3

1436 897 H91

TANK, FUEL

1шт.

4

1437 319 H1

CAP, FUEL TANK

1шт.

5

55 845 C

SENDING UNIT, FUEL TANK

1шт.

6

29 362

GASKET, FUEL SENDING UNIT

1шт.

7

1431 126 H1

SCREW, SELF-TAPPING

5шт.

8

1430 424 H91

FITTING, COMPRESSION

1шт.

9

1430 425 H1

TUBE, VENT

1шт.

10

299 401 C1

CLAMP, HOSE

1шт.

11

25 222 R1

BOLT

1шт.

|$14

25 542 R1

WASHER, FLAT

1шт.

|$15

25 519 R1

NUT, HEX

1шт.

12

08034-20519

STRAP, TIE

1шт.

13

48 192

PLUG, TANK DRAIN

1шт.

14

1432 438 H1

STRAINER, FUEL

1шт.

15

1436 940 H91

STRAP

2шт.

|$20

25 534 R1

WASHER, FLAT

4шт.

|$21

21 622 R1

NUT, LOCK

4шт.

16

142 227

WEBBING

2шт.

17

STRIP, ANTISQUEAK - 26.7 IN

2шт.

18

1436 911 H91

BRACKET, TANK SUPPORT

2шт.

19

62 953

STUD

4шт.

20

24 862 R1

BOLT

4шт.

|$27

28 423 R1

WASHER, FLAT

8шт.

|$28

25 526 R1

NUT, HEX

8шт.

N/I

104 696

ADHESIVE - 1 QT CAN

-2шт.

|$33

-1шт.

|$31

F1 - CUT TO LENGTH FROM THE FOLLOWING:

-1шт.

|$32

139 895

NEOPRENE MOUNTING PAD - 16 FT

1шт.

Выбрано товаров: 33