Качественные детали и логистика
Оригинальные и аналоговые запчасти с доставкой по России, Казахстану и Беларуси
©2022 PartSell ООО "Система" ИНН 2463123282 ОГРН 1212400004838
Центральный офис: г. Красноярск, Академика Киренского, д.87, пом.4
Телефон: 8 (800) 777-65-74 Email: zakaz@partsell.ru
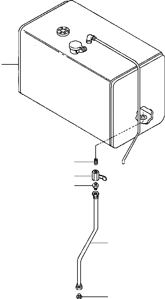
ТОПЛИВН. БАК. ДРЕНАЖНЫЕ ПАТРУБКИ
№
Артикул
Название
Примечание
Количество
1
TANK, FUEL (SEE PG 12-020)
-29шт.
2
83 078
NIPPLE, PIPE
1шт.
3
120 579 H45
VALVE, DRAIN
4
36 332
CONNECTOR
5
154 034
HOSE
6
9403 333
PLUG, TUBE
|$6
935 522 C1
STRAP, TIE
3шт.
Выбрано товаров: 0