Запчасти Komatsu GD530A КАПОТ TOP SUPERSTRUCTURE

Схема запчастей Komatsu GD530A - КАПОТ TOP SUPERSTRUCTURE
1
3
2
4
5
2
3
FIT
1:1
100%

Артикул

Название

Примечание

Количество

|$0

1436 010 H91

HOOD INSTALLATION

1шт.

|$1

1436 670 H91

HOOD INSTALLATION

1шт.

|$2

1436 009 H92

HOOD WELDMENT

1шт.

|$3

1436 669 H92

HOOD WELDMENT

1шт.

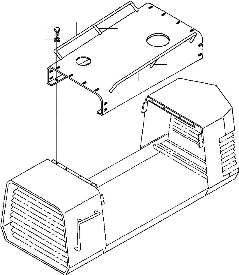
1

NSS

HOOD

1шт.

2

1250 695 H1

TUBE

2шт.

3

1279 451 H1

HOLD, HAND

2шт.

4

26 309 R1

BOLT

16шт.

5

25 896 R1

WASHER, FLAT

16шт.

|$11

-1шт.

|$10

-1шт.

Выбрано товаров: 11