Запчасти Komatsu GD530A СДВОЕНН. ЗАДН. КРЫЛОS .- ИЛИ .- ШИНЫ SUPERSTRUCTURE

Схема запчастей Komatsu GD530A - СДВОЕНН. ЗАДН. КРЫЛОS .- ИЛИ .- ШИНЫ SUPERSTRUCTURE
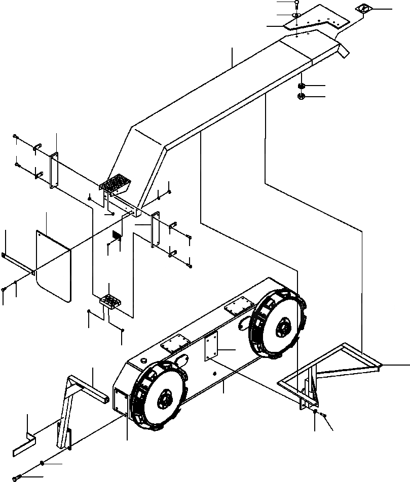
14
18
15
13
19
16
17
8
6
7
3
2
3
5
3
4
8
7
6
26
25
9
2
1
3
23
3
21
20
27
22
10
12
24
12
11
FIT
1:1
100%

Артикул

Название

Примечание

Количество

|$0

1435 174 H91

FENDER INSTALLATION, REAR

1шт.

1

24 840 R1

BOLT

4шт.

2

390 305 C1

WASHER, FLAT

8шт.

3

359 783 C1

NUT, LOCK

20шт.

4

1433 567 H1

BAR, MUDFLAP BACKUP

2шт.

5

1433 552 H1

MUDFLAP

2шт.

6

24 842 R1

BOLT

16шт.

7

1285 766 H1

BRACKET, STEP MOUNTING - 4.29 IN

8шт.

N/I

1437 283 H1

WASHER, ROUND

16шт.

8

1285 769 H1

HANGER, STEP

4шт.

9

1433 541 H1

STEP, LOWER

2шт.

10

24 862 R1

BOLT

8шт.

11

24 861 R1

BOLT

8шт.

12

25 555 R1

WASHER, FLAT

16шт.

13

1433 897 H1

FLAP, RUBBER

2шт.

14

550 796 R1

BOLT, CARRIAGE

12шт.

15

130 999

WASHER, FLAT

12шт.

16

390 305 C1

WASHER, FLAT

12шт.

17

359 783

NUT, LOCK

12шт.

18

1433 944 H1

DECAL - NO STEP

2шт.

19

1436 990 H91

FENDER WELDMENT - R.H

1шт.

|$21

1436 991 H91

FENDER WELDMENT - L.H

1шт.

20

1435 081 H91

SUPPORT WELDMENT, FENDER

1шт.

21

1433 553 H91

SUPPORT WELDMENT, FENDER - R.H

1шт.

|$24

1433 554 H91

SUPPORT WELDMENT, FENDER - L.H

1шт.

22

1433 555 H1

BRACKET, FENDER SUPPORT

2шт.

|$26

1437 069 H91

CASE REWORK, TANDEM - R.H

1шт.

|$27

1437 070 H91

CASE REWORK, TANDEM - L.H

1шт.

23

1437 052 H1

PLATE, FENDER MOUNTING - SIDE

1шт.

24

1434 160 H1

PLATE, FENDER MOUNTING - REAR

1шт.

N/I

159 907

KIT, LIQUID GASKET

1шт.

|$31

NSS

NO. 518 GASKET - 25 ML SYRINGE

1шт.

|$32

NSS

PRIMER N - 40 GRAM CAN

1шт.

25

27 614 R1

SCREW, SELF-TAPPING

4шт.

26

1433 406 H1

REFLECTOR - RED

2шт.

27

CASE, TANDEM (SEE PG 07-078)

-29шт.

27

CASE, TANDEM (SEE PG 07-074)

-29шт.

|$39

-1шт.

|$38

F1 - NOT SERVICED. REFERENCE ONLY.

-1шт.

|$40

-1шт.

Выбрано товаров: 40