Качественные детали и логистика
Оригинальные и аналоговые запчасти с доставкой по России, Казахстану и Беларуси
©2022 PartSell ООО "Система" ИНН 2463123282 ОГРН 1212400004838
Центральный офис: г. Красноярск, Академика Киренского, д.87, пом.4
Телефон: 8 (800) 777-65-74 Email: zakaz@partsell.ru
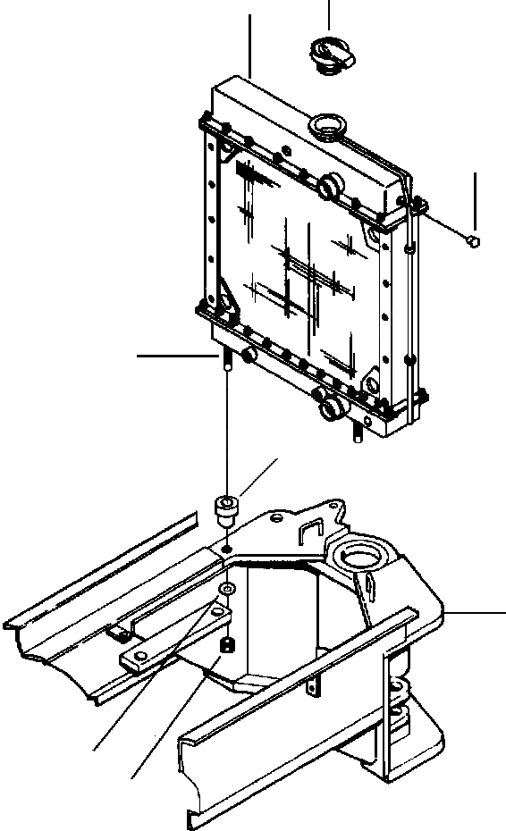
КРЕПЛЕНИЕ РАДИАТОРА
№
Артикул
Название
Примечание
Количество
1
RADIATOR/OIL COOLER (SEE PG 06-010)
-29шт.
2
CAP, RADIATOR
1шт.
3
GLASS, SIGHT
4
FRAME (SEE PG 09-002)
FRAME (SEE PG 09-004)
FRAME (SEE PG 09-006)
FRAME (SEE PG 09-008)
FRAME (SEE PG 09-010)
FRAME (SEE PG 09-012)
5
1437 241 H1
STUD
2шт.
6
124 813
MOUNT, RUBBER
7
113 977
WASHER, FLAT
8
9412 230
NUT, LOCK
Выбрано товаров: 0