Запчасти Komatsu GD530A A CONVERTER УСТАНОВКА V - V ЭЛЕКТР.

Схема запчастей Komatsu GD530A - A CONVERTER УСТАНОВКА V - V ЭЛЕКТР.
10
9
15
13
14
1
11
9
2
21
12
5
3
1
4
22
8
7
22
7
6
20
19
22
16
18
17
FIT
1:1
100%

Артикул

Название

Примечание

Количество

|$0

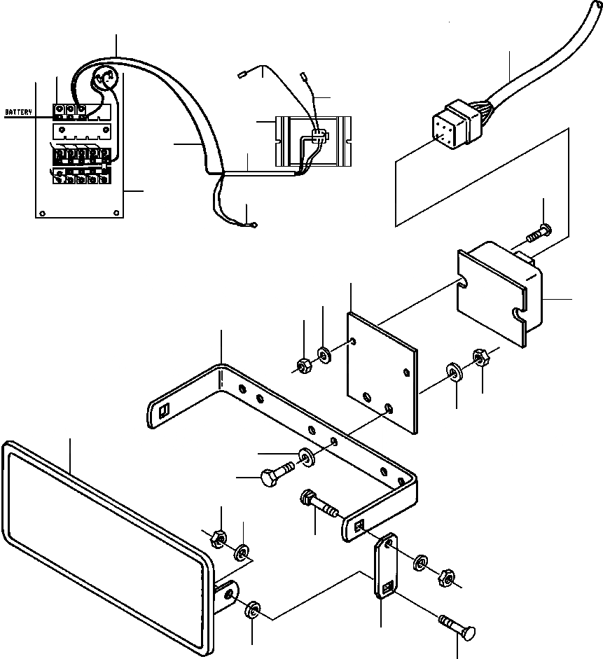
1433 939 H91

CONVERTER INSTALLATION - 5 A

1шт.

1

1432 494 H91

CONVERTER, 24 V TO 12 V

1шт.

2

82 842

SCREW, MACHINE

2шт.

3

57 226

WASHER, LOCK

2шт.

4

66 475

NUT, HEX

2шт.

5

1433 943 H1

PLATE, CONVERTER MOUNTING

1шт.

6

24 840 R1

BOLT

2шт.

7

25 534 R1

WASHER, FLAT

4шт.

8

25 522 R1

NUT, HEX

2шт.

9

1433 938 H92

HARNESS, CONVERTER WIRING

1шт.

10

NSS

WIRE 65S - SWITCHED

1шт.

11

NSS

WIRE 65C - HOT

1шт.

12

NSS

GROUND WIRE - TO CAB FLOOR

1шт.

13

NSS

WIRE 65M - MEMORY

1шт.

14

NSS

WIRE 65A - POWER

1шт.

15

1432 613 H1

BREAKER, CIRCUIT - 5 A

1шт.

|$16

1106 459 C1

BAR, BUSS

1шт.

16

1431 315 H1

BRACKET

2шт.

17

465 567 R1

BOLT, CARRIAGE

2шт.

18

25 546 R1

WASHER, FLAT

2шт.

19

120 396

WASHER, FLAT

2шт.

20

359 787 C1

NUT, HEX

2шт.

21

PANEL, CONSOLE SWITCH (SEE PG 11-002)

-29шт.

22

MIRROR INSTALLATION (SEE PG 13-162)

-29шт.

N/I

1434 023 H1

SEALANT, ELECTRIC

1шт.

|$27

-1шт.

|$26

F1 - APPLY TO TERMINALS: FILL FEMALE CONNECTORS ONE-HALF FULL.

-1шт.

|$28

-1шт.

Выбрано товаров: 28