Запчасти Komatsu GD530A УКЛОН. КОЛЕСА ЦИЛИНДР ЛИНИЯ АКТУАТОРАS ГИДРАВЛS

Схема запчастей Komatsu GD530A - УКЛОН. КОЛЕСА ЦИЛИНДР ЛИНИЯ АКТУАТОРАS ГИДРАВЛS
4
6
7
7
8
9
10
7
6
11
3
12
2
1
5
11
13
14
15
10
13
14
FIT
1:1
100%

Артикул

Название

Примечание

Количество

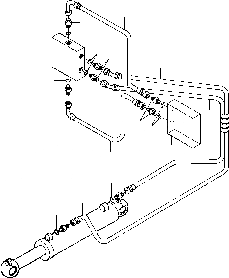
1

VALVE, LEANING WHEEL CYLINDER (SEE PG 10-154)

-29шт.

2

570 828 R1

O-RING

2шт.

3

9410 203

CONNECTOR

2шт.

4

1253 470 H1

HOSE

1шт.

5

1253 057 H1

HOSE

1шт.

6

9410 203

CONNECTOR

2шт.

7

570 828 R1

O-RING

4шт.

8

VALVE, DUAL PILOT CHECK (SEE PG 10-158)

-29шт.

9

587 639 R1

CONNECTOR, REDUCING

2шт.

10

1257 910 H1

HOSE

1шт.

11

1253 061 H1

HOSE

1шт.

12

161 496

SLEEVE

1шт.

13

935 433 R1

CONNECTOR, REDUCING

2шт.

14

364 885 R1

O-RING

2шт.

15

CYLINDER, LEANING WHEEL (SEE PG 10-184)

-29шт.

Выбрано товаров: 15