Запчасти Komatsu GD530A ДВОЙН. COUNTERBALANCE КЛАПАН ARTICULATION И СЦЕПНОЕ УСТРОЙСТВО SHIFT ГИДРАВЛS

Схема запчастей Komatsu GD530A - ДВОЙН. COUNTERBALANCE КЛАПАН ARTICULATION И СЦЕПНОЕ УСТРОЙСТВО SHIFT ГИДРАВЛS
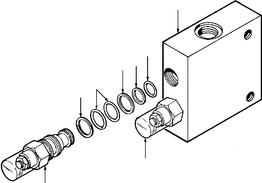
1
7
6
5
4
3
2
2
FIT
1:1
100%

Артикул

Название

Примечание

Количество

|$0

1252 159 H91

VALVE, DUAL COUNTERBALANCE

2шт.

1

NSS

BLOCK, VALVE

1шт.

2

1257 986 H1

CARTRIDGE, COUNTERBALANCE

2шт.

|$3

1257 988 H1

KIT, SEAL

1шт.

3

NSS

RING, BACKUP

1шт.

4

NSS

O-RING

2шт.

5

NSS

RING, BACKUP

1шт.

6

NSS

RING, BACKUP

1шт.

7

NSS

O-RING

1шт.

Выбрано товаров: 9