Запчасти Komatsu GD530A 9 GALLON ТОПЛИВН. БАК. POWER

Схема запчастей Komatsu GD530A - 9 GALLON ТОПЛИВН. БАК. POWER
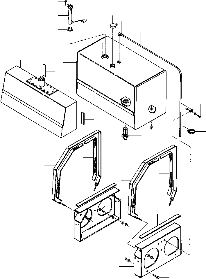
7
4
5
8
9
6
1
3
2
10
11
2
12
14
16
15
16
15
17
20
17
18
19
18
20
13
FIT
1:1
100%

Артикул

Название

Примечание

Количество

1

TANK NON-AWD, HYDRAULIC OIL (SEE PG 10-208)

a

-29шт.

|$1

TANK AWD, HYDRAULIC OIL (SEE PG 10-210)

b

-29шт.

2

STRIP, ANTISQUEAK - 6 IN

2шт.

3

1436 897 H91

TANK, FUEL

1шт.

4

1437 319 H1

CAP, FUEL TANK

1шт.

5

55 845 C

SENDING UNIT, FUEL TANK

1шт.

6

29 362

GASKET, FUEL SENDING UNIT

1шт.

7

1431 126 H1

SCREW, SELF-TAPPING

5шт.

8

1430 424 H91

FITTING, COMPRESSION

1шт.

9

1430 425 H1

TUBE, VENT

1шт.

10

299 401 C1

CLAMP, HOSE

1шт.

11

25 222 R1

BOLT

1шт.

|$12

25 542 R1

WASHER, FLAT

1шт.

|$13

25 519 R1

NUT, HEX

1шт.

12

149 880

STRAP, TIE

1шт.

13

48 192

PLUG, TANK DRAIN

1шт.

14

1432 438 H1

STRAINER, FUEL

1шт.

15

1436 940 H91

STRAP

2шт.

|$18

25 534 R1

WASHER, FLAT

4шт.

|$19

21 622 R1

NUT, LOCK

4шт.

16

142 227

WEBBING

2шт.

17

STRIP, ANTISQUEAK - 26.7 IN

2шт.

18

1436 911 H91

BRACKET, TANK SUPPORT

2шт.

19

62 953

STUD

4шт.

20

24 862 R1

BOLT

4шт.

|$25

28 423 R1

WASHER, FLAT

8шт.

|$26

25 526 R1

NUT, HEX

8шт.

|$30

-1шт.

|$28

F1 - CUT TO LENGTH FROM THE FOLLOWING:

-1шт.

|$29

139 895

NEOPRENE MOUNTING PAD - 16 FT

1шт.

Выбрано товаров: 30