Запчасти Komatsu GD530A ОМЫВАТЕЛЬ СТЕКЛА НИЖН. ПЕРЕДН. ОКНАS SUPERSTRUCTURE

Схема запчастей Komatsu GD530A - ОМЫВАТЕЛЬ СТЕКЛА НИЖН. ПЕРЕДН. ОКНАS SUPERSTRUCTURE
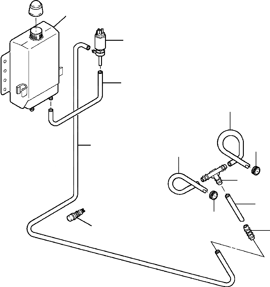
1
3
2
7
4
8
7
6
4
8
9
5
FIT
1:1
100%

Артикул

Название

Примечание

Количество

1

1250 358 H1

TANK, WINDOW WASHER

1шт.

2

940 455 C2

HOSE - 7 IN

1шт.

3

1212 589 H1

PUMP

1шт.

4

940 455 C2

HOSE - 110 IN

1шт.

|$4

1200 801 H1

CLIP, HOSE

2шт.

5

1277 931 H1

VALVE, CHECK

1шт.

6

1434 609 H1

TEE

1шт.

7

1200 802 H1

HOSE

2шт.

8

187 540

GROMMET

2шт.

9

SWITCH, WIPER/WASHER (SEE PG 11-002)

-29шт.

|$16

-1шт.

|$11

F1 - MAKE FROM:

-1шт.

|$12

940 455 C2 (0.312 IN. O.D. x 50 FT.) AND CUT TO LENGTH DESIRED

-1шт.

|$17

-1шт.

|$14

F2 - MAKE FROM:

-1шт.

|$15

1200 802 H1 (0.27 IN. O.D. x 50 FT.) AND CUT TO LENGTH DESIRED

-1шт.

Выбрано товаров: 16