Качественные детали и логистика
Оригинальные и аналоговые запчасти с доставкой по России, Казахстану и Беларуси
©2022 PartSell ООО "Система" ИНН 2463123282 ОГРН 1212400004838
Центральный офис: г. Красноярск, Академика Киренского, д.87, пом.4
Телефон: 8 (800) 777-65-74 Email: zakaz@partsell.ru
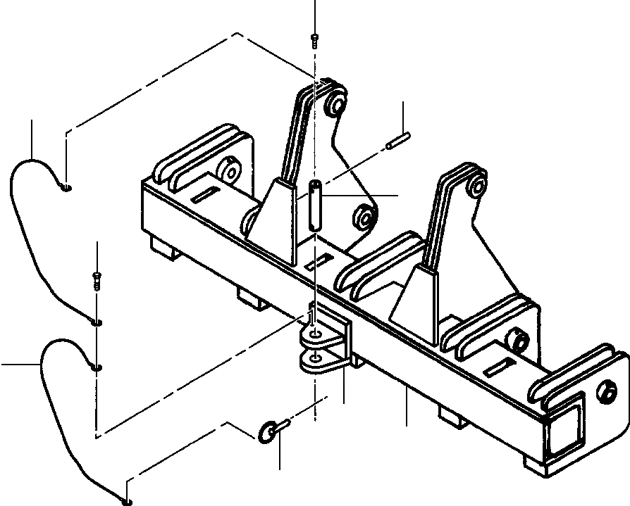
ЗАДН. СЦЕПКА С РЫХЛИТЕЛЕМ
№
Артикул
Название
Примечание
Количество
|$0
1433 092 H91
RIPPER HITCH PLATE INSTALLATION
-54шт.
1
1433 073 H1
LANYARD
2шт.
2
25 489 R1
BOLT
1шт.
|$3
25 532 R1
WASHER, FLAT
|$4
25 519 R1
NUT, HEX
3
25 752 R1
|$6
4
455 238 R1
PIN, ROLL
5
1432 695 H1
PIN, HITCH
6
1433 035 H1
PIN, SELF-LOCKING
7
1433 330 H91
PLATE WELDMENT, HITCH
8
BEAM, RIPPER (SEE PG 17-052)
-29шт.
Выбрано товаров: 0