Качественные детали и логистика
Оригинальные и аналоговые запчасти с доставкой по России, Казахстану и Беларуси
©2022 PartSell ООО "Система" ИНН 2463123282 ОГРН 1212400004838
Центральный офис: г. Красноярск, Академика Киренского, д.87, пом.4
Телефон: 8 (800) 777-65-74 Email: zakaz@partsell.ru
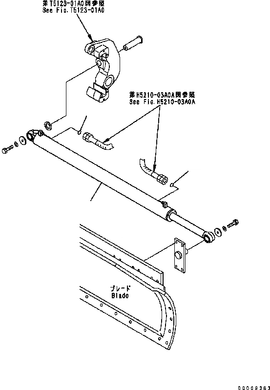
ОТВАЛ SHIFT ЦИЛИНДР
№
Артикул
Название
Примечание
Количество
1
707-00-07G00
CYLINDER ASS'Y {BLADE SIDE SHIFT}
SN: B15001-UP
1шт.
|1
707-00-0C140
CYLINDER ASS'Y
2
02896-11009
O-RING
2шт.
Выбрано товаров: 0