Запчасти Komatsu GD555-3C ДВИГАТЕЛЬ АКСЕССУАРЫ (УДАЛЕНН. ДРЕНАЖН.) КОМПОНЕНТЫ ДВИГАТЕЛЯ

Схема запчастей Komatsu GD555-3C - ДВИГАТЕЛЬ АКСЕССУАРЫ (УДАЛЕНН. ДРЕНАЖН.) КОМПОНЕНТЫ ДВИГАТЕЛЯ
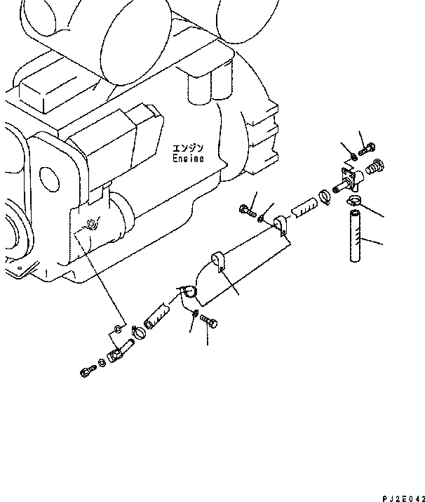
1
2
5
4
6
7
3
4
5
FIT
1:1
100%

Артикул

Название

Примечание

Количество

1

01010-81020

BOLT

SN: B15001-UP

2шт.

2

01643-31032

WASHER

SN: B15001-UP

2шт.

3

04434-53211

CLIP

SN: B15001-UP

3шт.

4

01010-81020

BOLT

SN: B15001-UP

3шт.

5

01643-31032

WASHER

SN: B15001-UP

3шт.

6

07260-22020

HOSE

SN: B15001-UP

1шт.

7

07281-00359

CLAMP {HOSE}

SN: B15001-UP

1шт.

Выбрано товаров: 7