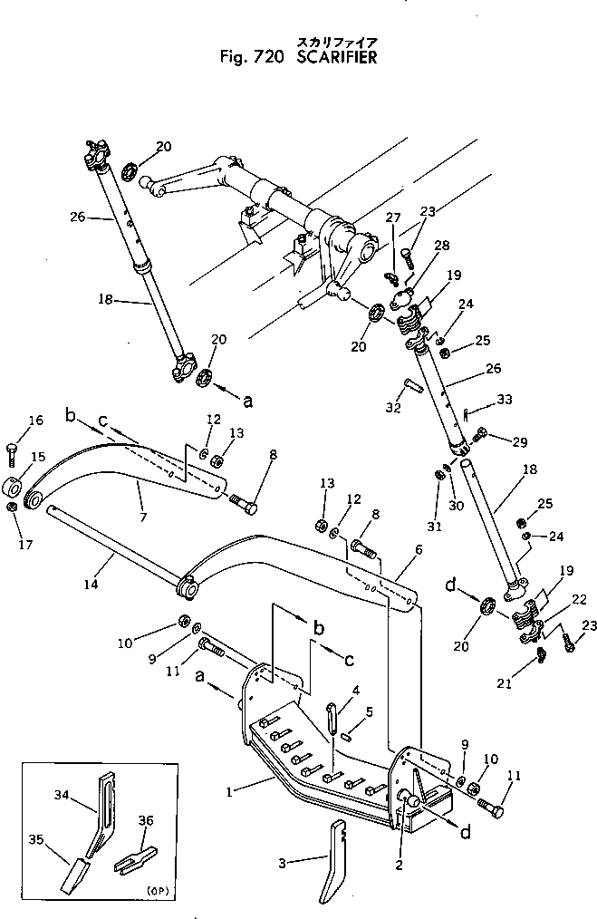
Запчасти Komatsu GD600R-1 SCARIFIER РАБОЧЕЕ ОБОРУДОВАНИЕ

Схема запчастей Komatsu GD600R-1 - SCARIFIER РАБОЧЕЕ ОБОРУДОВАНИЕ
FIT
1:1
100%

Артикул

Название

Примечание

Количество

|$0

232-71-00400

SCARIFIER ASS'Y

SN: 10002-UP

1шт.

1

232-71-51110

BODY

SN: 10002-UP

1шт.

2

232-71-51190

STUD

SN: 10002-UP

2шт.

3

09271-00045

TOOTH

SN: 10002-UP

11шт.

4

232-70-13140

WEDGE

SN: 10002-UP

11шт.

5

04050-06050

PIN

SN: 10002-UP

11шт.

6

232-71-51120

ROD

SN: 10002-UP

1шт.

7

232-71-51130

ROD

SN: 10002-UP

1шт.

8

232-70-13172

BOLT

SN: 10002-UP

2шт.

9

01643-32780

WASHER

SN: 10002-UP

2шт.

10

01580-02722

NUT

SN: 10002-UP

2шт.

11

01010-62490

BOLT

SN: 10002-UP

2шт.

12

01643-32460

WASHER

SN: 10002-UP

2шт.

13

01580-02419

NUT

SN: 10002-UP

2шт.

14

232-70-13190

SHAFT

SN: 10002-UP

1шт.

15

232-70-13210

COLLAR

SN: 10002-UP

2шт.

16

01011-31400

BOLT

SN: 10002-UP

2шт.

17

01598-11415

NUT

SN: 10002-UP

2шт.

18

232-71-51140

ROD

SN: 10002-UP

2шт.

19

232-71-00410

SHIM ASS'Y

SN: 10002-UP

4шт.

19

0

SHIM, 0.5MM

SN: 10002-UP

1шт.

19

0

SHIM, 0.2MM

SN: 10002-UP

2шт.

20

07141-00070

SEAL

SN: 10002-UP

4шт.

21

07020-00000

FITTING

SN: 10002-UP

2шт.

22

232-71-51160

CAP

SN: 10002-UP

2шт.

23

01010-31665

BOLT

SN: 10002-UP

8шт.

24

01602-01648

WASHER

SN: 10002-UP

8шт.

25

01580-01613

NUT

SN: 10002-UP

8шт.

26

232-71-51150

PIPE

SN: 10002-UP

2шт.

27

07020-00675

FITTING

SN: 10002-UP

2шт.

28

07138-00760

CAP

SN: 10002-UP

2шт.

29

01010-31680

BOLT

SN: 10002-UP

2шт.

30

01602-01648

WASHER

SN: 10002-UP

2шт.

31

01580-01613

NUT

SN: 10002-UP

2шт.

|$34

232-70-00121

PIN ASS'Y

SN: 10002-UP

2шт.

32

232-70-13361

PIN

SN: 10002-UP

1шт.

33

232-70-13440

PIN

SN: 10002-UP

1шт.

34

232-71-51310

SHANK

SN: 10002-UP

11шт.

35

232-71-51320

TOOTH

SN: 10002-UP

11шт.

36

232-71-51330

TOOL

SN: 10002-UP

1шт.

Выбрано товаров: 40