Запчасти Komatsu GD600R-1 CAR ОХЛАДИТЕЛЬ КРЕПЛЕНИЕ¤ ПЕРЕДН. ОПЦИОННЫЕ КОМПОНЕНТЫ

Схема запчастей Komatsu GD600R-1 - CAR ОХЛАДИТЕЛЬ КРЕПЛЕНИЕ¤ ПЕРЕДН. ОПЦИОННЫЕ КОМПОНЕНТЫ
FIT
1:1
100%

Артикул

Название

Примечание

Количество

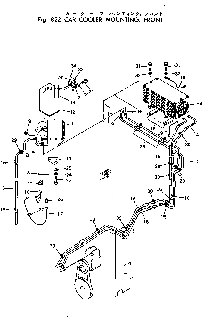
1

232-809-2200

COOLING UNIT,(SEE FIG.824)

SN: 10002-UP

1шт.

2

232-809-1680

PANEL

SN: 10002-UP

1шт.

3

232-809-2400

CONDENSER UNIT,(SEE FIG.825)

SN: 10002-UP

1шт.

4

232-809-3230

HOSE

SN: 10002-UP

1шт.

5

232-809-1510

HOSE

SN: 10002-UP

1шт.

6

232-809-1660

ELBOW

SN: 10002-UP

1шт.

7

232-809-1590

RELAY

SN: 10002-UP

1шт.

8

232-809-1570

TAPE

SN: 10002-UP

3шт.

9

232-809-1690

HARNESS

SN: 10002-UP

1шт.

10

232-809-1610

HARNESS

SN: 10002-UP

1шт.

11

232-809-3260

HOSE

SN: 10002-UP

1шт.

|$11

232-809-3110

STEEL CAB,(MODIFIED PARTS) (NOT SHOWN)

SN: 10002-UP

1шт.

12

232-809-1350

PLATE (WELDED)

SN: 10002-UP

1шт.

13

232-809-1340

PLATE (WELDED)

SN: 10002-UP

2шт.

14

232-809-1330

BRACKET (WELDED)

SN: 10002-UP

1шт.

15

232-809-1391

PLATE (WELDED)

SN: 10002-UP

2шт.

16

565-44-13250

CLIP (WELDED)

SN: 10002-UP

8шт.

17

232-809-1290

CABLE

SN: 10002-UP

1шт.

18

232-809-1950

CABLE

SN: 10002-UP

1шт.

19

232-809-1970

CABLE

SN: 10002-UP

1шт.

20

232-809-2150

PLATE,(ARABIC)

SN: 10002-UP

1шт.

21

01220-40410

SCREW

SN: 10002-UP

2шт.

22

01601-20410

WASHER

SN: 10002-UP

2шт.

23

01010-50816

BOLT

SN: 10002-UP

4шт.

24

01602-20825

WASHER

SN: 10002-UP

4шт.

25

01640-20816

WASHER

SN: 10002-UP

4шт.

26

08048-02000

FUSE

SN: 10002-UP

1шт.

27

232-856-5250

CLIP

SN: 10002-UP

5шт.

28

08034-00834

BAND

SN: 10002-UP

4шт.

29

08037-02312

GROMMET

SN: 10002-UP

3шт.

30

08034-00519

BAND

SN: 10002-UP

8шт.

31

01010-50820

BOLT

SN: 10002-UP

4шт.

32

01602-20823

WASHER

SN: 10002-UP

4шт.

33

232-809-2160

PLATE,(ARABIC)

SN: 10002-UP

1шт.

34

232-809-2170

PLATE,(ARABIC)

SN: 10002-UP

1шт.

Выбрано товаров: 0