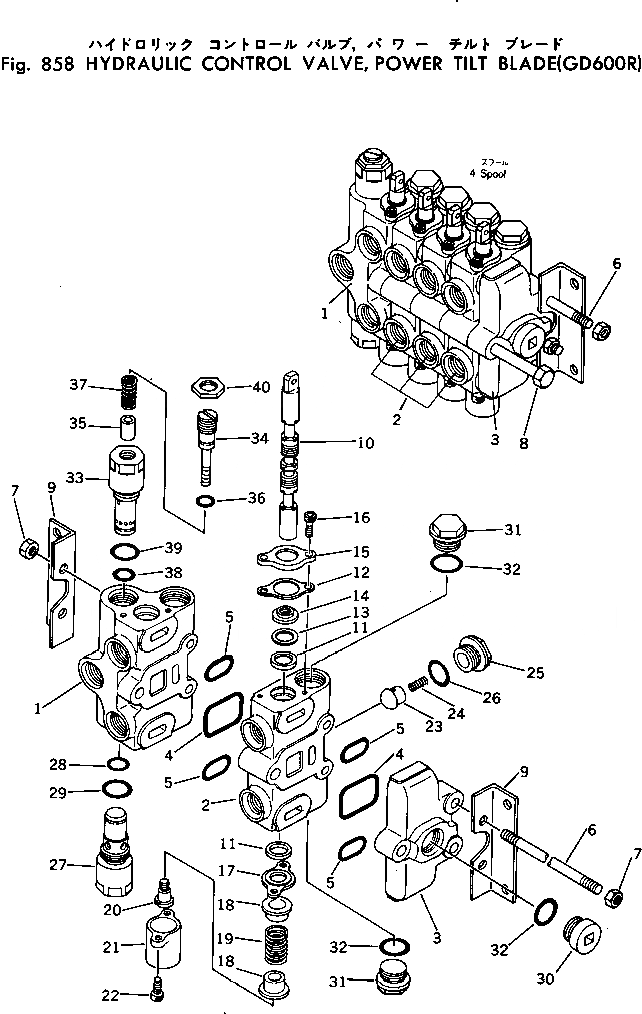
Запчасти Komatsu GD600R-1 ГИДРАВЛ УПРАВЛЯЮЩ. КЛАПАН¤ НАКЛОНЯЕМ. ОТВАЛ ОПЦИОННЫЕ КОМПОНЕНТЫ

Схема запчастей Komatsu GD600R-1 - ГИДРАВЛ УПРАВЛЯЮЩ. КЛАПАН¤ НАКЛОНЯЕМ. ОТВАЛ ОПЦИОННЫЕ КОМПОНЕНТЫ
FIT
1:1
100%

Артикул

Название

Примечание

Количество

|$0

232-735-0010

BLADE ASS'Y,POWER TILT

SN: 10002-UP

1шт.

|$1

700-24-18000

VALVE ASS'Y

SN: 10002-UP

1шт.

1

0

BODY

SN: 10002-UP

1шт.

2

0

BLOCK

SN: 10002-UP

3шт.

3

0

COVER

SN: 10002-UP

1шт.

4

0

O-RING

SN: 10002-UP

4шт.

5

0

O-RING

SN: 10002-UP

8шт.

6

700-24-11111

STUD

SN: 10002-UP

2шт.

7

01580-10806

NUT

SN: 10002-UP

4шт.

8

700-24-11120

BOLT

SN: 10002-UP

1шт.

9

700-22-11220

ANGLE

SN: 10002-UP

2шт.

10

0

SPOOL

SN: 10002-UP

4шт.

11

700-22-11251

U-PACKING

SN: 10002-UP

8шт.

12

700-22-11420

GASKET

SN: 10002-UP

8шт.

13

700-22-11430

COLLAR

SN: 10002-UP

4шт.

14

700-22-11261

SEAL

SN: 10002-UP

4шт.

15

700-22-11270

PLATE

SN: 10002-UP

4шт.

16

01252-40616

BOLT

SN: 10002-UP

8шт.

17

700-22-11281

PLATE

SN: 10002-UP

4шт.

18

700-22-11290

RETAINER

SN: 10002-UP

8шт.

19

700-22-11831

SPRING

SN: 10002-UP

4шт.

20

700-22-11320

PLUG

SN: 10002-UP

4шт.

21

700-22-11330

COVER

SN: 10002-UP

4шт.

22

01252-40616

BOLT

SN: 10002-UP

8шт.

23

700-22-11340

VALVE

SN: 10002-UP

4шт.

24

700-22-31210

SPRING

SN: 10002-UP

4шт.

25

700-22-11350

PLUG

SN: 10002-UP

4шт.

26

07002-12434

O-RING

SN: 10002-UP

4шт.

27

700-22-11380

PLUG

SN: 10002-UP

1шт.

28

07000-12014

O-RING

SN: 10002-UP

1шт.

29

07002-02434

O-RING

SN: 10002-UP

1шт.

30

07040-12414

PLUG

SN: 10002-UP

1шт.

31

700-22-11370

PLUG

SN: 10002-UP

8шт.

32

07002-02434

O-RING

SN: 10002-UP

9шт.

|$34

700-20-54000

VALVE ASS'Y

SN: 10002-UP

1шт.

33

0

SLEEVE

SN: 10002-UP

1шт.

34

0

POPPET

SN: 10002-UP

1шт.

35

0

PISTON

SN: 10002-UP

1шт.

36

07000-12014

O-RING

SN: 10002-UP

1шт.

37

0

SPRING

SN: 10002-UP

1шт.

38

07002-02434

O-RING

SN: 10002-UP

1шт.

39

0

O-RING

SN: 10002-UP

1шт.

40

0

NUT

SN: 10002-UP

1шт.

Выбрано товаров: 0