Запчасти Komatsu GD600R-1 ПОВОРОТН. ОТВАЛ Д/СНЕГА (/)(№-) ОПЦИОННЫЕ КОМПОНЕНТЫ

Схема запчастей Komatsu GD600R-1 - ПОВОРОТН. ОТВАЛ Д/СНЕГА (/)(№-) ОПЦИОННЫЕ КОМПОНЕНТЫ
FIT
1:1
100%

Артикул

Название

Примечание

Количество

|$0

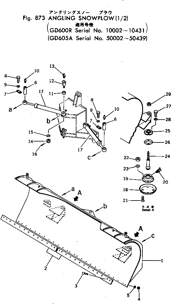
232-979-0200

SNOW PLOW ASS'Y

SN: 10002-10431

1шт.

1

232-979-2110

PLOW

SN: 10002-10431

1шт.

2

232-70-12143

EDGE

SN: 10002-@

2шт.

3

232-70-12450

BOLT

SN: 10002-@

16шт.

4

232-70-12480

NUT

SN: 10002-@

16шт.

5

01643-31645

WASHER

SN: 10002-@

16шт.

6

234-870-8130

PIN

SN: 10002-@

2шт.

7

04082-00212

LOCK

SN: 10002-@

2шт.

8

01010-51230

BOLT

SN: 10002-@

4шт.

9

01602-21236

WASHER

SN: 10002-@

4шт.

10

07020-00000

FITTING

SN: 10002-@

2шт.

11

234-870-8120

BUSHING

SN: 10002-@

2шт.

12

232-979-3140

PIN

SN: 10002-@

2шт.

13

07020-00675

FITTING

SN: 10002-@

2шт.

14

01590-12427

NUT

SN: 10002-@

2шт.

15

01640-22540

WASHER

SN: 10002-@

2шт.

16

04050-05045

PIN

SN: 10002-@

2шт.

17

232-63-86100

CYLINDER ASS'Y,(SEE FIG.877)

SN: 10002-@

2шт.

|$18

232-970-0122

SLED ASS'Y

SN: 10002-10431

2шт.

18

232-979-1360

SLED

SN: 10002-10431

1шт.

18

232-979-1370

PLATE

SN: 10002-10431

1шт.

19

232-970-5221

PLATE

SN: 10002-10431

1шт.

20

07020-00675

FITTING

SN: 10002-@

1шт.

21

232-70-12450

BOLT

SN: 10002-@

4шт.

22

232-70-12480

NUT

SN: 10002-@

4шт.

23

01643-31645

WASHER

SN: 10002-@

4шт.

24

232-970-5261

SHAFT

SN: 10002-10431

1шт.

25

232-970-5250

PLATE

SN: 10002-10431

1шт.

26

232-770-5230

SHIM

SN: 10002-10431

1шт.

27

01010-51035

BOLT

SN: 10002-@

4шт.

28

01602-21030

WASHER

SN: 10002-@

4шт.

29

01580-14838

NUT

SN: 10002-@

1шт.

Выбрано товаров: 32