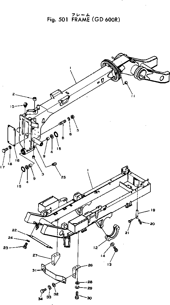
Запчасти Komatsu GD600R-1 РАМА РАМА И ЧАСТИ КОРПУСА

Схема запчастей Komatsu GD600R-1 - РАМА РАМА И ЧАСТИ КОРПУСА
FIT
1:1
100%

Артикул

Название

Примечание

Количество

|$0

232-46-00200

FRAME ASS'Y

SN: 10002-UP

1шт.

1

232-46-51100

FRAME

SN: 10002-UP

1шт.

2

232-46-51310

BUSHING

SN: 10002-UP

1шт.

3

232-46-51380

BUSHING

SN: 10002-UP

1шт.

4

234-46-11340

BUSHING

SN: 10002-UP

2шт.

5

01580-12419

NUT

SN: 10002-UP

4шт.

6

01602-22472

WASHER

SN: 10002-UP

4шт.

8

01124-82465

STUD

SN: 10002-UP

4шт.

9

234-46-11330

BUSHING

SN: 10002-UP

2шт.

10

07020-00900

FITTING

SN: 10002-UP

1шт.

11

07143-10503

BUSHING

SN: 10002-UP

1шт.

12

234-46-12490

COVER

SN: 10002-UP

2шт.

13

01011-83055

BOLT

SN: 10002-UP

4шт.

14

01643-33080

WASHER

SN: 10002-UP

4шт.

15

07000-15090

O-RING

SN: 10002-UP

2шт.

16

232-46-51350

PLATE

SN: 10002-UP

1шт.

17

01010-51220

BOLT

SN: 10002-UP

4шт.

18

01602-21236

WASHER

SN: 10002-UP

4шт.

19

232-46-51360

PIN

SN: 10002-UP

1шт.

20

04025-01065

PIN

SN: 10002-UP

1шт.

21

232-971-6480

PIN

SN: 10002-UP

1шт.

22

232-46-51390

PLATE

SN: 10002-UP

1шт.

23

01010-51240

BOLT

SN: 10002-UP

4шт.

24

01602-21236

WASHER

SN: 10002-UP

4шт.

25

07020-00000

FITTING

SN: 10002-UP

1шт.

26

232-46-52310

BRACKET

SN: 10002-UP

1шт.

27

232-46-52320

BRACKET

SN: 10002-UP

1шт.

28

01643-31645

WASHER

SN: 10002-UP

4шт.

29

01602-21648

WASHER

SN: 10002-UP

4шт.

30

01010-51640

BOLT

SN: 10002-UP

4шт.

31

232-46-11771

PROTECTOR

SN: 10002-UP

1шт.

32

232-43-58360

WASHER

SN: 10002-UP

4шт.

33

01602-21236

WASHER

SN: 10002-UP

4шт.

34

01010-51235

BOLT

SN: 10002-UP

4шт.

Выбрано товаров: 34