Запчасти Komatsu GD600R-1 ТОПЛИВН. БАК. КОМПОНЕНТЫ ДВИГАТЕЛЯ И ЭЛЕКТРИКА

Схема запчастей Komatsu GD600R-1 - ТОПЛИВН. БАК. КОМПОНЕНТЫ ДВИГАТЕЛЯ И ЭЛЕКТРИКА
FIT
1:1
100%

Артикул

Название

Примечание

Количество

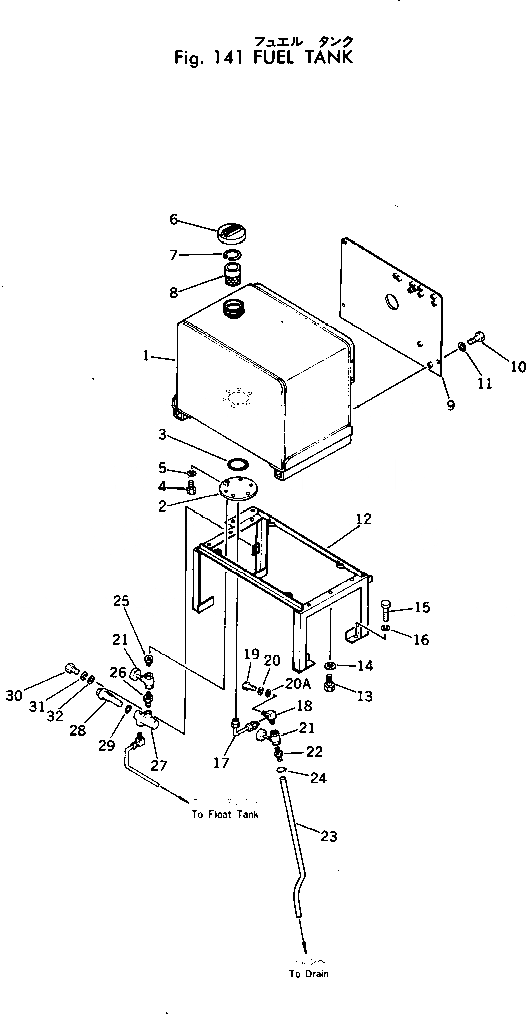
1

232-04-51110

TANK

SN: 10002-UP

1шт.

1

232-972-1910

TANK,(FOR SIDE WING)

SN: 10002-UP

1шт.

2

232-04-51170

FLANGE

SN: 10002-UP

1шт.

3

07000-13135

O-RING

SN: 10002-UP

1шт.

4

01010-51025

BOLT

SN: 10002-UP

6шт.

5

01602-21030

WASHER

SN: 10002-UP

6шт.

6

07050-21200

CAP

SN: 10002-UP

1шт.

7

07057-04087

RING

SN: 10002-UP

1шт.

8

07056-18416

STRAINER

SN: 10002-UP

1шт.

9

232-04-51140

PLATE

SN: 10002-UP

1шт.

9

232-972-1920

PLATE,(FOR SIDE WING)

SN: 10002-UP

1шт.

10

01010-51220

BOLT

SN: 10002-UP

4шт.

11

01602-21236

WASHER

SN: 10002-UP

4шт.

12

232-04-51132

BRACKET

SN: 10255-UP

1шт.

12

232-04-51131

BRACKET

SN: 10174-10254

1шт.

12

232-04-51130

BRACKET

SN: 10002-10173

1шт.

13

01010-51630

BOLT

SN: 10002-UP

6шт.

14

01643-31645

WASHER

SN: 10002-UP

6шт.

15

01010-51635

BOLT

SN: 10002-UP

4шт.

16

01602-21648

WASHER

SN: 10002-UP

4шт.

17

232-04-52140

PIPE

SN: 10002-UP

1шт.

18

232-04-52150

NIPPLE

SN: 10002-UP

1шт.

19

01010-50816

BOLT

SN: 10002-UP

1шт.

20

01602-20825

WASHER

SN: 10002-UP

1шт.

20A

01640-20816

WASHER

SN: 10016-UP

1шт.

21

07700-20504

VALVE

SN: 10002-UP

2шт.

22

141-04-31170

NIPPLE

SN: 10002-UP

1шт.

23

07270-01290

TUBE

SN: 10002-UP

1шт.

24

04059-01016

WIRE

SN: 10002-UP

1шт.

25

230-04-11190

NIPPLE

SN: 10002-UP

1шт.

26

154-04-11150

NIPPLE

SN: 10002-UP

1шт.

|$31

154-04-00073

STRAINER ASS'Y

SN: 10002-UP

1шт.

27

154-04-12510

CASE

SN: 10002-UP

1шт.

28

154-04-12531

STRAINER

SN: 10002-UP

1шт.

29

07000-13038

O-RING

SN: 10002-UP

1шт.

30

01010-50825

BOLT

SN: 10002-UP

2шт.

31

01602-20825

WASHER

SN: 10002-UP

2шт.

32

01640-20816

WASHER

SN: 10002-UP

2шт.

Выбрано товаров: 38