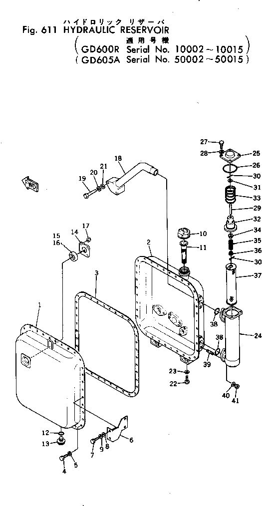
Запчасти Komatsu GD600R-1 ГИДРАВЛ РЕЗЕРВУАР(№-) ГИДРАВЛИКА

Схема запчастей Komatsu GD600R-1 - ГИДРАВЛ РЕЗЕРВУАР(№-) ГИДРАВЛИКА
FIT
1:1
100%

Артикул

Название

Примечание

Количество

|1

232-60-00300

RESERVOIR ASS'Y

SN: 10002-10015

1шт.

1

232-60-53110

TANK

SN: 10002-10015

1шт.

2

232-60-53120

TANK

SN: 10002-10015

1шт.

3

130-60-42180

GASKET (KIT)

SN: 10002-10015

1шт.

4

01010-51020

BOLT

SN: 10002-10015

34шт.

5

01602-21030

WASHER

SN: 10002-10015

34шт.

6

232-60-53140

PLATE

SN: 10002-10015

1шт.

7

01010-51030

BOLT

SN: 10002-10015

4шт.

8

01643-31032

WASHER

SN: 10002-10015

4шт.

9

01602-21030

WASHER

SN: 10002-10015

4шт.

10

101-60-13490

CAP

SN: 10002-@

1шт.

11

07056-10045

STRAINER

SN: 10002-@

1шт.

12

07002-12434

O-RING (KIT)

SN: 10002-@

1шт.

13

07044-12412

PLUG

SN: 10002-@

1шт.

14

07715-21074

CASE

SN: 10002-10015

1шт.

15

07715-11257

RING

SN: 10002-@

1шт.

16

07715-00651

COVER

SN: 10002-@

1шт.

17

01598-11011

NUT

SN: 10002-10015

4шт.

18

232-60-53130

TUBE

SN: 10002-10015

1шт.

19

01010-51275

BOLT

SN: 10002-10015

2шт.

20

01602-21236

WASHER

SN: 10002-10015

2шт.

21

01643-31232

WASHER

SN: 10002-10015

2шт.

22

01010-51235

BOLT

SN: 10002-10015

4шт.

23

01602-21236

WASHER

SN: 10002-10015

4шт.

|24

232-60-00310

FILTER ASS'Y

SN: 10002-@

1шт.

24

232-60-53210

HOUSING

SN: 10002-@

1шт.

25

130-60-42190

COVER

SN: 10002-@

1шт.

26

07000-03078

O-RING (KIT)

SN: 10002-@

1шт.

27

01010-51025

BOLT

SN: 10002-@

4шт.

28

01602-21030

WASHER

SN: 10002-@

4шт.

29

130-60-42310

ROD

SN: 10002-@

1шт.

30

04050-03015

PIN

SN: 10002-@

2шт.

31

130-60-42240

PLATE

SN: 10002-@

1шт.

32

130-60-42211

SEAT

SN: 10002-@

1шт.

33

111-60-13370

SPRING

SN: 10002-@

1шт.

34

130-60-42220

VALVE

SN: 10002-@

1шт.

35

130-60-42320

SPRING

SN: 10002-@

1шт.

36

130-60-42230

SEAT

SN: 10002-@

1шт.

37

130-60-48210

ELEMENT

SN: 10002-@

1шт.

38

07000-13035

O-RING (KIT)

SN: 10002-@

2шт.

39

01124-51025

STUD

SN: 10002-@

4шт.

40

01602-21030

WASHER

SN: 10002-@

4шт.

41

01580-11008

NUT

SN: 10002-@

4шт.

Выбрано товаров: 43