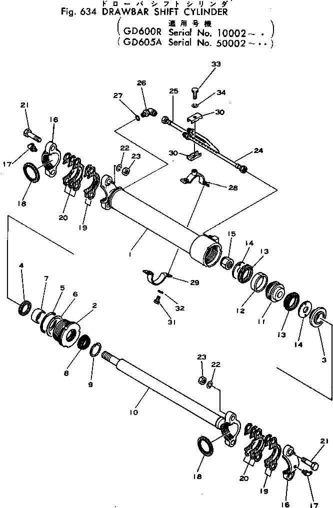
Запчасти Komatsu GD600R-1 СЦЕПНОЕ УСТРОЙСТВО SHIFT ЦИЛИНДР(№-.) ГИДРАВЛИКА

Схема запчастей Komatsu GD600R-1 - СЦЕПНОЕ УСТРОЙСТВО SHIFT ЦИЛИНДР(№-.) ГИДРАВЛИКА
FIT
1:1
100%

Артикул

Название

Примечание

Количество

|1

232-63-23100

CYLINDER ASS'Y

SN: 10002-.

1шт.

1

232-63-23140

CYLINDER

SN: 10002-@

1шт.

2

232-63-13130

HEAD

SN: 10002-@

1шт.

3

232-63-13230

RETAINER

SN: 10002-@

1шт.

4

236-63-62173

PACKING

SN: 10002-@

1шт.

5

07000-12095

O-RING

SN: 10002-@

1шт.

6

07001-02095

RING

SN: 10002-@

1шт.

7

07177-05030

BUSHING

SN: 10002-@

1шт.

8

07016-00507

SEAL

SN: 10002-@

1шт.

9

07179-00069

RING

SN: 10002-@

1шт.

10

232-63-23120

ROD

SN: 10002-@

1шт.

11

10E-63-56170

PISTON

SN: 10002-@

1шт.

12

07155-00820

RING

SN: 10002-@

1шт.

13

20R-63-56280

U-PACKING

SN: 10002-@

2шт.

14

111-63-99330

RETAINER

SN: 10002-@

2шт.

15

07165-13033

NUT

SN: 10002-@

1шт.

16

07138-00980

CAP

SN: 10002-@

2шт.

17

07020-00900

FITTING

SN: 10002-@

2шт.

18

07141-00090

SEAL

SN: 10002-@

2шт.

19

07139-00905

SHIM¤ 0.5MM

SN: 10002-@

4шт.

20

07139-00902

SHIM¤ 0.2MM

SN: 10002-@

6шт.

21

01010-52075

BOLT

SN: 10002-@

4шт.

22

01602-22060

WASHER

SN: 10002-@

4шт.

23

01580-12016

NUT

SN: 10002-@

4шт.

24

232-63-23180

TUBE

SN: 10002-@

1шт.

25

232-63-23190

TUBE

SN: 10002-@

1шт.

26

07235-10422

ELBOW

SN: 10002-@

1шт.

27

07002-12034

O-RING

SN: 10002-@

1шт.

28

232-63-23270

BAND

SN: 10002-.

1шт.

29

237-60-14670

CLAMP

SN: 10002-.

1шт.

30

232-60-58820

CLIP

SN: 10002-@

2шт.

31

01010-50830

BOLT

SN: 10002-.

2шт.

32

01602-20825

WASHER

SN: 10002-.

2шт.

33

01010-51045

BOLT

SN: 10002-@

1шт.

34

01602-21030

WASHER

SN: 10002-@

1шт.

Выбрано товаров: 35