Запчасти Komatsu NH-220-CI-2V - -

Схема запчастей Komatsu NH-220-CI-2V - - -
FIT
1:1
100%

Артикул

Название

Примечание

Количество

|1

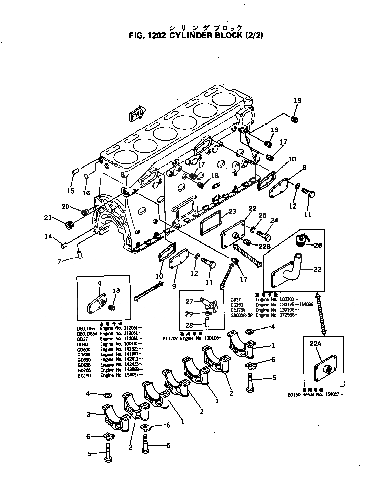
6643-21-1016

CYLINDER BLOCK

SN: .-UP

1шт.

|1

0

CYLINDER BLOCK

SN: 141402-.

1шт.

|1

6643-21-1026

CYLINDER BLOCK

SN: .-UP

1шт.

|1

0

CYLINDER BLOCK

SN: 141402-.

1шт.

1

6610-29-1210

CAP

SN: 141402-UP

3шт.

|1

0

CAP

SN: 141402-UP

3шт.

2

6610-29-1220

CAP

SN: 141402-UP

3шт.

|2

0

CAP

SN: 141402-UP

3шт.

3

6610-29-1231

CAP

SN: 141402-UP

1шт.

|3

0

CAP

SN: 141402-UP

1шт.

4

6610-21-1730

RING

SN: 141402-UP

7шт.

5

6610-21-1710

BOLT

SN: 141402-UP

14шт.

6

6610-21-1720

WASHER

SN: 141402-UP

14шт.

7

6610-21-1270

DOWEL

SN: 141402-UP

2шт.

|7

6610-29-1270

DOWEL PIN

SN: 141402-UP

2шт.

8

6631-21-6720

COVER

SN: .-UP

1шт.

|8

0

COVER

SN: 141402-.

1шт.

9

6693-22-6710

COVER

SN: 141402-UP

1шт.

10

6610-21-6720

GASKET

SN: 141402-UP

2шт.

11

02010-20419

BOLT

SN: 141402-UP

12шт.

12

02310-10916

WASHER

SN: 141402-UP

12шт.

13

02720-20607

PLUG

SN: 141402-UP

1шт.

14

6610-21-4570

DOWEL

SN: 141402-UP

2шт.

15

6610-21-2770

PIN

SN: 141402-UP

1шт.

16

6710-21-6130

PLUG

SN: .-UP

2шт.

|16

0

PLUG

SN: 141402-.

2шт.

17

02720-20607

PLUG

SN: 141402-UP

3шт.

18

02720-21214

PLUG

SN: 141402-UP

1шт.

19

02720-20810

PLUG

SN: 141402-UP

2шт.

20

02720-20607

PLUG

SN: 141402-UP

1шт.

21

6710-21-1260

PLUG

SN: .-UP

1шт.

|21

0

PLUG

SN: 141402-.

1шт.

22

6691-22-6760

COVER

SN: ..-UP

1шт.

|22

6643-21-6761

BRACKET

SN: 141402-..

1шт.

22B

02720-20607

PLUG

SN: 141402-UP

1шт.

23

6623-21-6770

GASKET

SN: 141402-UP

1шт.

24

02010-70625

BOLT

SN: 141402-UP

4шт.

25

02310-11224

WASHER

SN: 141402-UP

4шт.

|1

6643-21-1016

CYLINDER BLOCK

SN: .-UP

1шт.

|1

0

CYLINDER BLOCK

SN: 141402-.

1шт.

|1

6643-21-1026

CYLINDER BLOCK

SN: .-UP

1шт.

|1

0

CYLINDER BLOCK

SN: 141402-.

1шт.

1

6610-29-1210

CAP

SN: 141402-UP

3шт.

|1

0

CAP

SN: 141402-UP

3шт.

2

6610-29-1220

CAP

SN: 141402-UP

3шт.

|2

0

CAP

SN: 141402-UP

3шт.

3

6610-29-1231

CAP

SN: 141402-UP

1шт.

|3

0

CAP

SN: 141402-UP

1шт.

4

6610-21-1730

RING

SN: 141402-UP

7шт.

5

6610-21-1710

BOLT

SN: 141402-UP

14шт.

6

6610-21-1720

WASHER

SN: 141402-UP

14шт.

7

6610-21-1270

DOWEL

SN: 141402-UP

2шт.

|7

6610-29-1270

DOWEL PIN

SN: 141402-UP

2шт.

8

6631-21-6720

COVER

SN: .-UP

1шт.

|8

0

COVER

SN: 141402-.

1шт.

9

6693-22-6710

COVER

SN: 141402-UP

1шт.

10

6610-21-6720

GASKET

SN: 141402-UP

2шт.

11

02010-20419

BOLT

SN: 141402-UP

12шт.

12

02310-10916

WASHER

SN: 141402-UP

12шт.

13

02720-20607

PLUG

SN: 141402-UP

1шт.

14

6610-21-4570

DOWEL

SN: 141402-UP

2шт.

15

6610-21-2770

PIN

SN: 141402-UP

1шт.

16

6710-21-6130

PLUG

SN: .-UP

2шт.

|16

0

PLUG

SN: 141402-.

2шт.

17

02720-20607

PLUG

SN: 141402-UP

3шт.

18

02720-21214

PLUG

SN: 141402-UP

1шт.

19

02720-20810

PLUG

SN: 141402-UP

2шт.

20

02720-20607

PLUG

SN: 141402-UP

1шт.

21

6710-21-1260

PLUG

SN: .-UP

1шт.

|21

0

PLUG

SN: 141402-.

1шт.

22

6691-22-6760

COVER

SN: ..-UP

1шт.

|22

6643-21-6761

BRACKET

SN: 141402-..

1шт.

22B

02720-20607

PLUG

SN: 141402-UP

1шт.

23

6623-21-6770

GASKET

SN: 141402-UP

1шт.

24

02010-70625

BOLT

SN: 141402-UP

4шт.

25

02310-11224

WASHER

SN: 141402-UP

4шт.

Выбрано товаров: 76