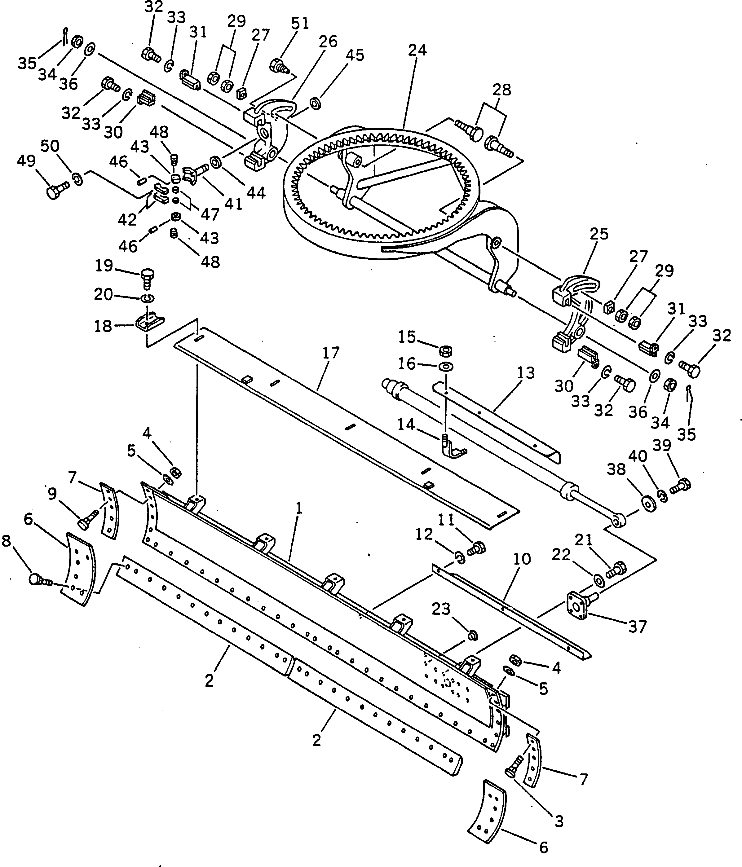
Запчасти Komatsu GD600R-3 ОТВАЛ И КОЛЬЦЕВ.РЕВЕРС СУППОРТ РАБОЧЕЕ ОБОРУДОВАНИЕ

Схема запчастей Komatsu GD600R-3 - ОТВАЛ И КОЛЬЦЕВ.РЕВЕРС СУППОРТ РАБОЧЕЕ ОБОРУДОВАНИЕ
FIT
1:1
100%

Артикул

Название

Примечание

Количество

|$$1

FOR 3.7M BLADE

-1шт.

|$1

232-70-00500

BLADE ASS'Y

SN: 14001-UP

1шт.

1

232-70-52111

BLADE

SN: 14001-UP

1шт.

1

238-70-12310

RAIL,LOWER

SN: 14001-UP

1шт.

1

238-70-12320

RAIL,UPPER

SN: 14001-UP

1шт.

2

232-70-12143

EDGE

SN: 14001-UP

2шт.

2

232-70-52970

EDGE, 16MM,WIDE

SN: 14001-UP

2шт.

2

232-70-52940

EDGE, 16MM,WIDE, CURVED (HARDENING)

SN: 14001-UP

2шт.

2

232-70-52950

EDGE, 19MM,WIDE, CURVED (HARDENING)

SN: 14001-UP

2шт.

2

232-70-12650

EDGE, 13MM,WIDE, CURVED (NON HARDENING)

SN: 14001-UP

2шт.

2

232-70-12651

EDGE, 16MM,WIDE, CURVED (NON HARDENING)

SN: 14001-UP

2шт.

2

232-70-52960

EDGE, 19MM,WIDE, CURVED (NON HARDENING)

SN: 14001-UP

2шт.

3

232-70-12450

BOLT

SN: 14001-UP

24шт.

3

232-70-12450

BOLT,(FOR EDGE 13MM, 16MM)

SN: 14001-UP

12шт.

4

232-70-12480

NUT

SN: 14001-UP

36шт.

4

232-70-12480

NUT,(FOR EDGE 13MM, 16MM)

SN: 14001-UP

24шт.

5

01643-31645

WASHER

SN: 14001-UP

36шт.

5

01643-31645

WASHER,(FOR EDGE 13MM, 16MM)

SN: 14001-UP

24шт.

6

232-70-52190

BIT

SN: 14001-UP

2шт.

6

232-70-52980

EDGE,WIDE

SN: 14001-UP

2шт.

7

232-70-52180

EDGE

SN: 14001-UP

2шт.

8

232-70-12460

BOLT

SN: 14001-UP

10шт.

9

232-70-12470

BOLT

SN: 14001-UP

2шт.

10

232-70-52161

COVER

SN: 14001-UP

1шт.

11

01010-51020

BOLT

SN: 14001-UP

3шт.

12

01602-21030

WASHER

SN: 14001-UP

3шт.

13

232-70-52421

COVER

SN: 14001-UP

1шт.

14

232-70-52431

BAND

SN: 14001-UP

3шт.

15

01598-00809

NUT

SN: 14001-UP

6шт.

16

01643-30823

WASHER

SN: 14001-UP

6шт.

17

232-70-52141

COVER

SN: 14001-UP

1шт.

18

234-70-12331

PLATE

SN: 14001-UP

5шт.

19

01010-51230

BOLT

SN: 14001-UP

5шт.

20

01602-21236

WASHER

SN: 14001-UP

5шт.

21

01010-51640

BOLT

SN: 14001-UP

4шт.

22

01643-31645

WASHER

SN: 14001-UP

4шт.

23

07040-01510

PLUG

SN: 14001-UP

8шт.

|$$38

FOR 4.0M BLADE

-1шт.

1

232-70-00600

BLADE ASS'Y

SN: 14001-UP

1шт.

1

232-70-52711

BLADE

SN: 14001-UP

1шт.

1

232-70-52840

RAIL,LOWER

SN: 14001-UP

1шт.

1

232-70-52830

RAIL,UPPER

SN: 14001-UP

1шт.

2

232-70-12143

EDGE

SN: 14001-UP

1шт.

2

234-70-12193

EDGE,WIDE

SN: 14001-UP

1шт.

2

232-70-52940

EDGE, 16MM,WIDE, CURVED (HARDENING)

SN: 14001-UP

1шт.

2

234-70-12640

EDGE, 16MM,WIDE, CURVED (HARDENING)

SN: 14001-UP

1шт.

2

234-70-12570

EDGE, 19MM,WIDE, CURVED (HARDENING)

SN: 14001-UP

1шт.

2

232-70-52950

EDGE, 19MM,WIDE, CURVED (HARDENING)

SN: 14001-UP

1шт.

2

234-70-12580

EDGE, 16MM,WIDE, CURVED (NON HARDENING)

SN: 14001-UP

1шт.

2

232-70-12651

EDGE, 16MM,WIDE, CURVED (NON HARDENING)

SN: 14001-UP

1шт.

2

234-70-12630

EDGE, 19MM,WIDE, CURVED (NON HARDENING)

SN: 14001-UP

1шт.

2

232-70-52960

EDGE, 19MM,WIDE, CURVED (NON HARDENING)

SN: 14001-UP

1шт.

2

234-70-12540

EDGE, 16MM,WIDE, CURVED

SN: 14001-UP

1шт.

2

232-70-52970

EDGE, 16MM,WIDE, CURVED

SN: 14001-UP

1шт.

3

232-70-12450

BOLT

SN: 14001-UP

26шт.

3

232-70-12450

BOLT,(FOR EDGE 16MM)

SN: 14001-UP

13шт.

4

232-70-12480

NUT

SN: 14001-UP

38шт.

4

232-70-12480

NUT,(FOR EDGE 16MM)

SN: 14001-UP

25шт.

5

01643-31645

WASHER

SN: 14001-UP

38шт.

5

01643-31645

WASHER,(FOR EDGE 16MM)

SN: 14001-UP

25шт.

6

232-70-52190

BIT

SN: 14001-UP

2шт.

6

232-70-52980

EDGE,WIDE

SN: 14001-UP

2шт.

7

232-70-52180

EDGE

SN: 14001-UP

2шт.

8

232-70-12460

BOLT

SN: 14001-UP

10шт.

9

232-70-12470

BOLT

SN: 14001-UP

2шт.

10

232-70-52161

COVER

SN: 14001-UP

1шт.

11

01010-51020

BOLT

SN: 14001-UP

3шт.

12

01602-21030

WASHER

SN: 14001-UP

3шт.

13

232-70-52421

COVER

SN: 14001-UP

1шт.

14

232-70-52431

BAND

SN: 14001-UP

3шт.

15

01598-00809

NUT

SN: 14001-UP

6шт.

16

01643-30823

WASHER

SN: 14001-UP

6шт.

17

232-70-52730

COVER

SN: 14001-UP

1шт.

18

234-70-12331

PLATE

SN: 14001-UP

5шт.

19

01010-51230

BOLT

SN: 14001-UP

5шт.

20

01602-21236

WASHER

SN: 14001-UP

5шт.

21

01010-51640

BOLT

SN: 14001-UP

4шт.

22

01643-31645

WASHER

SN: 14001-UP

4шт.

23

07040-01510

PLUG

SN: 14001-UP

8шт.

24

232-70-52312

SUPPORT

SN: 14009-UP

1шт.

24

0

SUPPORT

SN: 14001-14008

1шт.

25

232-70-52341

ADJUSTER

SN: 14001-UP

1шт.

26

232-70-52331

ADJUSTER

SN: 14001-UP

1шт.

27

234-70-12151

BLOCK

SN: 14001-UP

2шт.

28

234-870-6220

BOLT

SN: 14001-UP

2шт.

29

01580-13024

NUT

SN: 14001-UP

4шт.

30

232-70-52260

GUIDE

SN: 14001-UP

2шт.

31

232-70-52270

GUIDE

SN: 14001-UP

2шт.

32

01010-51435

BOLT

SN: 14001-UP

4шт.

33

01602-21442

WASHER

SN: 14001-UP

4шт.

34

01590-14548

NUT

SN: 14001-UP

2шт.

35

04050-18080

PIN

SN: 14001-UP

2шт.

36

232-70-52380

WASHER

SN: 14001-UP

2шт.

37

232-70-52131

BRACKET

SN: 14001-UP

1шт.

38

232-70-52460

WASHER

SN: 14001-UP

1шт.

39

01010-51225

BOLT

SN: 14001-UP

1шт.

40

01602-21236

WASHER

SN: 14001-UP

1шт.

|$97

232-70-00252

YOKE ASS'Y

SN: 14001-UP

1шт.

41

0

YOKE

SN: 14001-UP

1шт.

42

0

CAP

SN: 14001-UP

2шт.

43

232-70-53141

BUSHING

SN: 14001-UP

2шт.

44

07145-00075

SEAL

SN: 14001-UP

1шт.

45

07145-00060

SEAL (KIT)

SN: 14001-UP

1шт.

46

144-70-15251

PIN

SN: 14001-UP

2шт.

47

07145-00045

SEAL (KIT)

SN: 14001-UP

2шт.

48

07043-00108

PLUG

SN: 14001-UP

2шт.

49

01010-51255

BOLT

SN: 14001-UP

4шт.

50

01602-21236

WASHER

SN: 14001-UP

4шт.

51

232-70-52440

BOLT

SN: 14001-UP

1шт.

Выбрано товаров: 109