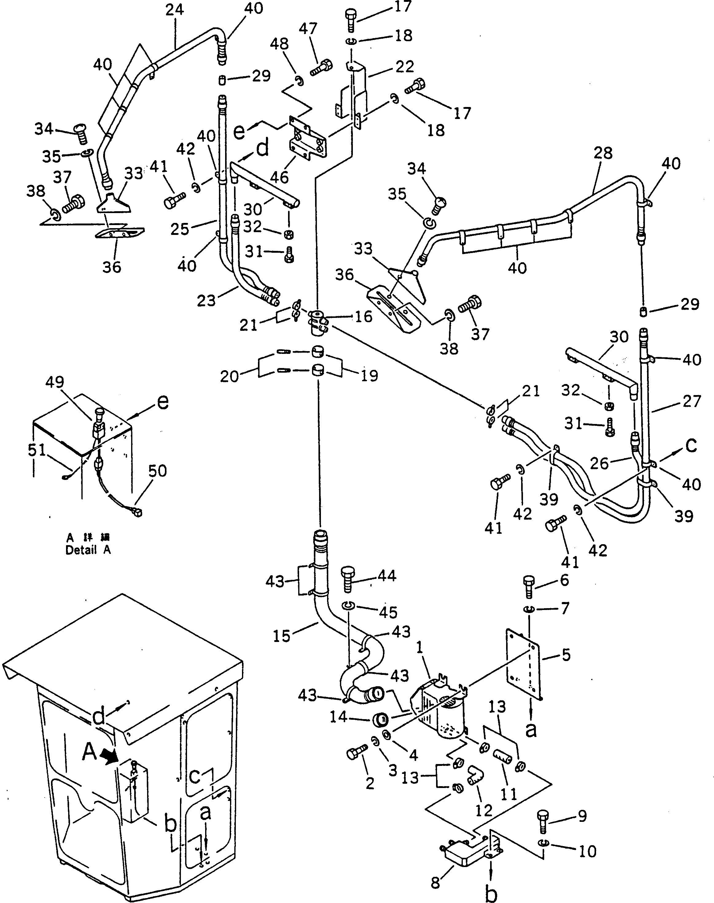
Запчасти Komatsu GD600R-3 ОБОГРЕВАТЕЛЬ. ТРУБЫ ОПЦИОННЫЕ КОМПОНЕНТЫ

Схема запчастей Komatsu GD600R-3 - ОБОГРЕВАТЕЛЬ. ТРУБЫ ОПЦИОННЫЕ КОМПОНЕНТЫ
FIT
1:1
100%

Артикул

Название

Примечание

Количество

1

237-807-4110

HEATER

SN: 14001-UP

1шт.

2

01010-51025

BOLT

SN: 14001-UP

4шт.

3

01602-21030

WASHER

SN: 14001-UP

4шт.

4

01643-31032

WASHER

SN: 14001-UP

4шт.

5

233-807-4130

BRACKET

SN: 14001-UP

1шт.

6

01010-51025

BOLT

SN: 14001-UP

2шт.

7

01602-21030

WASHER

SN: 14001-UP

2шт.

8

233-807-4240

JOINT

SN: 14001-UP

1шт.

9

01010-51025

BOLT

SN: 14001-UP

2шт.

10

01602-21030

WASHER

SN: 14001-UP

2шт.

11

233-807-4250

HOSE

SN: 14001-UP

1шт.

12

09483-20450

HOSE

SN: 14001-UP

1шт.

13

07281-00289

CLAMP

SN: 14001-UP

4шт.

14

237-807-4240

CAP

SN: 14001-UP

1шт.

15

09485-06505

HOSE

SN: 14001-UP

1шт.

16

237-807-4251

JOINT

SN: 14001-UP

1шт.

17

01010-51015

BOLT

SN: 14001-UP

5шт.

18

01602-21030

WASHER

SN: 14001-UP

5шт.

19

232-807-4261

PIPE

SN: 14001-UP

2шт.

20

237-807-4270

BAR

SN: 14001-UP

2шт.

21

08034-00536

BAND

SN: 14001-UP

4шт.

22

237-807-4220

COVER

SN: 14001-UP

1шт.

23

232-817-2330

HOSE

SN: 14001-UP

1шт.

24

09485-03720

HOSE

SN: 14001-UP

1шт.

25

09485-03707

HOSE

SN: 14001-UP

1шт.

26

232-817-2320

HOSE

SN: 14001-UP

1шт.

27

09485-03715

HOSE

SN: 14001-UP

1шт.

28

09485-03720

HOSE

SN: 14001-UP

1шт.

29

232-807-1361

JOINT

SN: 14001-UP

2шт.

30

237-807-3221

PIPE

SN: 14001-UP

2шт.

31

01010-50820

BOLT

SN: 14001-UP

4шт.

32

01580-10806

NUT

SN: 14001-UP

4шт.

33

09486-10000

NOZZLE

SN: 14001-UP

2шт.

34

01220-40512

SCREW

SN: 14001-UP

4шт.

35

01601-20513

WASHER

SN: 14001-UP

4шт.

36

238-807-1230

BRACKET

SN: 14001-UP

2шт.

37

01010-50816

BOLT

SN: 14001-UP

4шт.

38

01602-20825

WASHER

SN: 14001-UP

4шт.

39

230-807-1680

CLIP

SN: 14001-UP

2шт.

40

232-807-1551

CLIP

SN: 14001-UP

14шт.

41

01010-50816

BOLT

SN: 14001-UP

16шт.

42

01602-20825

WASHER

SN: 14001-UP

16шт.

43

232-809-4850

CLIP

SN: 14001-UP

5шт.

44

01010-51012

BOLT

SN: 14001-UP

5шт.

45

01602-21030

WASHER

SN: 14001-UP

5шт.

46

233-807-4160

BRACKET

SN: 14001-UP

1шт.

47

01010-51020

BOLT

SN: 14001-UP

4шт.

48

01602-21030

WASHER

SN: 14001-UP

4шт.

49

237-807-4120

SWITCH

SN: 14001-UP

1шт.

50

233-807-4111

HARNESS

SN: 14001-UP

1шт.

51

236-855-1330

CABLE

SN: 14001-UP

1шт.

Выбрано товаров: 51