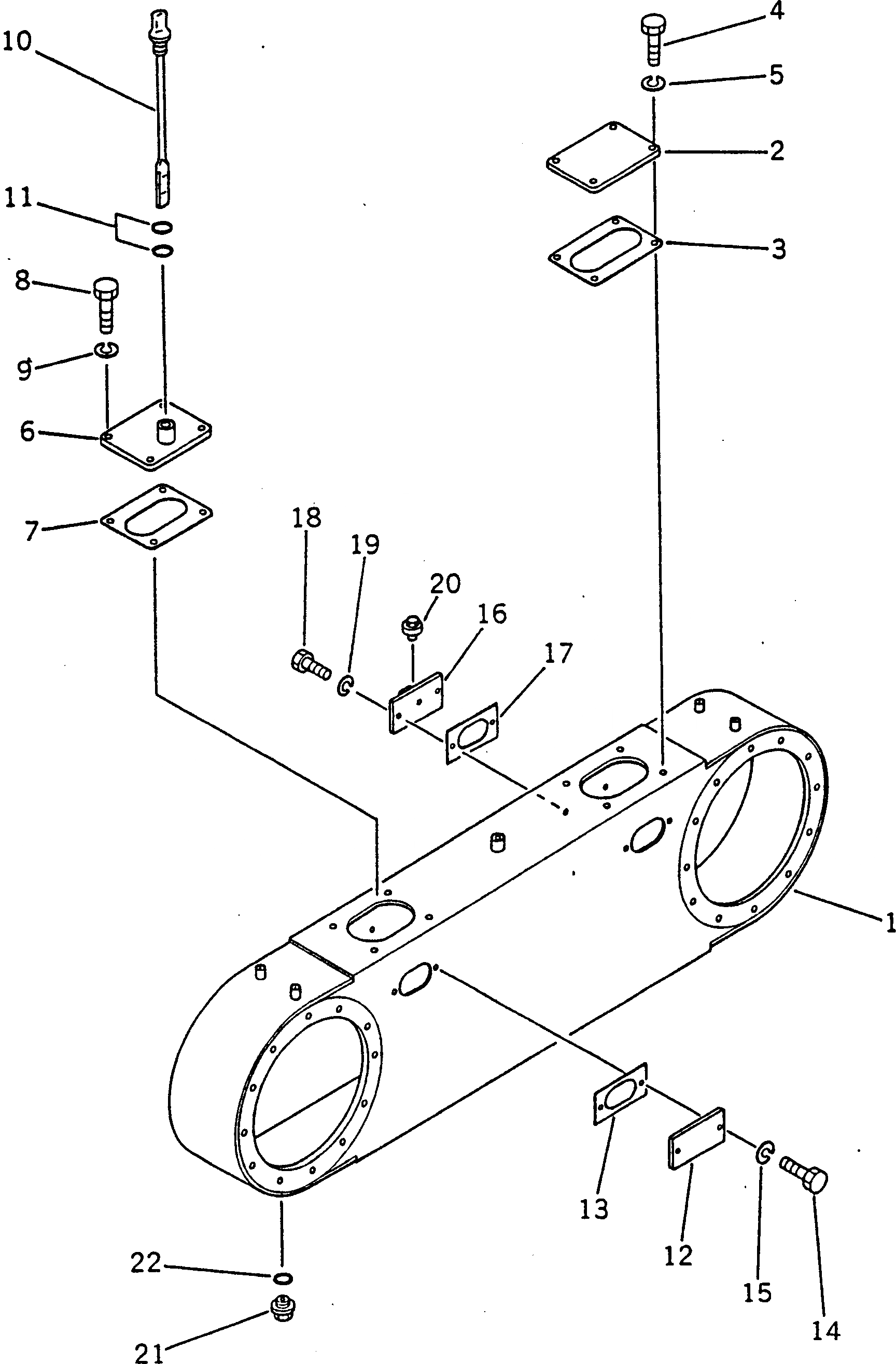
Запчасти Komatsu GD600R-3 КОРПУС СДВОЕННОГО ПРИВОДА СДВОЕНН. ПРИВОД И КОЛЕСА

Схема запчастей Komatsu GD600R-3 - КОРПУС СДВОЕННОГО ПРИВОДА СДВОЕНН. ПРИВОД И КОЛЕСА
FIT
1:1
100%

Артикул

Название

Примечание

Количество

|$0

232-23-00500

TANDEM DRIVE ASS'Y,L.H.

SN: 14001-UP

1шт.

|$1

232-23-00600

TANDEM DRIVE ASS'Y,R.H.

SN: 14001-UP

1шт.

1

232-23-51313

CASE

SN: 14001-UP

1шт.

2

237-23-11141

COVER

SN: 14001-UP

1шт.

3

237-23-11151

GASKET (KIT)

SN: 14001-UP

1шт.

4

01010-51230

BOLT

SN: 14001-UP

4шт.

5

01602-21236

WASHER

SN: 14001-UP

4шт.

6

238-23-11150

COVER

SN: 14001-UP

1шт.

7

237-23-11151

GASKET (KIT)

SN: 14001-UP

1шт.

8

01010-51230

BOLT

SN: 14001-UP

4шт.

9

01602-21236

WASHER

SN: 14001-UP

4шт.

10

232-23-51390

GAUGE

SN: 14001-UP

1шт.

11

07002-12434

O-RING (KIT)

SN: 14001-UP

2шт.

12

238-23-11130

COVER

SN: 14001-UP

3шт.

13

238-23-11120

GASKET (KIT)

SN: 14001-UP

3шт.

14

01010-51230

BOLT

SN: 14001-UP

6шт.

15

01602-21236

WASHER

SN: 14001-UP

6шт.

16

238-23-11140

COVER

SN: 14001-UP

1шт.

17

238-23-11120

GASKET (KIT)

SN: 14001-UP

1шт.

18

01010-51230

BOLT

SN: 14001-UP

2шт.

19

01602-21236

WASHER

SN: 14001-UP

2шт.

20

07030-00252

BREATHER

SN: 14001-UP

1шт.

21

07044-12412

PLUG

SN: 14001-UP

1шт.

22

07002-12434

O-RING (KIT)

SN: 14001-UP

1шт.

Выбрано товаров: 24