Запчасти Komatsu GD600R-3 ПЕДАЛЬ ТОРМОЗА СДВОЕНН. ПРИВОД И КОЛЕСА

Схема запчастей Komatsu GD600R-3 - ПЕДАЛЬ ТОРМОЗА СДВОЕНН. ПРИВОД И КОЛЕСА
FIT
1:1
100%

Артикул

Название

Примечание

Количество

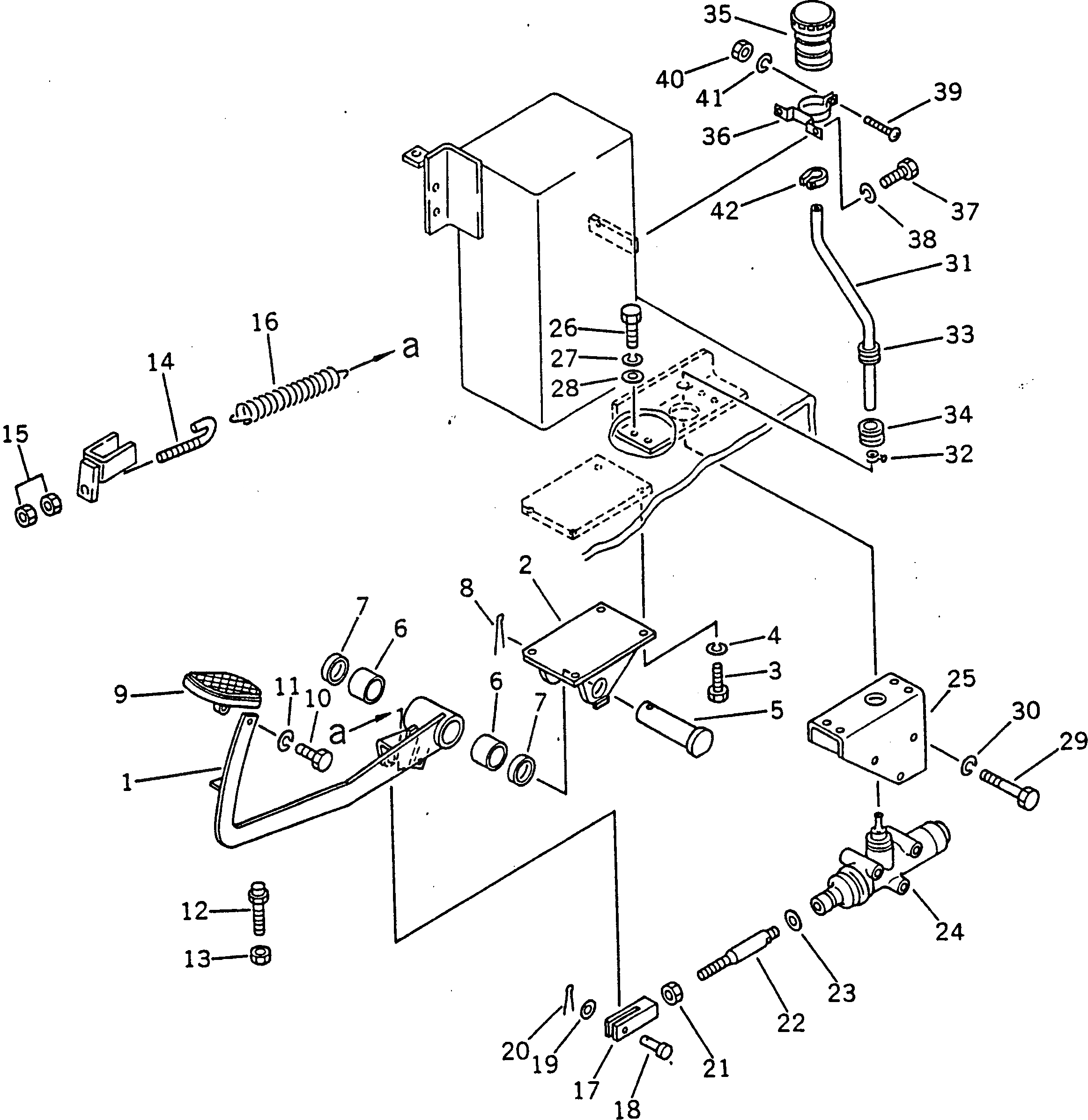
1

238-43-13110

LEVER

SN: 14001-UP

1шт.

2

238-43-13150

BRACKET

SN: 14001-UP

1шт.

3

01010-51025

BOLT

SN: 14001-UP

4шт.

4

01602-21030

WASHER

SN: 14001-UP

4шт.

5

238-43-13120

PIN

SN: 14001-UP

1шт.

6

07177-03525

BUSHING

SN: 14001-UP

2шт.

7

232-43-53390

SEAL

SN: 14001-UP

2шт.

8

04050-16050

PIN

SN: 14001-UP

1шт.

9

232-43-13130

PEDAL

SN: 14001-UP

1шт.

10

01010-51040

BOLT

SN: 14001-UP

1шт.

11

01602-21030

WASHER

SN: 14001-UP

1шт.

12

09311-31237

BUMPER

SN: 14001-UP

1шт.

13

01580-11210

NUT

SN: 14001-UP

1шт.

14

232-43-53160

BOLT

SN: 14001-UP

1шт.

15

01580-11008

NUT

SN: 14001-UP

2шт.

16

232-43-13162

SPRING

SN: 14001-UP

1шт.

17

04211-21478

YOKE

SN: 14001-UP

1шт.

18

04205-11440

PIN

SN: 14001-UP

1шт.

19

01641-21423

WASHER

SN: 14001-UP

1шт.

20

04050-14022

PIN

SN: 14001-UP

1шт.

21

01582-11411

NUT

SN: 14001-UP

1шт.

22

238-43-13130

ROD

SN: 14001-UP

1шт.

23

01650-21412

WASHER

SN: 14001-UP

1шт.

24

232-43-13102

MASTER CYLINDER A.,(SEE FIG.352)

SN: 14001-UP

1шт.

25

238-43-13220

BRACKET

SN: 14001-UP

1шт.

26

01010-51030

BOLT

SN: 14001-UP

4шт.

27

01602-21030

WASHER

SN: 14001-UP

4шт.

28

01640-21016

WASHER

SN: 14001-UP

4шт.

29

01010-51095

BOLT

SN: 14001-UP

3шт.

30

01602-21030

WASHER

SN: 14001-UP

3шт.

31

238-43-13270

TUBE

SN: 14001-UP

1шт.

32

232-43-13450

CLAMP

SN: 14001-UP

1шт.

33

08037-01610

GROMMET

SN: 14001-UP

1шт.

34

08037-02512

GROMMET

SN: 14001-UP

1шт.

35

232-43-13601

RESERVOIR ASS'Y

SN: 14001-UP

1шт.

36

232-43-13440

BRACKET

SN: 14001-UP

1шт.

37

01010-50812

BOLT

SN: 14001-UP

2шт.

38

01602-20825

WASHER

SN: 14001-UP

2шт.

39

01220-40530

SCREW

SN: 14001-UP

1шт.

40

01580-10504

NUT

SN: 14001-UP

1шт.

41

01601-20513

WASHER

SN: 14001-UP

1шт.

42

236-04-21190

CLIP

SN: 14001-UP

1шт.

Выбрано товаров: 42