Запчасти Komatsu GD600R-3 РАМА РАМА И ЧАСТИ КОРПУСА

Схема запчастей Komatsu GD600R-3 - РАМА РАМА И ЧАСТИ КОРПУСА
FIT
1:1
100%

Артикул

Название

Примечание

Количество

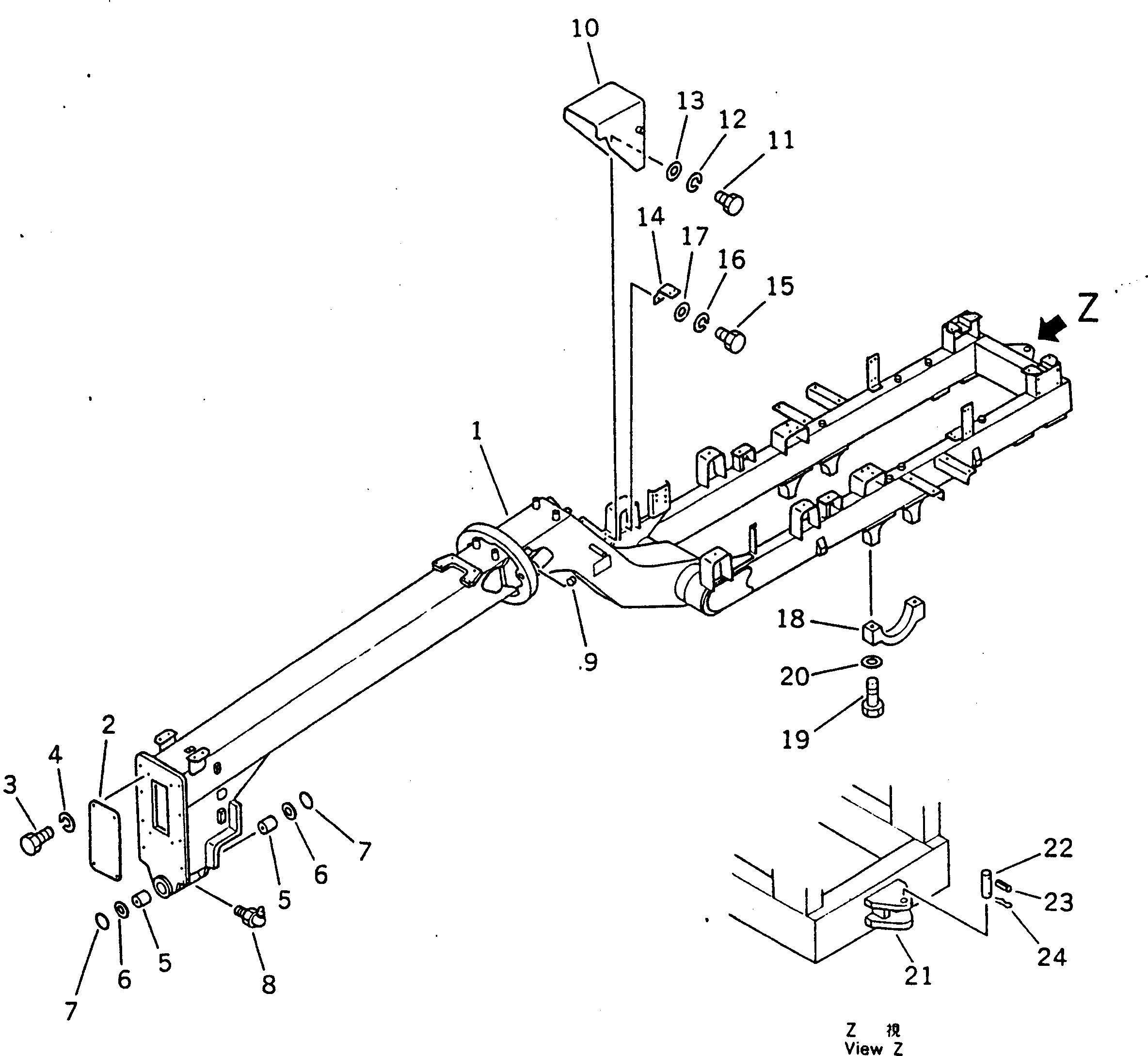
1

232-46-61101

FRAME

SN: 14001-UP

1шт.

2

232-46-51350

PLATE

SN: 14001-UP

1шт.

3

01010-51220

BOLT

SN: 14001-UP

4шт.

4

01602-21236

WASHER

SN: 14001-UP

4шт.

5

232-46-52760

BUSHING

SN: 14001-UP

2шт.

6

234-46-11340

BUSHING

SN: 14001-UP

2шт.

7

07000-15090

O-RING

SN: 14001-UP

2шт.

8

07020-00675

FITTING

SN: 14001-UP

2шт.

9

07143-10503

BUSHING

SN: 14001-UP

1шт.

10

232-46-52740

COVER

SN: 14001-UP

1шт.

11

01010-51020

BOLT

SN: 14001-UP

4шт.

12

01602-21030

WASHER

SN: 14001-UP

4шт.

13

01640-21016

WASHER

SN: 14001-UP

4шт.

14

232-46-52640

PLATE

SN: 14001-UP

1шт.

15

01010-51035

BOLT

SN: 14001-UP

2шт.

16

01602-21030

WASHER

SN: 14001-UP

2шт.

17

01641-21016

WASHER

SN: 14001-UP

2шт.

18

232-46-52530

CAP

SN: 14001-UP

2шт.

19

01011-83060

BOLT

SN: 14001-UP

4шт.

20

01643-33080

WASHER

SN: 14001-UP

4шт.

21

237-46-12460

DRAWBAR (WELDED)

SN: 14001-UP

1шт.

22

232-46-11711

PIN

SN: 14001-UP

1шт.

23

04025-01065

PIN

SN: 14001-UP

1шт.

24

232-46-11920

PIN

SN: 14001-UP

1шт.

Выбрано товаров: 0