Запчасти Komatsu GD600R-3 SCARIFIER ПОДЪЕМ РАБОЧЕЕ ОБОРУДОВАНИЕ

Схема запчастей Komatsu GD600R-3 - SCARIFIER ПОДЪЕМ РАБОЧЕЕ ОБОРУДОВАНИЕ
FIT
1:1
100%

Артикул

Название

Примечание

Количество

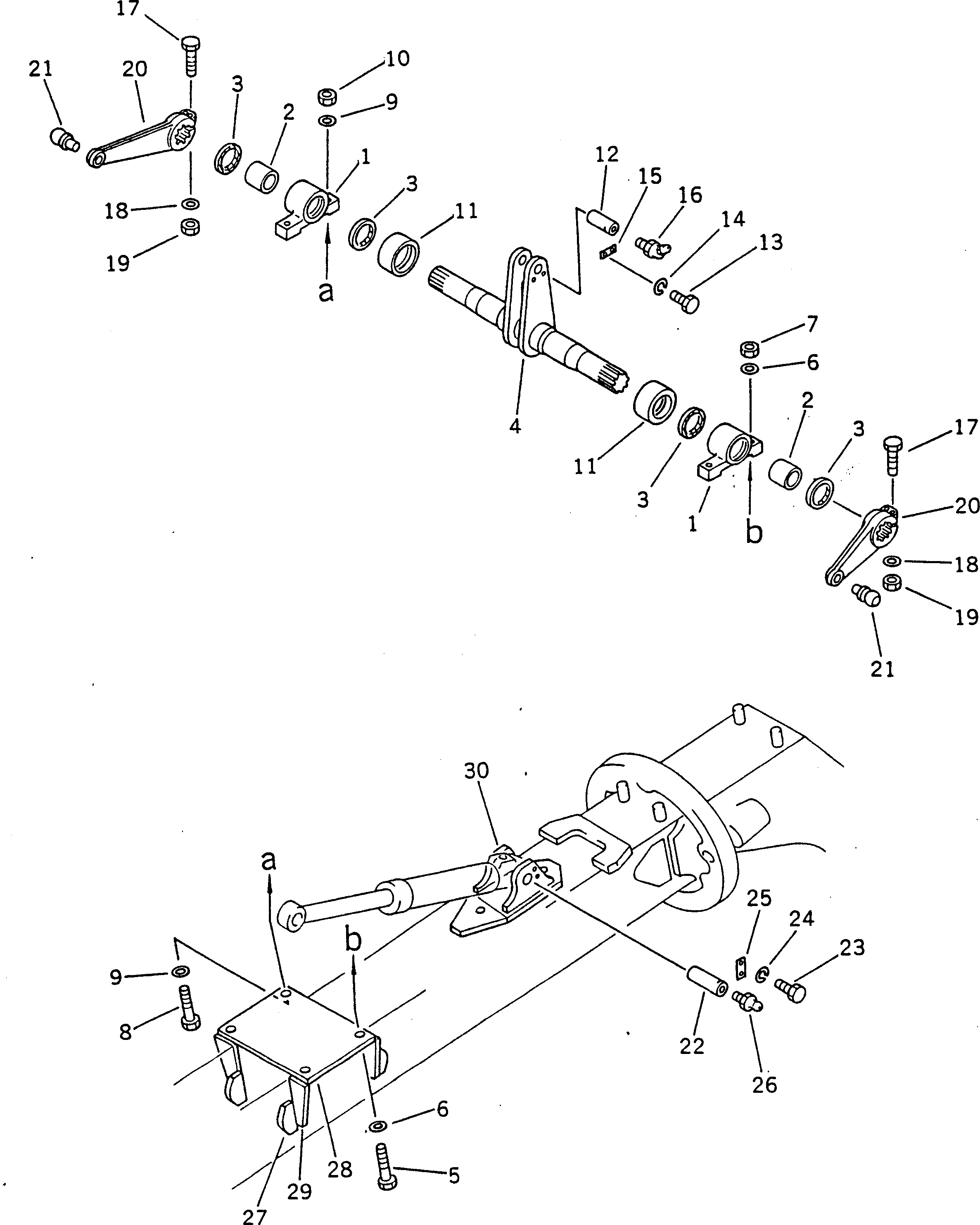
|1

232-71-00510

LIFTER ASS'Y

SN: 14001-UP

1шт.

|1

232-71-00431

SUPPORT ASS'Y

SN: 14001-UP

1шт.

1

232-71-52121

SUPPORT

SN: 14001-UP

2шт.

2

232-71-52180

BUSHING

SN: 14001-UP

2шт.

3

07145-00090

SEAL

SN: 14001-UP

4шт.

4

232-71-51350

SHAFT

SN: 14001-UP

1шт.

5

01091-52005

BOLT

SN: 14001-UP

2шт.

6

01643-32060

WASHER

SN: 14001-UP

4шт.

7

01582-12016

NUT

SN: 14001-UP

2шт.

8

01011-52005

BOLT

SN: 14001-UP

2шт.

9

01643-32060

WASHER

SN: 14001-UP

4шт.

10

01580-12016

NUT

SN: 14001-UP

2шт.

11

232-71-52151

COLLAR

SN: 14001-UP

2шт.

12

232-71-16370

PIN

SN: 14001-UP

1шт.

13

01010-51225

BOLT

SN: 14001-UP

2шт.

14

01602-21236

WASHER

SN: 14001-UP

2шт.

15

04082-00212

LOCK

SN: 14001-UP

1шт.

16

07020-00675

FITTING

SN: 14001-UP

1шт.

17

01011-51610

BOLT

SN: 14001-UP

4шт.

18

01643-31645

WASHER

SN: 14001-UP

4шт.

19

01580-11613

NUT

SN: 14001-UP

4шт.

20

232-71-52210

ARM

SN: 14001-UP

2шт.

21

232-70-13120

STUD

SN: 14001-UP

1шт.

22

232-71-16370

PIN

SN: 14001-UP

1шт.

23

01010-51225

BOLT

SN: 14001-UP

2шт.

24

01602-21236

WASHER

SN: 14001-UP

2шт.

25

04082-00212

LOCK

SN: 14001-UP

1шт.

26

07020-00000

FITTING

SN: 14001-UP

1шт.

27

232-71-51270

PLATE (WELDED)

SN: 14001-UP

4шт.

28

232-71-51240

BRACKET (WELDED)

SN: 14001-UP

1шт.

29

232-71-51250

BRACKET (WELDED)

SN: 14001-UP

4шт.

30

232-71-51260

BRACKET (WELDED)

SN: 14001-UP

1шт.

Выбрано товаров: 32