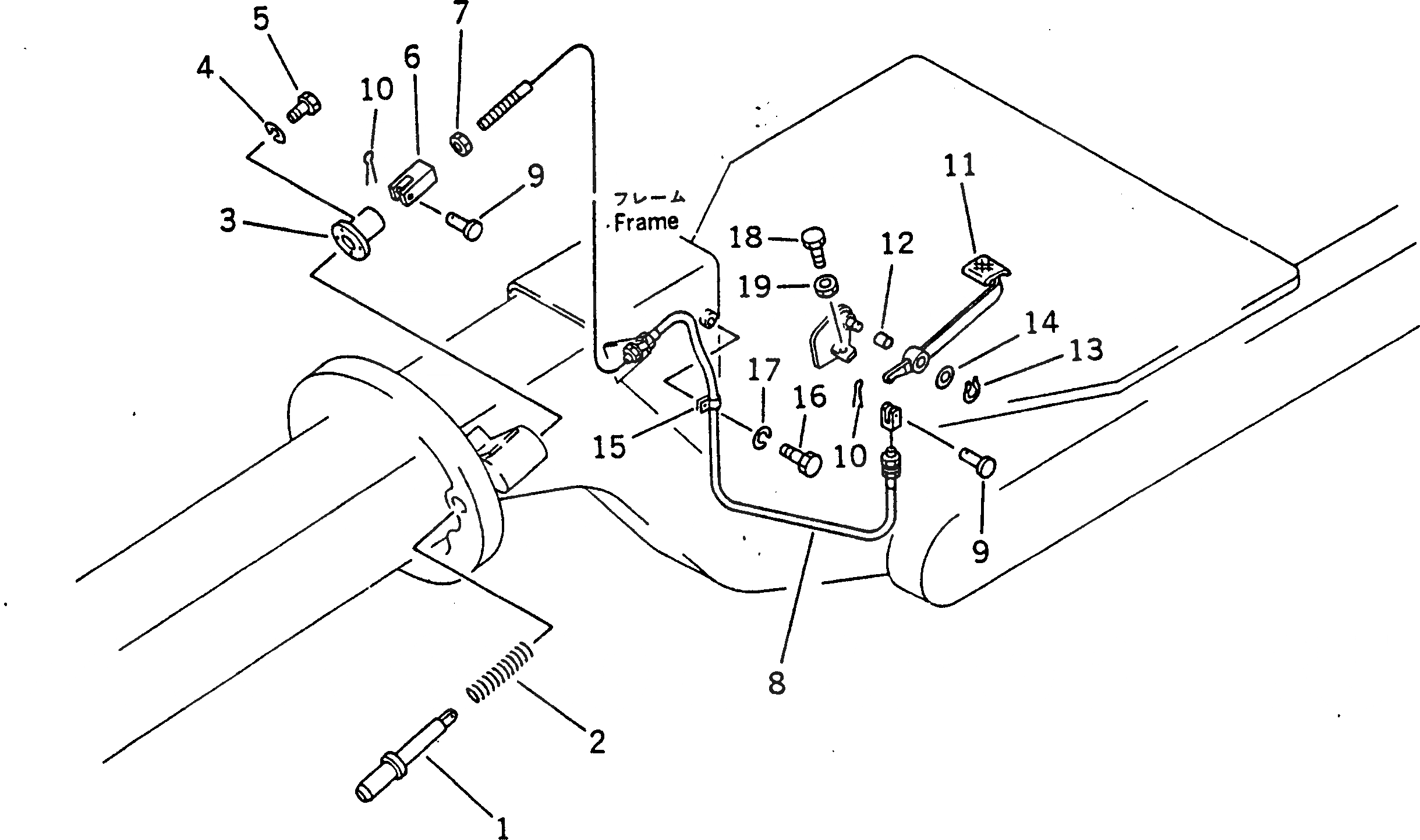
Запчасти Komatsu GD600R-3 УПРАВЛ-Е ВЫРАВН. НАСЫПИ РАБОЧЕЕ ОБОРУДОВАНИЕ

Схема запчастей Komatsu GD600R-3 - УПРАВЛ-Е ВЫРАВН. НАСЫПИ РАБОЧЕЕ ОБОРУДОВАНИЕ
FIT
1:1
100%

Артикул

Название

Примечание

Количество

1

232-43-59110

SHAFT

SN: 14001-UP

1шт.

2

232-43-17221

SPRING

SN: 14001-UP

1шт.

3

233-43-17230

SEAT

SN: 14001-UP

1шт.

4

01010-50820

BOLT

SN: 14001-UP

4шт.

5

01602-20825

WASHER

SN: 14001-UP

4шт.

6

04211-20844

YOKE

SN: 14001-UP

1шт.

7

01580-10806

NUT

SN: 14001-UP

1шт.

8

238-43-19130

CABLE

SN: 14001-UP

1шт.

9

04205-10825

PIN

SN: 14001-UP

2шт.

10

04050-12012

PIN

SN: 14001-UP

2шт.

11

238-43-19110

PEDAL

SN: 14001-UP

1шт.

12

234-885-1620

BUSHING

SN: 14001-UP

1шт.

13

04064-02012

RING

SN: 14001-UP

1шт.

14

232-975-5490

SPACER

SN: 14001-UP

1шт.

15

08036-11214

CLIP

SN: 14001-UP

1шт.

16

01010-51016

BOLT

SN: 14001-UP

1шт.

17

01602-21030

WASHER

SN: 14001-UP

1шт.

18

01010-51030

BOLT

SN: 14001-UP

1шт.

19

01580-11008

NUT

SN: 14001-UP

1шт.

Выбрано товаров: 19