Запчасти Komatsu GD600R-3 SHOCK EVASION ОТВАЛ (/) ОПЦИОННЫЕ КОМПОНЕНТЫ

Схема запчастей Komatsu GD600R-3 - SHOCK EVASION ОТВАЛ (/) ОПЦИОННЫЕ КОМПОНЕНТЫ
FIT
1:1
100%

Артикул

Название

Примечание

Количество

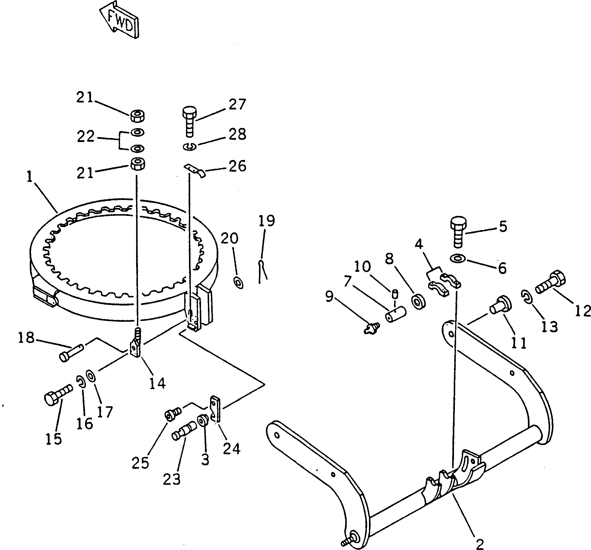
1

237-735-4110

SUPPORT

SN: 14001-UP

1шт.

2

232-735-4120

ARM

SN: 14001-UP

1шт.

3

232-735-4170

BUSHING

SN: 14001-UP

2шт.

4

234-70-33330

CAP

SN: 14001-UP

2шт.

5

01010-51680

BOLT

SN: 14001-UP

4шт.

6

01643-31645

WASHER

SN: 14001-UP

4шт.

7

234-70-33340

BUSHING

SN: 14001-UP

2шт.

8

07145-00075

SEAL

SN: 14001-UP

2шт.

9

07020-00900

FITTING

SN: 14001-UP

2шт.

10

144-70-15251

PIN

SN: 14001-UP

2шт.

11

232-735-4130

SHAFT

SN: 14001-UP

2шт.

12

01010-51230

BOLT

SN: 14001-UP

4шт.

13

01602-21236

WASHER

SN: 14001-UP

4шт.

14

232-735-4150

BLOCK

SN: 14001-UP

2шт.

15

01010-51650

BOLT

SN: 14001-UP

4шт.

16

01602-21648

WASHER

SN: 14001-UP

4шт.

17

01640-21626

WASHER

SN: 14001-UP

4шт.

18

232-735-4160

PIN

SN: 14001-UP

1шт.

19

04050-15050

PIN

SN: 14001-UP

1шт.

20

01640-23045

WASHER

SN: 14001-UP

1шт.

21

01580-13024

NUT

SN: 14001-UP

4шт.

22

01643-33080

WASHER

SN: 14001-UP

4шт.

23

232-735-4210

PIN,4TON

SN: 14001-UP

1шт.

|23

232-735-4220

PIN,5TON

SN: 14001-UP

1шт.

|23

232-735-4230

PIN,6TON

SN: 14001-UP

1шт.

24

234-991-7320

PLATE

SN: 14001-UP

1шт.

25

234-991-7350

PIN

SN: 14001-UP

1шт.

26

234-991-7310

SPRING

SN: 14001-UP

1шт.

27

01010-50820

BOLT

SN: 14001-UP

2шт.

28

01602-20825

WASHER

SN: 14001-UP

2шт.

Выбрано товаров: 30