Запчасти Komatsu GD600R-3 КОРПУС ТРАНСМИССИИ И КРЕПЛЕНИЕ СИЛОВАЯ ПЕРЕДАЧА

Схема запчастей Komatsu GD600R-3 - КОРПУС ТРАНСМИССИИ И КРЕПЛЕНИЕ СИЛОВАЯ ПЕРЕДАЧА
FIT
1:1
100%

Артикул

Название

Примечание

Количество

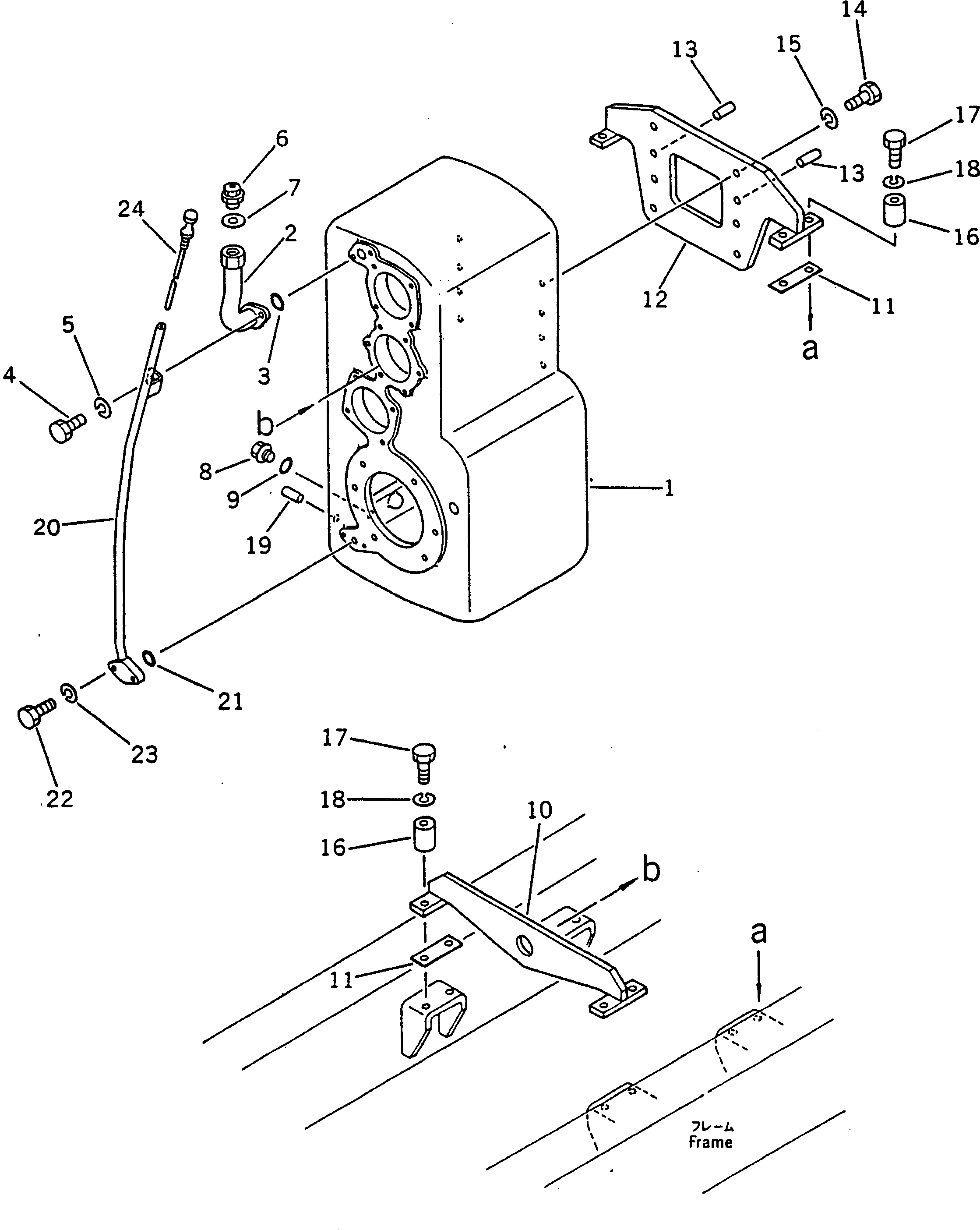
|1

232-14-00403

TRANSMISSION ASS'Y

SN: 14001-UP

1шт.

1

232-14-61111

CASE

SN: 14001-UP

1шт.

2

232-14-61251

PIPE

SN: 14001-UP

1шт.

3

07000-13045

O-RING (KIT)

SN: 14001-UP

1шт.

4

01010-51235

BOLT

SN: 14001-UP

2шт.

5

01602-21236

WASHER

SN: 14001-UP

2шт.

6

232-23-11220

BREATHER

SN: 14001-UP

1шт.

7

07003-13036

GASKET (KIT)

SN: 14001-UP

1шт.

8

07044-12412

PLUG

SN: 14001-UP

1шт.

9

07802-12434

O-RING (KIT)

SN: 14001-UP

1шт.

10

232-14-61260

SUPPORT

SN: 14001-UP

1шт.

11

232-14-00410

SHIM ASS'Y

SN: 14001-UP

4шт.

|11

232-14-61290

SHIM¤ 0.2MM

SN: 14001-UP

2шт.

|11

232-14-61280

SHIM¤ 0.5MM

SN: 14001-UP

2шт.

|11

232-14-61270

SHIM¤ 1.0MM

SN: 14001-UP

2шт.

12

232-14-61320

SUPPORT

SN: 14001-UP

1шт.

13

04020-01842

PIN

SN: 14001-UP

2шт.

14

01010-51490

BOLT

SN: 14001-UP

6шт.

15

01602-21442

WASHER

SN: 14001-UP

6шт.

16

232-14-61310

SPACER

SN: 14001-UP

8шт.

17

01011-51600

BOLT

SN: 14001-UP

8шт.

18

01602-21648

WASHER

SN: 14001-UP

8шт.

19

04020-01228

PIN

SN: 14001-UP

4шт.

20

232-14-61330

TUBE

SN: 14001-UP

1шт.

21

07000-12018

O-RING

SN: 14001-UP

1шт.

22

01010-51040

BOLT

SN: 14001-UP

2шт.

23

01602-21030

WASHER

SN: 14001-UP

2шт.

24

238-14-11260

GAUGE

SN: 14001-UP

1шт.

Выбрано товаров: 28